TOP
|
特許
|
意匠
|
商標
特許ウォッチ
Twitter
他の特許を見る
10個以上の画像は省略されています。
公開番号
2025169544
公報種別
公開特許公報(A)
公開日
2025-11-14
出願番号
2024074326
出願日
2024-05-01
発明の名称
半導体装置、半導体装置の製造方法及び電子装置
出願人
富士通株式会社
代理人
弁理士法人扶桑国際特許事務所
主分類
H10D
30/47 20250101AFI20251107BHJP()
要約
【課題】高性能の半導体装置を実現する。
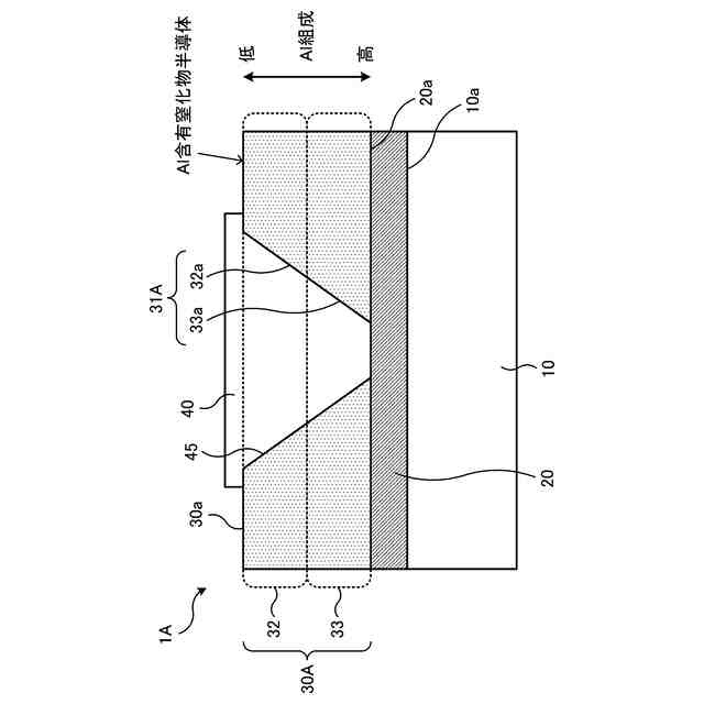
【解決手段】半導体装置1Aは、基板10と、その面10a側に設けられるバリア層30Aとを含む。バリア層30Aは、ゲート電極40が設けられる開口部31Aを有する。バリア層30Aには、基板10側から面30a側に向かってAl組成が減少するAl含有窒化物半導体が用いられる。バリア層30Aは、第1濃度のAlを含有する第1層32と、基板10と第1層32との間に設けられ、第1層32よりも高い第2濃度のAlを含有する第2層33とを含むと言える。第1層32は、バリア層30Aの開口部31Aの一部となる第1開口部32aを有する。第2層33は、第1開口部32aに通じ且つそれよりも開口幅が小さく、バリア層30Aの開口部31Aの一部となる第2開口部33aを有する。開口部31Aに、電界集中を抑えるスラント構造のゲート電極40が設けられる。
【選択図】図2
特許請求の範囲
【請求項1】
基板と、
前記基板の第1面側に設けられ、第1濃度の第1元素を含有し、第1開口部を有する第1層と、
前記基板の前記第1面と前記第1層との間に設けられ、前記第1濃度とは異なる第2濃度の前記第1元素を含有し、前記第1層の前記第1開口部に通じ且つ前記第1開口部よりも開口幅の小さい第2開口部を有する第2層と、
を含む、半導体装置。
続きを表示(約 1,100 文字)
【請求項2】
前記第1層及び前記第2層は、アモルファスである、請求項1に記載の半導体装置。
【請求項3】
前記第1層及び前記第2層はそれぞれ、前記第1元素を含有し、前記第1元素とは異なる第2元素の窒化物を含む、請求項1に記載の半導体装置。
【請求項4】
前記第1元素はアルミニウムであり、前記第2元素はガリウムであり、
前記第1元素の前記第1濃度は前記第2濃度よりも低い、請求項3に記載の半導体装置。
【請求項5】
前記第1元素は水素であり、前記第2元素はシリコンであり、
前記第1元素の前記第1濃度は前記第2濃度よりも高い、請求項3に記載の半導体装置。
【請求項6】
前記第1面と前記第2層との間に設けられる絶縁膜を含み、
前記第2層の前記第2開口部は、前記絶縁膜に通じる、請求項1に記載の半導体装置。
【請求項7】
前記基板の前記第1面側に設けられ、前記基板側から前記基板側とは反対側に向かって開口幅が広くなる開口部を備えたバリア層を含み、
前記第1層及び前記第2層はそれぞれ、前記バリア層の一部であり、
前記第1層の前記第1開口部及び前記第2層の前記第2開口部はそれぞれ、前記バリア層の前記開口部の一部である、請求項1に記載の半導体装置。
【請求項8】
前記バリア層の前記開口部に設けられるゲート電極と、
前記基板の前記第1面側に、前記ゲート電極と分離されて設けられるドレイン電極と、
を含み、
前記開口部は、前記ゲート電極の、前記バリア層を介して前記第1面と対向する面が、前記第1面から離間しながら前記ドレイン電極側に延びる形状を有する、請求項7に記載の半導体装置。
【請求項9】
基板の第1面側に、第1濃度の第1元素を含有し、第1開口部を有する第1層を形成する工程と、
前記基板の前記第1面と前記第1層との間に、前記第1濃度とは異なる第2濃度の前記第1元素を含有し、前記第1層の前記第1開口部に通じ且つ前記第1開口部よりも開口幅の小さい第2開口部を有する第2層を形成する工程と、
を含む、半導体装置の製造方法。
【請求項10】
基板と、
前記基板の第1面側に設けられ、第1濃度の第1元素を含有し、第1開口部を有する第1層と、
前記基板の前記第1面と前記第1層との間に設けられ、前記第1濃度とは異なる第2濃度の前記第1元素を含有し、前記第1層の前記第1開口部に通じ且つ前記第1開口部よりも開口幅の小さい第2開口部を有する第2層と、
を含む半導体装置を備える、電子装置。
発明の詳細な説明
【技術分野】
【0001】
本発明は、半導体装置、半導体装置の製造方法及び電子装置に関する。
続きを表示(約 1,600 文字)
【背景技術】
【0002】
例えば、窒化物半導体装置に関し、アルミニウムを含まない窒化物半導体層を、表面側ほど成膜温度を低くして成膜し、その窒化物半導体層に、エッチングによって、表面側の開口幅が広くなる傾斜側壁を有する凹部を形成する技術が知られている(特許文献1)。
【0003】
また、電界効果型化合物半導体装置に関し、絶縁膜として、互いに組成或いは密度の異なる2層以上の多層構造膜を形成し、その絶縁膜に、エッチングによって、多層構造膜の層数に応じた段差を含むゲート開口部を形成する技術が知られている(特許文献2)。
【先行技術文献】
【特許文献】
【0004】
特開2009-164437号公報
特開2015-72962号公報
【発明の概要】
【発明が解決しようとする課題】
【0005】
半導体装置では、電極が設けられる領域の構成に起因して生じる現象、例えば、ドレイン電極への高電圧印加時にゲート電極のドレイン電極側のエッジに電界集中が生じること等によって、半導体装置の性能劣化が引き起こされる場合がある。
【0006】
1つの側面では、本発明は、高性能の半導体装置を実現することを目的とする。
【課題を解決するための手段】
【0007】
1つの態様では、基板と、前記基板の第1面側に設けられ、第1濃度の第1元素を含有し、第1開口部を有する第1層と、前記基板の前記第1面と前記第1層との間に設けられ、前記第1濃度とは異なる第2濃度の前記第1元素を含有し、前記第1層の前記第1開口部に通じ且つ前記第1開口部よりも開口幅の小さい第2開口部を有する第2層と、を含む、半導体装置が提供される。
【0008】
また、別の態様では、上記のような半導体装置の製造方法、上記のような半導体装置を備える電子装置が提供される。
【発明の効果】
【0009】
1つの側面では、高性能の半導体装置を実現することが可能になる。
【図面の簡単な説明】
【0010】
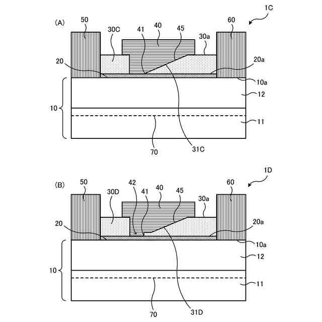
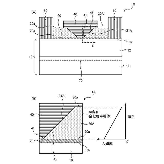
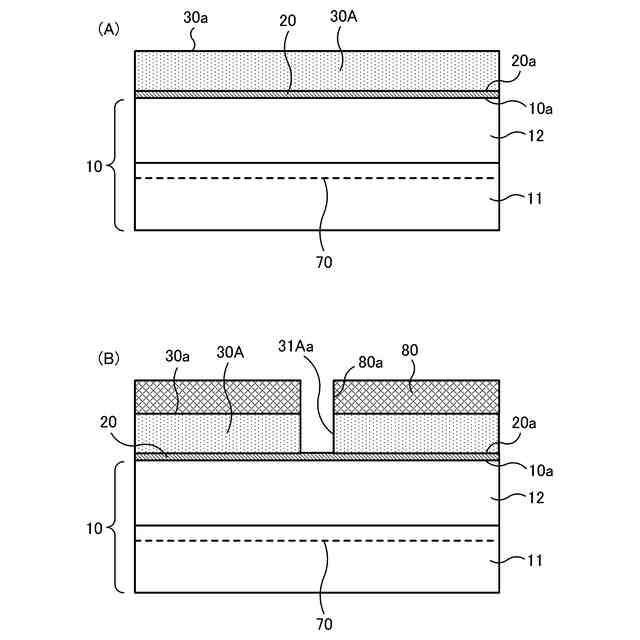
第1実施形態に係る半導体装置の第1例について説明する図である。
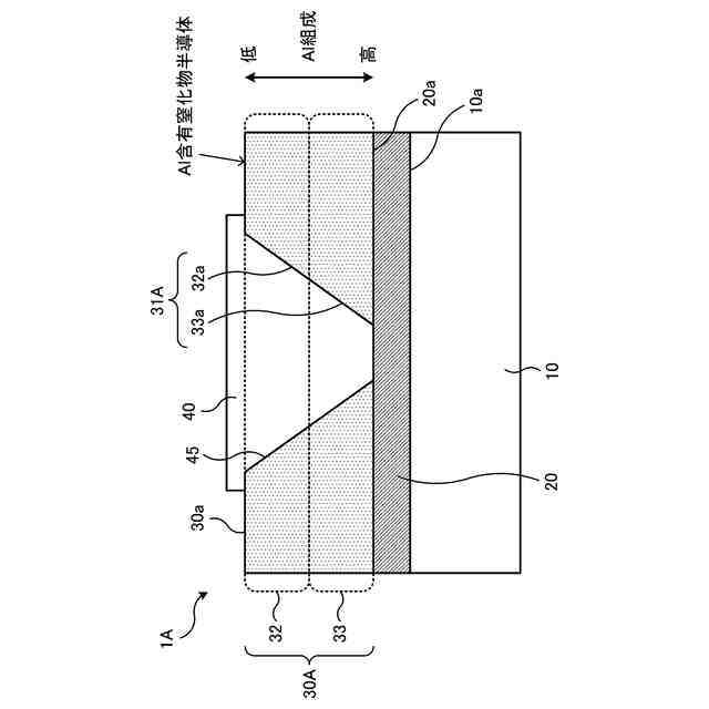
第1実施形態に係る半導体装置のバリア層について説明する図である。
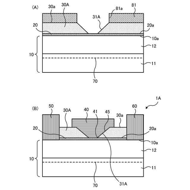
第1実施形態に係る半導体装置の製造方法の一例について説明する図(その1)である。
第1実施形態に係る半導体装置の製造方法の一例について説明する図(その2)である。
第1実施形態に係る半導体装置の第2例について説明する図である。
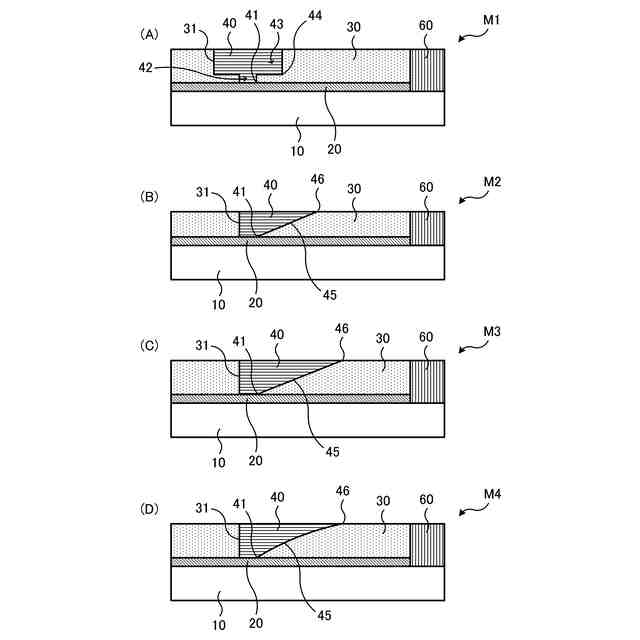
半導体装置における電界強度分布のシミュレーション結果の一例について説明する図である。
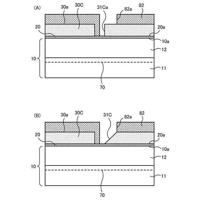
第1実施形態に係る半導体装置の第3例について説明する図である。
第1実施形態に係る半導体装置の製造方法の別例について説明する図である。
各種半導体装置の電界強度分布について説明する図(その1)である。
各種半導体装置の電界強度分布について説明する図(その2)である。
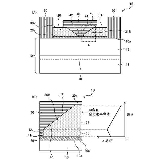
第2実施形態に係る半導体装置のバリア層の一例について説明する図である。
第2実施形態に係る半導体装置の製造方法の一例について説明する図(その1)である。
第2実施形態に係る半導体装置の製造方法の一例について説明する図(その2)である。
第3実施形態に係る半導体パッケージの一例について説明する図である。
第4実施形態に係る力率改善回路の一例について説明する図である。
第5実施形態に係る電源装置の一例について説明する図である。
第6実施形態に係る増幅器の一例について説明する図である。
【発明を実施するための形態】
(【0011】以降は省略されています)
この特許をJ-PlatPat(特許庁公式サイト)で参照する
関連特許
富士通株式会社
画像処理モデル
1か月前
富士通株式会社
ダウンサンプリング
11日前
富士通株式会社
OLT及びPONシステム
1か月前
富士通株式会社
光受信装置及び光受信方法
11日前
富士通株式会社
情報処理装置及び情報処理方法
17日前
富士通株式会社
演算処理装置及び情報処理装置
1か月前
富士通株式会社
プログラム及びデータ処理装置
25日前
富士通株式会社
情報処理装置および情報処理方法
11日前
富士通株式会社
波長変換装置および波長変換方法
1か月前
富士通株式会社
ラックマウント装置及びラック装置
1か月前
富士通株式会社
書き込みアシスト回路及びSRAM
9日前
富士通株式会社
画像生成プログラム、方法、及び装置
2日前
富士通株式会社
不正検知プログラム、方法、及び装置
17日前
富士通株式会社
通知プログラム、通知方法および通知装置
1か月前
富士通株式会社
受光デバイス及び受光デバイスの製造方法
1か月前
富士通株式会社
推定システム、情報処理装置及び推定方法
4日前
富士通株式会社
データ処理方法及び装置、並びに記憶媒体
4日前
富士通株式会社
コンパイルプログラムおよびコンパイル方法
25日前
富士通株式会社
測定装置、測定方法、および測定プログラム
2日前
富士通株式会社
検出プログラム、検出方法および情報処理装置
1か月前
富士通株式会社
生成プログラム、生成方法および情報処理装置
1か月前
富士通株式会社
半導体装置、半導体装置の製造方法及び電子装置
1か月前
富士通株式会社
学習プログラム、学習方法、および情報処理装置
3日前
富士通株式会社
学習プログラム、学習方法、および情報処理装置
2日前
富士通株式会社
生成プログラム、生成方法、および情報処理装置
9日前
富士通株式会社
半導体装置、半導体装置の製造方法及び電子装置
23日前
富士通株式会社
ターゲット追跡のための方法、装置及び記憶媒体
1か月前
富士通株式会社
データ処理装置、データ処理方法およびプログラム
1か月前
富士通株式会社
プログラム、データ処理方法およびデータ処理装置
1か月前
富士通株式会社
量子計算制御プログラム、および量子計算制御方法
9日前
富士通株式会社
プログラム、情報処理方法およびクラスタシステム
9日前
富士通株式会社
情報処理プログラム、情報処理方法及び情報処理装置
1か月前
富士通株式会社
情報出力プログラム、情報出力方法及び情報処理装置
1か月前
富士通株式会社
情報処理プログラム、情報処理方法および情報処理装置
1か月前
富士通株式会社
領域特定プログラム、領域特定装置、及び領域特定方法
1か月前
富士通株式会社
情報処理プログラム、情報処理方法、および情報処理装置
4日前
続きを見る
他の特許を見る