TOP
|
特許
|
意匠
|
商標
特許ウォッチ
Twitter
他の特許を見る
10個以上の画像は省略されています。
公開番号
2025175739
公報種別
公開特許公報(A)
公開日
2025-12-03
出願番号
2024081965
出願日
2024-05-20
発明の名称
情報処理プログラム、情報処理方法、および情報処理装置
出願人
富士通株式会社
代理人
弁理士法人酒井国際特許事務所
主分類
G06Q
30/0203 20230101AFI20251126BHJP(計算;計数)
要約
【課題】サービスの施策を、コストをかけずに決定することを可能とする。
【解決手段】情報処理装置10は、実世界を仮想空間上に再現したデジタルツインにおいて、実世界に存在する人物に対応するエージェントによる、サービスの利用に関するシミュレーションを実施することで、人物に対応するエージェントに対してサービスの利用経験を発生させる。そして、情報処理装置10は、発生させた利用経験に基づいて、人物に対応するエージェントが有するサービスの利用意向に関する情報を設定する。かかる情報処理装置10の処理は、例えば、まだ普及していないモビリティのシェアリングに対する配備施策を検討する場合に適用できる。
【選択図】図3
特許請求の範囲
【請求項1】
実世界を仮想空間上に再現したデジタルツインにおいて、前記実世界に存在する人物に対応するエージェントによる、サービスの利用に関するシミュレーションを実施することで、前記人物に対応するエージェントに対して前記サービスの利用経験を発生させ、
発生させた前記利用経験に基づいて、前記人物に対応するエージェントが有する前記サービスの利用意向に関する情報を設定する
処理をコンピュータに実行させることを特徴とする情報処理プログラム。
続きを表示(約 2,300 文字)
【請求項2】
人物の前記サービスの利用意向に関する情報を記憶する記憶部から、利用意向に関する情報を取得し、
取得された利用意向に関する情報を用いて、人物がサービスを利用するか否かを示す行動選択モデルを生成し、
前記サービスの利用経験を発生させる処理は、生成された前記行動選択モデルを用いて、対象の人物に対応するエージェントのサービスの利用に関するシミュレーションを実施することで、前記対象の人物におけるサービスの利用経験に関する情報を生成し、
前記サービスの利用意向に関する情報を設定する処理は、
生成されたサービスの利用経験に関する情報を用いて、前記記憶部に記憶される、前記対象の人物の前記利用意向に関する情報を更新する
ことを特徴とする請求項1に記載の情報処理プログラム。
【請求項3】
前記行動選択モデルを生成する処理は、更新された前記利用意向に関する情報を用いて、人物がサービスを利用するか否かを示す前記行動選択モデルを生成し、
前記シミュレーションを実施する処理は、実世界と仮想空間とが時刻同期された前記デジタルツインにおいて、生成された前記行動選択モデルを用いて、前記対象の人物のシミュレーションを実施する
ことを特徴とする請求項2に記載の情報処理プログラム。
【請求項4】
前記実世界に導入する前記サービスにおける施策の条件に関する情報を受け付け、
受け付けた前記施策の条件に関する情報に基づいて、前記実世界を仮想空間上で再現した前記デジタルツインを生成し、
前記シミュレーションを実施する処理は、生成された前記デジタルツインにおいて、生成された前記行動選択モデルを用いて、前記対象の人物のサービスの利用に関するシミュレーションを実施し、
実施したシミュレーションの結果に基づいて、前記施策の導入対象の状態を特定し、
前記施策の導入対象の状態に基づいて、前記施策の検証結果に関する情報を表示画面に表示する
ことを特徴とする請求項3に記載の情報処理プログラム。
【請求項5】
前記施策の導入対象の状態を特定する処理は、
前記デジタルツインにおいて、前記サービスを導入するステーションごとに、前記シミュレーションの結果から、前記サービスの導入対象である移動体の配備数を取得し、
前記デジタルツインにおいて、前記ステーションごとに、サービスを利用するという意向を示す人物の利用意向者数を集計し、
前記ステーションごとに、前記利用意向者数と前記移動体の配備数とから前記移動体の不足数を計算する処理を含み、
前記表示画面に表示する処理は、
前記移動体の不足数の大きい第1のステーションから順に、前記移動体の不足数の小さい第2のステーションから前記第1のステーションへ前記移動体を移動させるという前記施策の検証を実行し、
前記施策の検証結果として前記ステーションごとの前記移動体の配備台数を前記表示画面に表示する
ことを特徴とする請求項4に記載の情報処理プログラム。
【請求項6】
前記シミュレーションを実施する処理は、
前記対象の人物の前記利用意向に関する情報を前記行動選択モデルに入力して、前記対象の人物がサービスの導入対象である移動体を利用するか否かを示す情報を取得し、
前記対象の人物がサービスの前記移動体を利用するか否かを示す情報および前記サービスを導入するステーションごとの前記移動体の配備台数に基づいて、前記対象の人物に対応するエージェントの前記移動体の利用に関するシミュレーションを実施することで、前記対象の人物におけるサービスの利用経験に関する情報を生成する処理を含む
ことを特徴とする請求項3に記載の情報処理プログラム。
【請求項7】
前記利用意向に関する情報および前記利用経験に関する情報は、項目ごとに利用意向を示す段階的な数値で表される
ことを特徴とする請求項2に記載の情報処理プログラム。
【請求項8】
前記行動選択モデルを生成する処理は、前記人物の属性情報および前記利用意向に関する情報に含まれる利用経験に関する情報を説明変数とし、前記利用意向に関する情報に含まれるサービスを利用したいか否かの情報を被説明変数とした前記行動選択モデルを生成する
ことを特徴とする請求項3に記載の情報処理プログラム。
【請求項9】
実世界を仮想空間上に再現したデジタルツインにおいて、前記実世界に存在する人物に対応するエージェントによる、サービスの利用に関するシミュレーションを実施することで、前記人物に対応するエージェントに対して前記サービスの利用経験を発生させ、
発生させた前記利用経験に基づいて、前記人物に対応するエージェントが有する前記サービスの利用意向に関する情報を設定する
処理をコンピュータが実行することを特徴とする情報処理方法。
【請求項10】
実世界を仮想空間上に再現したデジタルツインにおいて、前記実世界に存在する人物に対応するエージェントによる、サービスの利用に関するシミュレーションを実施することで、前記人物に対応するエージェントに対して前記サービスの利用経験を発生させるシミュレーション部と、
前記シミュレーション部によって発生させた前記利用経験に基づいて、前記人物に対応するエージェントが有する前記サービスの利用意向に関する情報を設定する設定部と、
を有することを特徴とする情報処理装置。
発明の詳細な説明
【技術分野】
【0001】
本発明は、情報処理プログラム、情報処理方法、および情報処理装置に関する。
続きを表示(約 1,900 文字)
【背景技術】
【0002】
新しいサービスを提供する前、市場調査としてアンケートが利用されることがある。例えば、アンケートによりサービスの利用経験を調査し、サービスの提供方法の詳細を決定することが行われている。
【0003】
また、現実世界の物理空間に存在している物体を、仮想空間で表現するための技術として、デジタルツイン(Digital Twin)と呼ばれる技術がある。デジタルツインには、人、物、時空間を仮想的に再現し、これらの相互作用をシミュレーションするエージェントベースモデルという手法が含まれる。かかるエージェントベースモデルをアンケートによる調査と組み合わせて、サービスの利用経験をシミュレーション内で再現できることが知られている。
【先行技術文献】
【特許文献】
【0004】
特開2016-076125号公報
【発明の概要】
【発明が解決しようとする課題】
【0005】
ここで、サービスの利用経験の変化を基に、人々がサービスを利用したいか否かを示す利用意向を推測するには、実際に何らかのサービスの施策を実施した前後でアンケートを調査する必要がある。しかしながら、施策を実施しながら、効果検証としてアンケートを調査すると、時間や費用の面でコストがかかるという問題がある。
【0006】
1つの側面では、サービスの施策を、コストをかけずに決定することを可能とすることを目的とする。
【課題を解決するための手段】
【0007】
1つの態様において、情報処理プログラムは、実世界を仮想空間上に再現したデジタルツインにおいて、前記実世界に存在する人物に対応するエージェントによる、サービスの利用に関するシミュレーションを実施することで、前記人物に対応するエージェントに対して前記サービスの利用経験を発生させ、発生させた前記利用経験に基づいて、前記人物に対応するエージェントが有する前記サービスの利用意向に関する情報を設定する、処理をコンピュータに実行させる。
【発明の効果】
【0008】
1つの側面では、サービスの施策を、コストをかけずに決定することが可能になる。
【図面の簡単な説明】
【0009】
図1は、モビリティシェアリングの配備施策の参考例を示す図である。
図2は、サービスの利用意向をシミュレーションする参考例を示す図である。
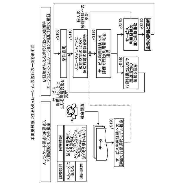
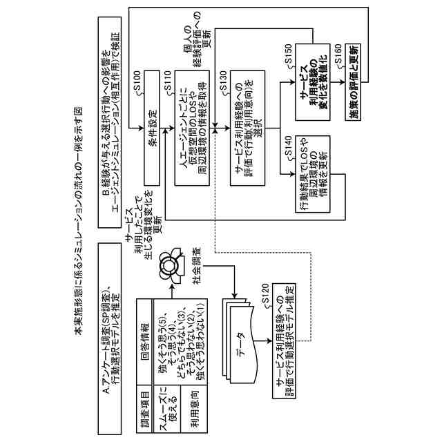
図3は、本実施形態に係るシミュレーションの流れの一例を示す図である。
図4は、本実施形態に係る情報処理システムの構成例を示す図である。
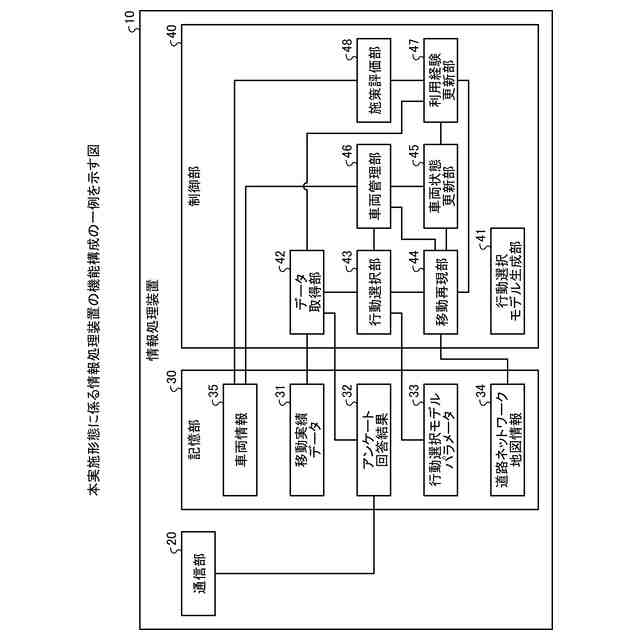
図5は、本実施形態に係る情報処理装置の機能構成の一例を示す図である。
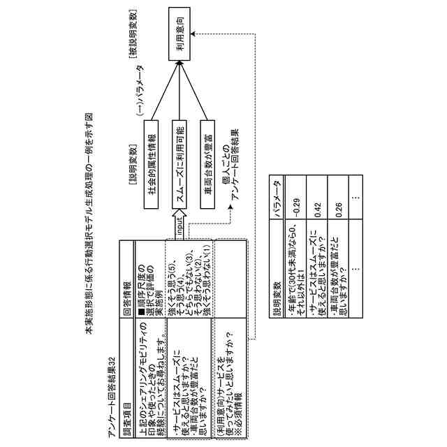
図6は、本実施形態に係る行動選択モデル生成処理の一例を示す図である。
図7は、本実施形態に係る利用意向推定の一例を示す図である。
図8は、本実施形態に係る移動再現処理のイメージを示す図である。
図9Aは、本実施形態に係る利用経験更新処理の一例を示す図(1)である。
図9Bは、本実施形態に係る利用経験更新処理の一例を示す図(2)である。
図9Cは、本実施形態に係る利用経験更新処理の一例を示す図(3)である。
図10は、本実施形態に係る施策評価処理の一例を示す図である。
図11は、本実施形態に係るシミュレーションのフローチャートの一例を示す図である。
図12は、本実施形態に係る利用経験更新の具体例を示す図である。
図13は、本実施形態に係る施策評価処理のフローチャートの一例を示す図である。
図14Aは、本実施形態に係る施策評価の具体例を示す図(1)である。
図14Bは、本実施形態に係る施策評価の具体例を示す図(2)である。
図15は、本実施形態に係るシミュレーションの効果の一例を示す図である。
図16は、情報処理装置のハードウェア構成例を説明する図である。
【発明を実施するための形態】
【0010】
以下に、本実施形態に係る情報処理プログラム、情報処理方法および情報処理装置の実施例を図面に基づいて詳細に説明する。なお、この実施例により本実施形態が限定されるものではない。また、各実施例は、矛盾のない範囲内で適宜組み合わせることができる。
(【0011】以降は省略されています)
この特許をJ-PlatPat(特許庁公式サイト)で参照する
関連特許
富士通株式会社
半導体装置
1か月前
富士通株式会社
半導体デバイス
1か月前
富士通株式会社
メッシュ微細化
1か月前
富士通株式会社
画像処理モデル
1か月前
富士通株式会社
演算器及び演算方法
1か月前
富士通株式会社
ダウンサンプリング
7日前
富士通株式会社
ポイントクラウド分類
1か月前
富士通株式会社
アレイアンテナモジュール
1か月前
富士通株式会社
OLT及びPONシステム
27日前
富士通株式会社
光受信装置及び光受信方法
7日前
富士通株式会社
電子機器筐体及び電子機器
1か月前
富士通株式会社
光送信器及び光トランシーバ
1か月前
富士通株式会社
演算処理装置及び情報処理装置
1か月前
富士通株式会社
プログラム及びデータ処理装置
21日前
富士通株式会社
基板及びこれを備えた電子装置
1か月前
富士通株式会社
情報処理装置及び情報処理方法
13日前
富士通株式会社
通信制御装置及び移動中継装置
2か月前
富士通株式会社
波長変換装置および波長変換方法
1か月前
富士通株式会社
情報処理装置および情報処理方法
7日前
富士通株式会社
テキスト案内される画像エディタ
1か月前
富士通株式会社
書き込みアシスト回路及びSRAM
5日前
富士通株式会社
ラックマウント装置及びラック装置
1か月前
富士通株式会社
メモリ管理装置及びメモリ管理方法
1か月前
富士通株式会社
不正検知プログラム、方法、及び装置
13日前
富士通株式会社
受光デバイス及び受光デバイスの製造方法
26日前
富士通株式会社
推定システム、情報処理装置及び推定方法
今日
富士通株式会社
通知プログラム、通知方法および通知装置
26日前
富士通株式会社
データ処理方法及び装置、並びに記憶媒体
今日
富士通株式会社
コンパイルプログラムおよびコンパイル方法
21日前
富士通株式会社
プログラム、情報処理方法および情報処理装置
2か月前
富士通株式会社
生成プログラム、生成方法および情報処理装置
1か月前
富士通株式会社
検出プログラム、検出方法および情報処理装置
1か月前
富士通株式会社
出張情報受付方法および出張情報受付プログラム
1か月前
富士通株式会社
ターゲット追跡のための方法、装置及び記憶媒体
1か月前
富士通株式会社
半導体装置、半導体装置の製造方法及び電子装置
1か月前
富士通株式会社
探索プログラム、探索方法、および情報処理装置
1か月前
続きを見る
他の特許を見る