TOP
|
特許
|
意匠
|
商標
特許ウォッチ
Twitter
他の特許を見る
10個以上の画像は省略されています。
公開番号
2025174661
公報種別
公開特許公報(A)
公開日
2025-11-28
出願番号
2024081154
出願日
2024-05-17
発明の名称
プログラム、情報処理方法およびクラスタシステム
出願人
富士通株式会社
代理人
弁理士法人扶桑国際特許事務所
主分類
G06F
11/20 20060101AFI20251120BHJP(計算;計数)
要約
【課題】データアクセスを高速化する。
【解決手段】運用ノードは、運用ノードが属する第1サブシステムに含まれる第1記憶装置の、運用ノードからの要求に対する第1応答時間と、待機ノードが属する第2サブシステムであって、第1サブシステムとネットワークで接続される第2サブシステムに含まれる第2記憶装置の、運用ノードからの要求に対する第2応答時間とを比較する。運用ノードは、第1応答時間よりも第2応答時間の方が短い場合に、データの読み出しを第2記憶装置から行う。
【選択図】図3
特許請求の範囲
【請求項1】
運用ノードおよび待機ノードを含むクラスタシステムのうちの前記運用ノードとして用いられるコンピュータに、
前記運用ノードが属する第1サブシステムに含まれる第1記憶装置の、前記運用ノードからの要求に対する第1応答時間と、前記待機ノードが属する第2サブシステムであって、前記第1サブシステムとネットワークを介して接続される前記第2サブシステムに含まれる第2記憶装置の、前記運用ノードからの要求に対する第2応答時間とを比較し、
前記第1応答時間よりも前記第2応答時間の方が短い場合に、前記運用ノードによるデータの読み出しを前記第2記憶装置から行う、
処理を実行させるプログラム。
続きを表示(約 2,200 文字)
【請求項2】
前記第1記憶装置からの読み出しの今回の応答時間と、前記第1記憶装置からの読み出しの前回の応答時間とを比較し、
前記今回の応答時間の方が前記前回の応答時間よりも長い場合に、前記第1記憶装置および前記第2記憶装置それぞれに対して、性能測定用の読み出しの要求を行うことで前記第1応答時間と前記第2応答時間とを取得し、
取得した前記第1応答時間と前記第2応答時間とを比較する、
処理を前記コンピュータに実行させる請求項1記載のプログラム。
【請求項3】
前記第2記憶装置から前記データの読み出しを行うと、前記第1記憶装置および前記第2記憶装置それぞれに対する性能測定用の読み出しの要求を前回行ってから一定時間が経過したか、または、前記性能測定用の読み出しの要求を前回行ってから前記第2記憶装置からの前記データの読み出しが一定回数以上行われたか否かを判定し、
前記性能測定用の読み出しの要求を前回行ってから一定時間が経過した場合、または、前記性能測定用の読み出しの要求を前回行ってから前記第2記憶装置からの前記データの読み出しが一定回数以上行われた場合、前記第1記憶装置および前記第2記憶装置それぞれに対して、前記性能測定用の読み出しの要求を行うことで前記第1応答時間と前記第2応答時間とを取得し、
取得した前記第1応答時間と前記第2応答時間とを比較し、前記第2応答時間よりも前記第1応答時間の方が短い場合に、前記運用ノードによる前記データの読み出しを前記第1記憶装置から行うように切り替える、
処理を前記コンピュータに実行させる請求項1記載のプログラム。
【請求項4】
前記第1記憶装置へデータの書き込みの要求を行う際に、前記第2記憶装置にも前記データの複製の書き込みの要求を行うことで前記第1応答時間と前記第2応答時間とを取得し、
取得した前記第1応答時間と前記第2応答時間とを比較する、
処理を前記コンピュータに実行させる請求項1記載のプログラム。
【請求項5】
前記運用ノードによる前記データの読み出しを行う記憶装置として前記第2記憶装置が選択されており、前記第2応答時間よりも前記第1応答時間の方が短い場合、前記運用ノードによる前記データの読み出しを前記第1記憶装置から行うように切り替える、
処理を前記コンピュータに実行させる請求項4記載のプログラム。
【請求項6】
前記第2記憶装置は、前記第1記憶装置に保持される前記データの複製を保持し、
前記待機ノードは、前記運用ノードとの死活監視の通信が途絶えると、前記第2記憶装置に保持される前記データに基づいて、前記運用ノードの処理を引き継ぐ、
請求項1記載のプログラム。
【請求項7】
前記第1サブシステムは、複数の第1データセンタを有する第1ゾーンに含まれ、
前記第2サブシステムは、複数の第2データセンタを有する第2ゾーンに含まれる、
請求項1記載のプログラム。
【請求項8】
運用ノードおよび待機ノードを含むクラスタシステムのうちの前記運用ノードとして用いられるコンピュータが、
前記運用ノードが属する第1サブシステムに含まれる第1記憶装置の、前記運用ノードからの要求に対する第1応答時間と、前記待機ノードが属する第2サブシステムであって、前記第1サブシステムとネットワークを介して接続される前記第2サブシステムに含まれる第2記憶装置の、前記運用ノードからの要求に対する第2応答時間とを比較し、
前記第1応答時間よりも前記第2応答時間の方が短い場合に、前記運用ノードによるデータの読み出しを前記第2記憶装置から行う、
情報処理方法。
【請求項9】
運用ノードおよび待機ノードを有し、
前記運用ノードは、
前記運用ノードが属する第1サブシステムに含まれる第1記憶装置の、前記運用ノードからの要求に対する第1応答時間と、前記待機ノードが属する第2サブシステムであって、前記第1サブシステムとネットワークを介して接続される前記第2サブシステムに含まれる第2記憶装置の、前記運用ノードからの要求に対する第2応答時間とを比較し、
前記第1応答時間よりも前記第2応答時間の方が短い場合に、データの読み出しを前記第2記憶装置から行う、
クラスタシステム。
【請求項10】
運用ノードおよび待機ノードを含むクラスタシステムのうちの前記運用ノードとして用いられるコンピュータに、
前記運用ノードが属する第1サブシステムに含まれる第1記憶装置の、前記運用ノードからの要求に対する第1応答時間と、前記待機ノードが属する第2サブシステムであって、前記第1サブシステムとネットワークを介して接続される前記第2サブシステムに含まれる第2記憶装置の、前記運用ノードからの要求に対する第2応答時間とを比較し、
前記第1応答時間と前記第2応答時間との比較の結果に基づいて、前記運用ノードによるデータの読み出しを前記第1記憶装置から行うか、または、前記第2記憶装置から行うかを選択する、
処理を実行させるプログラム。
発明の詳細な説明
【技術分野】
【0001】
本発明はプログラム、情報処理方法およびクラスタシステムに関する。
続きを表示(約 1,800 文字)
【背景技術】
【0002】
近年、アプリケーションプログラムを実行する情報処理環境をユーザが自ら所有する代わりに、サービス事業者の提供する情報処理環境をユーザがネットワーク経由で利用することが増えている。ネットワーク経由で情報処理環境を利用させる情報処理システムはクラウドシステムと言われることがある。クラウドシステムは、物理マシンや仮想マシンなどの単位計算リソースをユーザに貸し出し、アプリケーションプログラムをその単位計算リソース上で実行する。物理マシンや仮想マシンで実現される処理主体はノードと言われることがある。
【0003】
ここで、それぞれがCPU(Central Processing Unit)とメモリなどの記憶装置とを備えた複数の情報処理装置がクラスタ接続されたマルチノードシステムで、CPUから記憶装置へのアクセス制御を行うアクセス制御システムの提案がある。アクセス制御システムは、あるCPUから記憶装置へのアクセスが計算機ネットワークを用いるリモートアクセスである場合に、リモートアクセスをローカルアクセスに変換することで、当該アクセスがインターコネクトネットワークを介して行われるようにする。
【0004】
また、複数のストレージデバイスの1つの特定のストレージデバイスが相対的に長い応答レイテンシまたは相対的に低いスループットを含む予定外の挙動を示す時を予測するコンピュータシステムの提案もある。当該コンピュータシステムは、当該予測に基づいて、予定外の挙動の発生の可能性を削減するために事前対応動作をスケジュールする。事前対応動作は、キャッシュフラッシュ動作、セキュアな消去動作、トリム動作、スリープ動作、休止動作、パワーオンおよびオフ動作、およびリセット動作の1またはそれ以上を含む。
【先行技術文献】
【特許文献】
【0005】
国際公開第2017/188036号
特開2016-131037号公報
【発明の概要】
【発明が解決しようとする課題】
【0006】
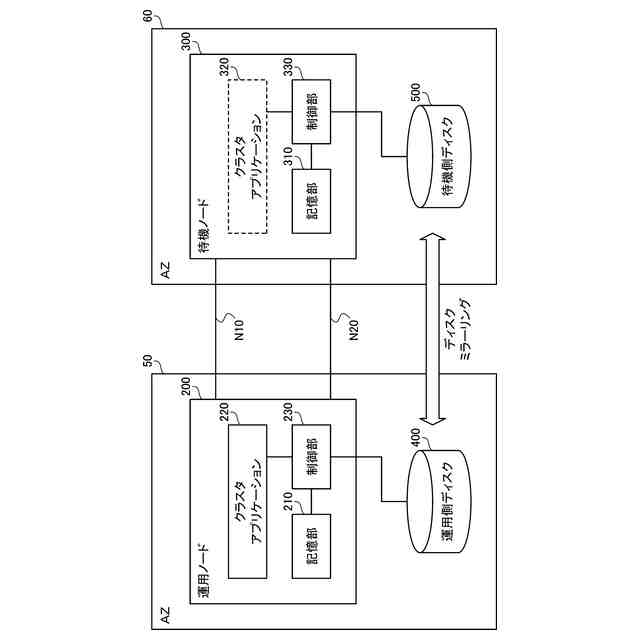
アプリケーションプログラムを実行するシステムの可用性向上を図るため、運用系のノード(運用ノード)と待機系のノード(待機ノード)とを含むクラスタシステムが用いられることがある。クラスタシステムは、通常時にはアプリケーションプログラムを運用ノードで実行し、運用ノードおよび待機ノードそれぞれのローカルの記憶装置のデータを同期させる。クラスタシステムは、運用ノードのダウン時には、アプリケーションプログラムの処理を待機ノードにより引き継ぐことができる。
【0007】
ここで、クラウドシステムなどの大規模なシステムでは、運用ノードと待機ノードとが地理的に離れたデータセンタなどの施設に存在し、両者が施設間を繋ぐネットワークを介して死活監視やデータ同期などを行うことがある。この場合、通常運用時における運用ノードによるデータの読み出しは、アクセス性能を考慮して、ネットワーク経由で待機ノード側の記憶装置から行うのではなく、運用ノード側のローカルの記憶装置から行うのが一般的である。
【0008】
しかし、運用ノードによるデータの読み出しをローカルの記憶装置から行うことで常に良好なアクセス性能を得られるとは限らない。例えば、運用ノード側の記憶装置へのアクセス負荷が過大になり、運用ノードによる当該記憶装置へのアクセス性能が低下する可能性がある。
【0009】
1つの側面では、本発明は、データアクセスを高速化することを目的とする。
【課題を解決するための手段】
【0010】
1つの態様では、運用ノードおよび待機ノードを含むクラスタシステムのうちの運用ノードとして用いられるコンピュータに次の処理を実行させるプログラムが提供される。コンピュータは、運用ノードが属する第1サブシステムに含まれる第1記憶装置の、運用ノードからの要求に対する第1応答時間と、待機ノードが属する第2サブシステムであって、第1サブシステムとネットワークを介して接続される第2サブシステムに含まれる第2記憶装置の、運用ノードからの要求に対する第2応答時間とを比較する。コンピュータは、第1応答時間よりも第2応答時間の方が短い場合に、運用ノードによるデータの読み出しを第2記憶装置から行う。
(【0011】以降は省略されています)
この特許をJ-PlatPat(特許庁公式サイト)で参照する
関連特許
富士通株式会社
半導体装置
1か月前
富士通株式会社
周波数変換器
2か月前
富士通株式会社
行列演算回路
2か月前
富士通株式会社
メッシュ微細化
1か月前
富士通株式会社
画像処理モデル
1か月前
富士通株式会社
半導体デバイス
1か月前
富士通株式会社
演算器及び演算方法
1か月前
富士通株式会社
ダウンサンプリング
3日前
富士通株式会社
冷却装置及び電子機器
2か月前
富士通株式会社
ポイントクラウド分類
1か月前
富士通株式会社
ハイブリッド光増幅器
2か月前
富士通株式会社
電子機器筐体及び電子機器
1か月前
富士通株式会社
光受信装置及び光受信方法
3日前
富士通株式会社
アレイアンテナモジュール
1か月前
富士通株式会社
OLT及びPONシステム
23日前
富士通株式会社
光送信器及び光トランシーバ
1か月前
富士通株式会社
演算処理装置及び演算処理方法
2か月前
富士通株式会社
演算処理装置及び情報処理装置
1か月前
富士通株式会社
通信制御装置及び移動中継装置
1か月前
富士通株式会社
プログラム及びデータ処理装置
17日前
富士通株式会社
基板及びこれを備えた電子装置
1か月前
富士通株式会社
情報処理装置及び情報処理方法
9日前
富士通株式会社
波長変換装置および波長変換方法
1か月前
富士通株式会社
テキスト案内される画像エディタ
1か月前
富士通株式会社
情報処理装置および情報処理方法
3日前
富士通株式会社
ラックマウント装置及びラック装置
1か月前
富士通株式会社
メモリ管理装置及びメモリ管理方法
1か月前
富士通株式会社
書き込みアシスト回路及びSRAM
1日前
富士通株式会社
動的多次元メディアコンテンツ投影
2か月前
富士通株式会社
不正検知プログラム、方法、及び装置
9日前
富士通株式会社
異常予測方法および異常予測プログラム
2か月前
富士通株式会社
通知プログラム、通知方法および通知装置
22日前
富士通株式会社
受光デバイス及び受光デバイスの製造方法
22日前
富士通株式会社
管理装置、管理方法、および管理プログラム
1か月前
富士通株式会社
生成人工知能を使用したデータセット符号化
2か月前
富士通株式会社
コンパイルプログラムおよびコンパイル方法
17日前
続きを見る
他の特許を見る