TOP
|
特許
|
意匠
|
商標
特許ウォッチ
Twitter
他の特許を見る
10個以上の画像は省略されています。
公開番号
2025177060
公報種別
公開特許公報(A)
公開日
2025-12-05
出願番号
2024083559
出願日
2024-05-22
発明の名称
測定装置、測定方法、および測定プログラム
出願人
富士通株式会社
代理人
弁理士法人片山特許事務所
主分類
G01B
11/24 20060101AFI20251128BHJP(測定;試験)
要約
【課題】 簡易な手法で送信対象の計測データを選択することができる測定装置、測定方法、および測定プログラムを提供する。
【解決手段】 測定装置は、所定の時間間隔で計測装置によって取得された、液中での計測対象物の複数の計測データを取得する取得部と、前記取得部が取得した前記複数の計測データについて、前記計測装置の位置および向きから、前記計測装置の計測範囲に占める前記計測対象物の占有率を算出する算出部と、前記占有率に基づいて、前記複数の計測データから計測データを選択する選択部と、前記選択部が選択した計測データを送信する通信装置と、を備える。
【選択図】 図6
特許請求の範囲
【請求項1】
所定の時間間隔で計測装置によって取得された、液中での計測対象物の複数の計測データを取得する取得部と、
前記取得部が取得した前記複数の計測データについて、前記計測装置の位置および向きから、前記計測装置の計測範囲に占める前記計測対象物の占有率を算出する算出部と、
前記占有率に基づいて、前記複数の計測データから計測データを選択する選択部と、
前記選択部が選択した計測データを送信する通信装置と、を備えることを特徴とする測定装置。
続きを表示(約 1,100 文字)
【請求項2】
前記選択部は、前記占有率と、前記計測データの品質を表す評価値とから得られる全体評価値に基づいて、前記複数の計測データから計測データを選択することを特徴とする請求項1に記載の測定装置。
【請求項3】
前記評価値は、前記計測装置と前記計測対象物との距離の評価値、前記計測装置が計測するフレーム間での前記計測装置の移動速度の評価値、液中での前記計測装置に対する入射光量の評価値、前記計測装置が計測するフレーム間での前記計測対象物の計測領域面積の増加率の評価値、前記選択部が選択した前記計測データとの計測範囲のオーバーラップ率の評価値、および前記計測装置の光軸と前記計測対象物の表面とがなす角度の評価値の少なくともいずれか1つを含むことを特徴とする請求項2に記載の測定装置。
【請求項4】
前記選択部は、前記占有率および前記評価値にそれぞれ重みを付して前記全体評価値を算出することを特徴とする請求項2に記載の測定装置。
【請求項5】
前記選択部は、前記通信装置の通信状態に応じて、前記重みを変更することを特徴とする請求項4に記載の測定装置。
【請求項6】
前記選択部は、前記通信装置の通信状態に応じて、前記複数の計測データから選択する計測データの個数を変動させることを特徴とする請求項1に記載の測定装置。
【請求項7】
前記複数の計測データは、カメラが撮像した画像データ、または測距装置が測定した測距点群データであることを特徴とする請求項1に記載の測定装置。
【請求項8】
コンピュータが、
所定の時間間隔で計測装置によって取得された、液中での計測対象物の複数の計測データを取得する処理と、
取得した前記複数の計測データについて、前記計測装置の位置および向きから、前記計測装置の計測範囲に占める前記計測対象物の占有率を算出する処理と、
前記占有率に基づいて、前記複数の計測データから計測データを選択する処理と、
選択した計測データを送信する処理と、を実行することを特徴とする測定方法。
【請求項9】
コンピュータに、
所定の時間間隔で計測装置によって取得された、液中での計測対象物の複数の計測データを取得する処理と、
取得した前記複数の計測データについて、前記計測装置の位置および向きから、前記計測装置の計測範囲に占める前記計測対象物の占有率を算出する処理と、
前記占有率に基づいて、前記複数の計測データから計測データを選択する処理と、
選択した計測データを送信する処理と、を実行させることを特徴とする測定プログラム。
発明の詳細な説明
【技術分野】
【0001】
本件は、測定装置、測定方法、および測定プログラムに関する。
続きを表示(約 1,500 文字)
【背景技術】
【0002】
液中の計測対象物の正確な形状を計測する技術が望まれている(例えば、特許文献1~4参照)。
【先行技術文献】
【特許文献】
【0003】
米国特許公開第2003-0206489号公報
国際公開第2014-192805号
特開2020-204502号公報
米国特許公開第2012/0099400号
【発明の概要】
【発明が解決しようとする課題】
【0004】
液中の計測対象物を計測することで得られた計測データを陸上などの高速処理コンピュータへ送信する技術が望まれている。そこで、必要な情報量が多い計測データだけを選択して送信することが考えられる。しかしながら、計測データを直接的に解析する手法では計算コストがかかってしまう。
【0005】
1つの側面では、本発明は、簡易な手法で送信対象の計測データを選択することができる測定装置、測定方法、および測定プログラムを提供することを目的とする。
【課題を解決するための手段】
【0006】
1つの態様では、測定装置は、所定の時間間隔で計測装置によって取得された、液中での計測対象物の複数の計測データを取得する取得部と、前記取得部が取得した前記複数の計測データについて、前記計測装置の位置および向きから、前記計測装置の計測範囲に占める前記計測対象物の占有率を算出する算出部と、前記占有率に基づいて、前記複数の計測データから計測データを選択する選択部と、前記選択部が選択した計測データを送信する通信装置と、を備える。
【発明の効果】
【0007】
簡易な手法で送信対象の計測データを選択することができる。
【図面の簡単な説明】
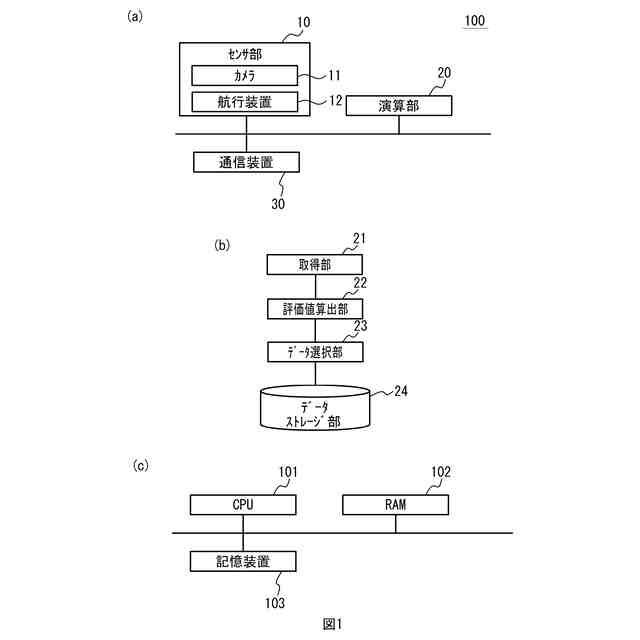
【0008】
(a)は実施例1に係る測定装置の装置構成図であり、(b)は演算部の機能ブロック図であり、(c)は演算部のハードウェア構成を例示するブロック図である。
フローチャートを例示する図である。
計測対象物のCGモデルを例示する図である。
計測対象物を真上から見た場合のCGモデルを例示する図である。
カメラの位置および向きから得られた撮影範囲を例示する図である。
占有率を例示する図である。
(a)は評価値P
r
を例示する図であり、(b)は評価値P
d
を例示する図であり、(c)は評価値P
c
を例示する図である。
(a)は評価値P
ac
を例示する図であり、(b)は評価値P
oc
を例示する図であり、(c)は評価値P
sc
を例示する図である。
実施例2に係る測定装置の装置構成図である。
フローチャートを例示する図である。
【発明を実施するための形態】
【0009】
水中ROV(Remotely Operated Vehicle)に搭載したカメラや水中LiDAR(Light Detection And Ranging)を用いて、海水、淡水などの液中での構造物の形状や、海底形状、湖底形状などを高精細に三次元測定し、3Dモデルを作成する技術が発展している。
【0010】
しかしながら、モデル作成の処理は重く、水中ROVには高速処理コンピュータの搭載が難しいため、水中ROVが持ち帰ったデータを陸上の高速処理コンピュータで処理することで、モデルが作成されている。しかしながら、この手法では、リアルタイムにモデルを作成することが困難である。
(【0011】以降は省略されています)
この特許をJ-PlatPat(特許庁公式サイト)で参照する
関連特許
富士通株式会社
半導体装置
1か月前
富士通株式会社
行列演算回路
2か月前
富士通株式会社
周波数変換器
2か月前
富士通株式会社
画像処理モデル
1か月前
富士通株式会社
半導体デバイス
1か月前
富士通株式会社
メッシュ微細化
1か月前
富士通株式会社
演算器及び演算方法
1か月前
富士通株式会社
ダウンサンプリング
9日前
富士通株式会社
ポイントクラウド分類
1か月前
富士通株式会社
冷却装置及び電子機器
2か月前
富士通株式会社
電子機器筐体及び電子機器
1か月前
富士通株式会社
アレイアンテナモジュール
1か月前
富士通株式会社
OLT及びPONシステム
29日前
富士通株式会社
光受信装置及び光受信方法
9日前
富士通株式会社
光送信器及び光トランシーバ
1か月前
富士通株式会社
基板及びこれを備えた電子装置
1か月前
富士通株式会社
情報処理装置及び情報処理方法
15日前
富士通株式会社
通信制御装置及び移動中継装置
2か月前
富士通株式会社
プログラム及びデータ処理装置
23日前
富士通株式会社
演算処理装置及び演算処理方法
2か月前
富士通株式会社
演算処理装置及び情報処理装置
1か月前
富士通株式会社
テキスト案内される画像エディタ
1か月前
富士通株式会社
波長変換装置および波長変換方法
1か月前
富士通株式会社
情報処理装置および情報処理方法
9日前
富士通株式会社
メモリ管理装置及びメモリ管理方法
1か月前
富士通株式会社
ラックマウント装置及びラック装置
1か月前
富士通株式会社
書き込みアシスト回路及びSRAM
7日前
富士通株式会社
動的多次元メディアコンテンツ投影
2か月前
富士通株式会社
画像生成プログラム、方法、及び装置
今日
富士通株式会社
不正検知プログラム、方法、及び装置
15日前
富士通株式会社
異常予測方法および異常予測プログラム
2か月前
富士通株式会社
通知プログラム、通知方法および通知装置
28日前
富士通株式会社
データ処理方法及び装置、並びに記憶媒体
2日前
富士通株式会社
受光デバイス及び受光デバイスの製造方法
28日前
富士通株式会社
推定システム、情報処理装置及び推定方法
2日前
富士通株式会社
コンパイルプログラムおよびコンパイル方法
23日前
続きを見る
他の特許を見る