TOP
|
特許
|
意匠
|
商標
特許ウォッチ
Twitter
他の特許を見る
10個以上の画像は省略されています。
公開番号
2025173919
公報種別
公開特許公報(A)
公開日
2025-11-28
出願番号
2024079791
出願日
2024-05-15
発明の名称
生成プログラム、生成方法、および情報処理装置
出願人
富士通株式会社
代理人
弁理士法人酒井総合特許事務所
主分類
G06F
16/332 20250101AFI20251120BHJP(計算;計数)
要約
【課題】質問文に関連する情報の検索精度を向上させること。
【解決手段】情報処理装置101は、第1の質問文q1を受け付ける。情報処理装置101は、複数の文章データを記憶する記憶部110を参照して、第1の質問文q1に関連する第1の文章データr1を検索する。情報処理装置101は、検索した第1の文章データr1に応じて、言語モデル120を用いて、第1の質問文q1と意味が変わらないように、第1の質問文q1の文体を変更した第2の質問文q2を生成する。言語モデル120は、例えば、大規模言語モデルである。
【選択図】図1
特許請求の範囲
【請求項1】
複数の文章データを記憶する記憶部を参照して、第1の質問文に関連する第1の文章データを検索し、
検索した前記第1の文章データに応じて、文章を生成するための第1の言語モデルを用いて、前記第1の質問文と意味が変わらないように、前記第1の質問文の文体を変更した第2の質問文を生成する、
処理をコンピュータに実行させることを特徴とする生成プログラム。
続きを表示(約 1,500 文字)
【請求項2】
前記第1の言語モデルと同一または異なる第2の言語モデルを用いて、前記第1の質問文を校正する、処理を前記コンピュータに実行させ、
前記第1の文章データを検索する処理は、
前記記憶部を参照して、校正した前記第1の質問文に関連する第1の文章データを検索し、
前記第2の質問文を生成する処理は、
検索した前記第1の文章データに応じて、前記第1の言語モデルを用いて、校正した前記第1の質問文と意味が変わらないように、校正した前記第1の質問文の文体を変更した第2の質問文を生成する、ことを特徴とする請求項1に記載の生成プログラム。
【請求項3】
前記記憶部を参照して、生成した前記第2の質問文に関連する第2の文章データを検索し、
検索した前記第2の文章データと、前記第2の質問文とに基づいて、前記第1の言語モデルと同一または異なる第3の言語モデルを用いて、前記第1の質問文に対する回答を生成する、
処理を前記コンピュータに実行させることを特徴とする請求項1に記載の生成プログラム。
【請求項4】
前記複数の文章データは、文章と当該文章の特徴量とを表す文章データを含み、
前記第1の文章データを検索する処理は、
前記記憶部を参照して、前記複数の文章データに含まれる文章データが表す文章の特徴量と前記第1の質問文の特徴量とを比較することにより、前記第1の質問文と特徴が類似する文章を表す第1の文章データを検索する、
ことを特徴とする請求項1に記載の生成プログラム。
【請求項5】
前記複数の文章データは、当該複数の文章データに含まれる少なくともいずれかの文章データが表す文章に使用される文体と、当該文体と同義の異なる文体との対応関係を表す文章データを含み、
前記第1の文章データを検索する処理は、
前記記憶部を参照して、前記第1の質問文に含まれる第1の文体と、当該第1の文体と同義であって前記複数の文章データに含まれる少なくともいずれかの文章データが表す文章に使用される第2の文体との対応関係を表す第1の文章データを検索し、
前記第2の質問文を生成する処理は、
検索した前記第1の文章データに応じて、前記第1の言語モデルを用いて、前記第1の質問文と意味が変わらないように、前記第1の質問文に含まれる前記第1の文体を前記第2の文体に変更した第2の質問文を生成する、
ことを特徴とする請求項1に記載の生成プログラム。
【請求項6】
生成した前記回答を前記第1の質問文と対応付けて出力する、
処理を前記コンピュータに実行させることを特徴とする請求項3に記載の生成プログラム。
【請求項7】
複数の文章データを記憶する記憶部を参照して、第1の質問文に関連する第1の文章データを検索し、
検索した前記第1の文章データに応じて、文章を生成するための第1の言語モデルを用いて、前記第1の質問文と意味が変わらないように、前記第1の質問文の文体を変更した第2の質問文を生成する、
処理をコンピュータが実行することを特徴とする生成方法。
【請求項8】
複数の文章データを記憶する記憶部を参照して、第1の質問文に関連する第1の文章データを検索し、
検索した前記第1の文章データに応じて、文章を生成するための第1の言語モデルを用いて、前記第1の質問文と意味が変わらないように、前記第1の質問文の文体を変更した第2の質問文を生成する、
制御部を有することを特徴とする情報処理装置。
発明の詳細な説明
【技術分野】
【0001】
本発明は、生成プログラム、生成方法、および情報処理装置に関する。
続きを表示(約 2,200 文字)
【背景技術】
【0002】
従来、自然言語処理分野におけるAI(Artificial Intelligence)の生成モデルと情報検索ベースのアプローチとを組み合わせたRAG(Retrieval-Augmented Generation)システムがある。RAGシステムでは、例えば、質問文に関連するQA(Question and Answer)をデータベースから検索し、検索したQAと質問文から回答を生成する。
【0003】
先行技術としては、質問回答表示システムにおいて、回答パターンとそれに対応する複数の質問パターンを含む質問回答データベースに基づき、管理者端末から入力された質問文を入力された質問文と同じ回答パターンに対応する一または複数の別の表現の質問文に変換するものがある。また、与えられた文書に対して、言語モデルを利用して文書で回答可能な少なくとも1つのクエリデータを生成し、特定のドメインに属する各文書と当該文書に対して生成されたクエリデータとのペアからなるデータを対話ボットのための検索モデルの学習に利用する技術がある。
【0004】
また、ユーザの質問を言い換えることによって複数の修正された質問を生成し、ユーザの質問と修正された質問のそれぞれに対応する回答候補を選択し、選択された回答候補の中から少なくとも1つを回答として検出する技術がある。また、入力された質問文をもとに、当該質問文の文字数と合わせたトータルの文字数が大規模言語モデルに入力可能な文字数制限を超えない文字数で、質問文に関連した追加文章を生成し、入力された質問文に対し、生成された追加文章を参考情報として付加することによってプロンプトを生成する技術がある。
【先行技術文献】
【特許文献】
【0005】
特開2021-108033号公報
特開2023-76413号公報
米国特許出願公開第2016/0140958号明細書
特許第7313757号公報
【発明の概要】
【発明が解決しようとする課題】
【0006】
しかしながら、従来技術では、質問文に対する回答を生成するにあたり、質問文に関連する情報(例えば、QA)の検索精度が低下するという問題がある。例えば、質問文に関連する情報の検索精度が低下すると、ひいては、質問文に対する回答の生成精度の低下を招いてしまう。
【0007】
一つの側面では、本発明は、質問文に関連する情報の検索精度を向上させることを目的とする。
【課題を解決するための手段】
【0008】
1つの実施態様では、複数の文章データを記憶する記憶部を参照して、第1の質問文に関連する第1の文章データを検索し、検索した前記第1の文章データに応じて、文章を生成するための第1の言語モデルを用いて、前記第1の質問文と意味が変わらないように、前記第1の質問文の文体を変更した第2の質問文を生成する、生成プログラムが提供される。
【発明の効果】
【0009】
本発明の一側面によれば、質問文に関連する情報の検索精度を向上させることができるという効果を奏する。
【図面の簡単な説明】
【0010】
図1は、実施の形態1にかかる生成方法の一実施例を示す説明図である。
図2は、回答生成システム200のシステム構成例を示す説明図である。
図3は、回答生成装置201のハードウェア構成例を示すブロック図である。
図4は、文章データベース220の記憶内容の一例を示す説明図である。
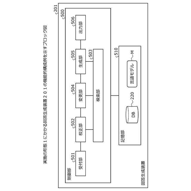
図5は、実施の形態1にかかる回答生成装置201の機能的構成例を示すブロック図である。
図6は、実施の形態1にかかる回答生成装置201の動作例を示す説明図である。
図7は、ユーザの質問文の一例を示す説明図である。
図8は、校正用のプロンプトの具体例を示す説明図である。
図9は、一次修正後の質問文の一例を示す説明図である。
図10は、文体変更用のプロンプトの具体例を示す説明図(その1)である。
図11は、二次修正後の質問文の一例を示す説明図である。
図12は、実施の形態1にかかる回答生成装置201のDB登録処理手順の一例を示すフローチャートである。
図13は、実施の形態1にかかる回答生成装置201の回答生成処理手順の一例を示すフローチャートである。
図14は、文章特徴テーブル1400の記憶内容の一例を示す説明図である。
図15は、実施の形態2にかかる回答生成装置201の機能的構成例を示すブロック図である。
図16は、文体変更用のプロンプトの具体例を示す説明図(その2)である。
図17は、実施の形態2にかかる回答生成装置201の動作例を示す説明図である。
図18は、実施の形態2にかかる回答生成装置201のテーブル作成処理手順の一例を示すフローチャートである。
図19は、実施の形態2にかかる回答生成装置201の回答生成処理手順の一例を示すフローチャートである。
【発明を実施するための形態】
(【0011】以降は省略されています)
この特許をJ-PlatPat(特許庁公式サイト)で参照する
関連特許
富士通株式会社
半導体装置
1か月前
富士通株式会社
行列演算回路
2か月前
富士通株式会社
周波数変換器
2か月前
富士通株式会社
半導体デバイス
1か月前
富士通株式会社
メッシュ微細化
1か月前
富士通株式会社
画像処理モデル
1か月前
富士通株式会社
ダウンサンプリング
3日前
富士通株式会社
演算器及び演算方法
1か月前
富士通株式会社
ポイントクラウド分類
1か月前
富士通株式会社
冷却装置及び電子機器
2か月前
富士通株式会社
電子機器筐体及び電子機器
1か月前
富士通株式会社
光受信装置及び光受信方法
3日前
富士通株式会社
OLT及びPONシステム
23日前
富士通株式会社
アレイアンテナモジュール
1か月前
富士通株式会社
光送信器及び光トランシーバ
1か月前
富士通株式会社
演算処理装置及び情報処理装置
1か月前
富士通株式会社
基板及びこれを備えた電子装置
1か月前
富士通株式会社
プログラム及びデータ処理装置
17日前
富士通株式会社
通信制御装置及び移動中継装置
1か月前
富士通株式会社
演算処理装置及び演算処理方法
2か月前
富士通株式会社
情報処理装置及び情報処理方法
9日前
富士通株式会社
波長変換装置および波長変換方法
1か月前
富士通株式会社
情報処理装置および情報処理方法
3日前
富士通株式会社
テキスト案内される画像エディタ
1か月前
富士通株式会社
ラックマウント装置及びラック装置
1か月前
富士通株式会社
動的多次元メディアコンテンツ投影
2か月前
富士通株式会社
メモリ管理装置及びメモリ管理方法
1か月前
富士通株式会社
書き込みアシスト回路及びSRAM
1日前
富士通株式会社
不正検知プログラム、方法、及び装置
9日前
富士通株式会社
異常予測方法および異常予測プログラム
2か月前
富士通株式会社
通知プログラム、通知方法および通知装置
22日前
富士通株式会社
受光デバイス及び受光デバイスの製造方法
22日前
富士通株式会社
管理装置、管理方法、および管理プログラム
1か月前
富士通株式会社
コンパイルプログラムおよびコンパイル方法
17日前
富士通株式会社
演算システムおよび演算システムの制御方法
2か月前
富士通株式会社
生成人工知能を使用したデータセット符号化
2か月前
続きを見る
他の特許を見る