TOP
|
特許
|
意匠
|
商標
特許ウォッチ
Twitter
他の特許を見る
10個以上の画像は省略されています。
公開番号
2025134536
公報種別
公開特許公報(A)
公開日
2025-09-17
出願番号
2024032510
出願日
2024-03-04
発明の名称
演算装置、情報処理装置及び演算装置の制御方法
出願人
富士通株式会社
代理人
弁理士法人酒井国際特許事務所
主分類
G06F
17/16 20060101AFI20250909BHJP(計算;計数)
要約
【課題】処理性能を維持しつつ信頼性を向上させる演算装置、情報処理装置及び演算装置の制御方法を提供する。
【解決手段】メモリは、複数の個別演算を含む行列演算に使用するデータを順次受信して格納する。シストリックアレイは、複数の演算器が行列状に並び、各演算器に異なる個別演算をそれぞれ順番に行わせることで行列演算を実行する。制御部は、行列演算の処理要求を受けて、サイクル毎の個別演算を行わせる演算器の増加分のうち新規に稼働を開始させる上限数を超える演算器の数である超過演算器数をサイクル毎に算出し、メモリのデータの受信開始に基づいて、超過演算器数を基に演算器を事前稼働させ、メモリがデータの受信を完了すると前記メモリが保持するデータを基にシストリックアレイに行列演算を実行させる。
【選択図】図3
特許請求の範囲
【請求項1】
複数の個別演算を含む行列演算に使用するデータを順次受信して格納するメモリと、
複数の演算器が行列状に並び、各演算器に異なる個別演算をそれぞれ順番に行わせることで前記行列演算を実行するシストリックアレイと、
前記行列演算の処理要求を受けて、サイクル毎の個別演算を行わせる演算器の増加分のうち新規に稼働を開始させる上限数を超える演算器の数である超過演算器数をサイクル毎に算出し、前記メモリのデータの受信開始に基づいて、前記超過演算器数を基に演算器を事前稼働させ、前記メモリがデータの受信を完了すると前記メモリが保持するデータを基に前記シストリックアレイに前記行列演算を実行させる制御部と
を有することを特徴とする演算装置。
続きを表示(約 1,400 文字)
【請求項2】
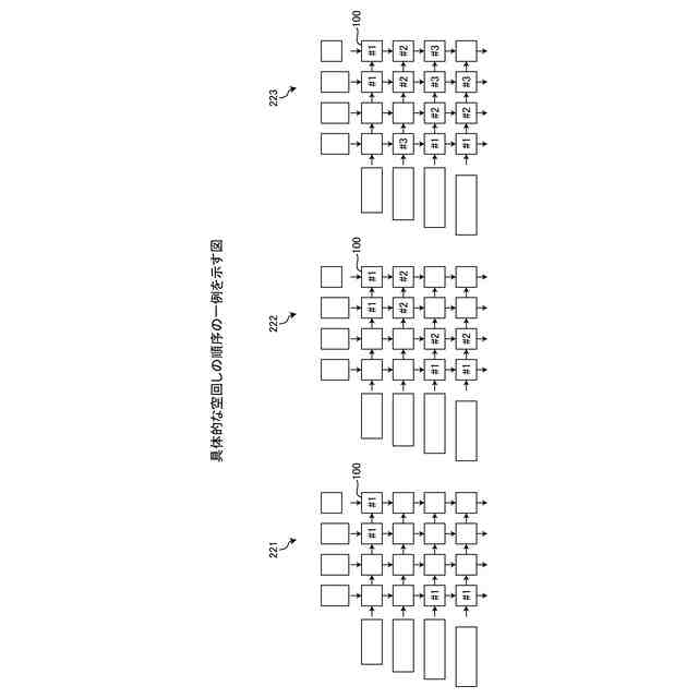
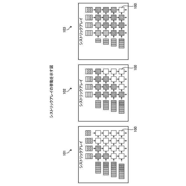
前記シストリックアレイは、サイクル毎に前記上限数以下の演算器を稼動させ、サイクル毎に稼働済みの1つ又は複数の演算器に、前記メモリが保持するデータ又は隣接する演算器から伝搬されたデータを入力して個別演算を行わせ、演算結果を隣接する演算器に伝搬させることを繰り返させて前記行列演算を実行することを特徴とする請求項1に記載の演算装置。
【請求項3】
前記シストリックアレイは、前記行列状に並んだ前記演算器のうち行列の一方の対角線に近い演算器から順に事前稼働させることを特徴とする請求項1に記載の演算装置。
【請求項4】
前記シストリックアレイは、サイクル毎に個別演算を実行させる演算器を、各サイクルにおいて稼働を開始させた演算器及び前記事前稼働させた演算器の中から割り当てることを特徴とする請求項1に記載の演算装置。
【請求項5】
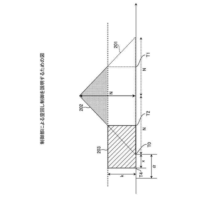
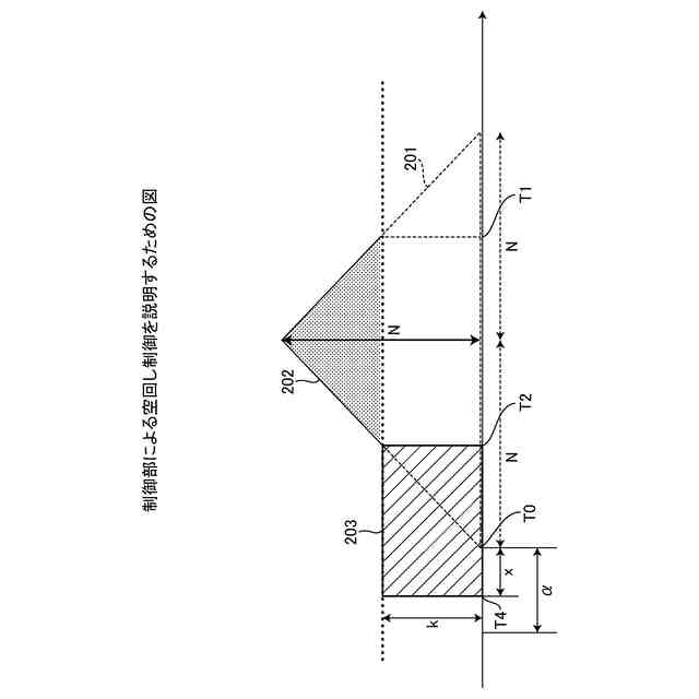
前記メモリは、前記データの受信開始時にデータの受信完了タイミングを予測して前記制御部に通知し、
前記制御部は、前記上限数を基に前記超過演算器数の演算器の事前稼働にかかる時間を算出して、前記受信完了タイミングを基に前記事前稼働を開始するタイミングを算出する
ことを特徴とする請求項1に記載の演算装置。
【請求項6】
前記制御部は、前記事前稼働を開始するタイミングの算出時に、前記事前稼働を開始するタイミングが既に到来している場合、その時点で前記事前稼働を開始させ、前記事前稼働を開始するタイミングが未だ到来していない場合、前記事前稼働を介するタイミングまで待機した後に前記事前稼働を開始させることを特徴とする請求項5に記載の演算装置。
【請求項7】
主演算器、主メモリ、演算装置を有する情報処理装置であって、
前記演算装置は、
複数の個別演算を含む行列演算に使用するデータを前記主メモリから順次受信して格納するメモリと、
複数の演算器が行列状に並び、各演算器に異なる個別演算をそれぞれ順番に行わせることで前記行列演算を実行するシストリックアレイと、
前記主演算器から前記行列演算の処理要求を受けて、サイクル毎の個別演算を行わせる演算器の増加分のうち稼働開始上限数を超える演算器の数である超過演算器数をサイクル毎に算出し、前記メモリのデータの受信開始に基づいて、前記超過演算器数を基に演算器を事前稼働させ、前記メモリがデータの受信を完了すると前記メモリが保持するデータを基に前記シストリックアレイに前記行列演算を実行させる制御部と
を有することを特徴とする情報処理装置。
【請求項8】
複数の個別演算を含む行列演算に使用するデータを順次受信して格納するメモリと、複数の演算器が行列状に並び、各演算器に異なる個別演算をそれぞれ順番に行わせることで前記行列演算を実行するシストリックアレイとを有する演算装置の制御方法であって
前記行列演算の処理要求を受けて、
サイクル毎の個別演算を行わせる演算器の増加分のうち稼働開始上限数を超える演算器の数である超過演算器数をサイクル毎に算出し、
前記メモリのデータの受信開始に基づいて、前記超過演算器数を基に演算器を事前稼働させ、
前記メモリがデータの受信を完了すると前記メモリが保持するデータを基に前記シストリックアレイに前記行列演算を実行させる
処理を前記演算装置に行わせることを特徴とする演算装置の制御方法。
発明の詳細な説明
【技術分野】
【0001】
本発明は、演算装置、情報処理装置及び演算装置の制御方法に関する。
続きを表示(約 1,500 文字)
【背景技術】
【0002】
近年、様々な分野でAI(Artificial Intelligence)に注目が集まっている。このような環境の中、AIに対して複雑な処理を高速に処理することが求められるようになり、AIを動作させるハードウェアに対する要求性能が大きく上昇している。特に現在のAIの演算要求量のトレンドは、従来の性能向上を遥かに超えるレベルであり、熱及び電力の限界まで演算器数を拡張させるレベルまでに至り指数関数的に増加している。
【0003】
このような要求演算量の急上昇に対して、AIを動作させるための様々なハードウェアが提案されている。専用ハードウェアとしては、例えば、演算器をタイル上に並べたシストリックアレイ(SA:Systolic Array)と呼ばれる構成を用いた演算装置がある。ここでは、シストリックアレイで構成された演算器の複合体をまとめて、単に「シストリックアレイ」と呼ぶ。
【0004】
シストリックアレイは、行列演算等の場合に各演算器で行われる処理が規則的なことを利用して、巡回的にデータを流し、2つのデータがその流れにおいて揃ったところで演算を行う。シストリックアレイでは、リソースを集中させることができ、演算密度が向上する。一方で、シストリックアレイを構成するチップに対して、プロダクト観点の品質保証や継続動作性についての十分性は検討不足であるという面も存在する。
【0005】
例えば、シストリックアレイに関する技術としては、シストリック処理を行うパイプラインにおいて各パイプラインステージにおける出力先を選択制御することで機械学習の速度を改善する技術が提案されている。
【先行技術文献】
【特許文献】
【0006】
特開2021-177366号公報
【発明の概要】
【発明が解決しようとする課題】
【0007】
しかしながら、シストリックアレイは、搭載される演算器数が極めて大きいため、各演算器の稼働タイミング制御が重要となり、稼働タイミングによっては異常が発生するおそれがある。具体的には、回路内の多く演算器が同時に稼働を開始すると、電力消費が急激に増大し、IRドロップと呼ばれる一時的な電源電圧の低下が発生する。稼働する演算器の数の急激な変化によりIRドロップが発生して供給電流及び供給電圧が不安定化した場合、ノイズが発生する。このように全ての演算器において規定電圧が保証されない場合、記憶結果や演算結果が損壊してエラーが発生するおそれがある。
【0008】
稼働数の急増時の電圧不足を回避する方法としては、新規稼働数を制限して電圧の上昇を抑える方法が考えられる。けれども、新規稼働数を制限した場合、稼働数の急増時の電圧不足を回避できるが、実行する演算に対して十分な数の演算器を稼働させることは難しく、演算の実行タイミングが遅延する可能性がある。演算の実行タイミングの遅延は、シストリックアレイ全体としての性能の低下に繋がり、求められる性能を満たさなくなるといった問題が発生する。
【0009】
また、シストリック処理を行うパイプラインの各パイプラインステージにおける出力先を選択制御する技術でも、演算器の新規稼働による電圧上昇は考慮されておらず、シストリックアレイの信頼性を向上させることは困難である。
【0010】
開示の技術は、上記に鑑みてなされたものであって、処理性能を維持しつつ信頼性を向上させる演算装置、情報処理装置及び演算装置の制御方法を提供することを目的とする。
【課題を解決するための手段】
(【0011】以降は省略されています)
この特許をJ-PlatPat(特許庁公式サイト)で参照する
関連特許
富士通株式会社
半導体装置
10日前
富士通株式会社
周波数変換器
23日前
富士通株式会社
行列演算回路
20日前
富士通株式会社
メッシュ微細化
11日前
富士通株式会社
半導体デバイス
10日前
富士通株式会社
演算器及び演算方法
11日前
富士通株式会社
ポイントクラウド分類
5日前
富士通株式会社
冷却装置及び電子機器
20日前
富士通株式会社
電子機器筐体及び電子機器
9日前
富士通株式会社
アレイアンテナモジュール
12日前
富士通株式会社
光送信器及び光トランシーバ
9日前
富士通株式会社
演算処理装置及び演算処理方法
1か月前
富士通株式会社
通信制御装置及び移動中継装置
17日前
富士通株式会社
基板及びこれを備えた電子装置
12日前
富士通株式会社
テキスト案内される画像エディタ
5日前
富士通株式会社
動的多次元メディアコンテンツ投影
1か月前
富士通株式会社
メモリ管理装置及びメモリ管理方法
4日前
富士通株式会社
異常予測方法および異常予測プログラム
1か月前
富士通株式会社
管理装置、管理方法、および管理プログラム
18日前
富士通株式会社
演算システムおよび演算システムの制御方法
1か月前
富士通株式会社
交通シミュレーションのための方法および装置
1か月前
富士通株式会社
生成プログラム、生成方法および情報処理装置
3日前
富士通株式会社
シストリック型の演算アレイ装置及び制御方法
1か月前
富士通株式会社
プログラム、情報処理方法および情報処理装置
16日前
富士通株式会社
予測プログラム、予測方法および情報処理装置
1か月前
富士通株式会社
キャッシュ装置およびキャッシュ装置の制御方法
10日前
富士通株式会社
プログラム、データ処理装置及びデータ処理方法
10日前
富士通株式会社
制御プログラム、制御方法、および情報処理装置
18日前
富士通株式会社
演算装置、情報処理装置及び演算装置の制御方法
1か月前
富士通株式会社
出張情報受付方法および出張情報受付プログラム
9日前
富士通株式会社
探索プログラム、探索方法、および情報処理装置
9日前
富士通株式会社
並列コンピューティング・カテゴリー分けプロセス
5日前
富士通株式会社
プログラム、データ処理方法およびデータ処理装置
3日前
富士通株式会社
情報処理プログラム、情報処理装置及び情報処理方法
1か月前
富士通株式会社
異常検出プログラム、異常検出方法及び情報処理装置
1か月前
富士通株式会社
凝縮グラフ分布(CGD)に基づいたグラフ連続学習
5日前
続きを見る
他の特許を見る