TOP
|
特許
|
意匠
|
商標
特許ウォッチ
Twitter
他の特許を見る
10個以上の画像は省略されています。
公開番号
2025156027
公報種別
公開特許公報(A)
公開日
2025-10-14
出願番号
2025041987
出願日
2025-03-17
発明の名称
凝縮グラフ分布(CGD)に基づいたグラフ連続学習
出願人
富士通株式会社
代理人
弁理士法人ITOH
主分類
G06N
3/04 20230101AFI20251002BHJP(計算;計数)
要約
【課題】凝縮グラフ分布(CGD)に基づいたグラフ連続学習のための方法等を提供する。
【解決手段】方法は、第2グラフのシーケンスを含むグラフ学習タスクに続いて、第1タスクと関連付けられた第1グラフを受け取ることを含む。グラフ学習タスクと関連付けられた凝縮グラフ分布(CGD)の組からサンプルグラフの組が選択される。1つ以上の補助グラフニューラルネットワーク(GNN)モデル、第1グラフ、及びサンプルグラフの組に基づいて、CGDの組と関連付けられた統計値の組が更新される。第1タスクと関連付けられた第1CGDが学習される。第1CGD及びCGDの組から複数のサンプルグラフが再選択される。プライマリGNNモデルの下流予測タスクと関連付けられた予測誤差に対応する第1損失が決定される。プライマリGNNモデルによって、第1損失に基づいて、下流予測タスクと関連付けられた予測結果が生成される。
【選択図】図13
特許請求の範囲
【請求項1】
プロセッサが実行する方法であって、
第2グラフのシーケンスを含む入来するグラフ学習タスクに続いて、第1タスクと関連付けられた第1グラフを受け取ることと、
前記入来するグラフ学習タスクと関連付けられた凝縮グラフ分布(CGD)の組からサンプルグラフの組を選択することと、
1つ以上の補助グラフニューラルネットワーク(GNN)モデル、前記第1グラフ、及び前記サンプルグラフの組に基づいて、前記CGDの組と関連付けられた統計値の組を更新することと、
前記統計値の組に基づいて、前記第1タスクと関連付けられた第1CGDを学習することと、
前記第1CGD及び前記CGDの組から複数のサンプルグラフを再選択することと、
前記第1グラフ、前記複数のサンプルグラフ、及びプライマリGNNモデルに基づいて第1損失を決定することであり、前記第1損失は、前記プライマリGNNモデルの下流予測タスクと関連付けられた予測誤差に対応し、前記プライマリGNNモデルは、前記第1損失に基づいて前記下流予測タスクについての予測結果を生成するよう構成される、ことと、
前記プライマリGNNモデルに基づいて、前記下流予測タスクと関連付けられた前記予測結果を含む第1情報のレンダリングを制御することと
を有する方法。
続きを表示(約 2,100 文字)
【請求項2】
前記第1グラフに基づいて、確率的メモリバッファから、前記入来するグラフ学習タスクと関連付けられた前記CGDの組を抽出し、前記CGDの組からの前記サンプルグラフの組の選択が前記確率的メモリバッファからの前記CGDの組の抽出に基づくことと、
前記第1タスクと関連付けられた前記第1CGDを前記確率的メモリバッファに格納し、前記複数のサンプルグラフが前記確率的メモリバッファから再選択されることと
を更に有する、請求項1に記載の方法。
【請求項3】
前記第1グラフと前記サンプルグラフの組との間の特徴マッチングに基づいて、前記1つ以上の補助GNNモデルと関連付けられた第2損失を決定することを更に有し、
前記CGDの組と関連付けられた前記統計値の組の更新は、前記第2損失に更に基づく、
請求項1に記載の方法。
【請求項4】
前記入来するグラフ学習タスクのタイムラインにおいて前記第1タスクに先行する第2タスクと関連付けられた事前訓練済みGNNモデルに基づいて前記プライマリGNNモデルを初期化することを更に有し、
前記プライマリGNNモデルは、前記プライマリGNNモデルの初期化に更に基づいて前記予測結果を生成するよう構成される、
請求項1に記載の方法。
【請求項5】
前記1つ以上の補助GNNモデルは、共有パラメータと関連付けられた第1のGNNモデルの組に対応し、
前記統計値の組の更新は、前記第1グラフ及び前記サンプルグラフの組からの対応するグラフに対する前記第1のGNNモデルの組からのGNNモデルの適用に更に基づく、
請求項1に記載の方法。
【請求項6】
第1タスク識別子(ID)と関連付けられた第1テストグラフを受け取ることと、
前記第1タスクIDに基づいて、前記第1CGD及び前記CGDの組から第1のサンプルグラフのグループを選択することと、
前記プライマリGNNモデル、前記第1テストグラフ、及び前記第1のサンプルグラフのグループに基づいて、第1のノード埋め込みの組を生成することと、
前記第1のノード埋め込みの組に基づいて、前記第1タスクIDと関連付けられた第1のタスク特有の予測を生成することと、
前記第1のタスク特有の予測を含む第2情報のレンダリングを制御することと
を更に有する、請求項1に記載の方法。
【請求項7】
前記第1のサンプルグラフのグループに基づいて、前記プライマリGNNモデルと関連付けられた第3損失を決定することと、
前記第3損失に基づいて、前記プライマリGNNモデルからファインチューニング済みGNNモデルを生成することと、
前記ファインチューニング済みGNNモデル及び前記第1テストグラフに基づいて、第2のノード埋め込みの組を生成することと、
前記第2のノード埋め込みの組に基づいて、前記第1テストグラフから下流タスク予測を生成することと、
前記下流タスク予測を含む第3情報のレンダリングを制御することと
を更に有する、請求項6に記載の方法。
【請求項8】
前記第1のタスク特有の予測及び前記下流タスク予測の夫々は、前記プライマリGNNモデルと関連付けられたタスク増分推論に対応する、
請求項7に記載の方法。
【請求項9】
匿名タスクIDと関連付けられた第2テストグラフを受け取ることと、
前記入来するグラフ学習タスクと関連付けられた過去タスクIDの組に基づいて、前記第1CGD及び前記CGDの組から複数から第2のサンプルグラフのグループを選択することと、
前記プライマリGNNモデル及び前記第2テストグラフに基づいて、第3のノード埋め込みの組を生成することと、
前記プライマリGNNモデル及び前記第2のサンプルグラフのグループに基づいて、第4のノード埋め込みの組を生成することと、
前記第3のノード埋め込みの組と前記第4のノード埋め込みの組とを比較することと、
前記比較に基づいて前記第2のサンプルグラフのグループから類似グラフの組を決定することであり、前記類似グラフの組は、第1埋め込みを含む第1類似グラフと、第2埋め込みを含む第2類似グラフとを含み、前記第1埋め込みと前記第2埋め込みとの間の類似度スコアは所定の閾値よりも高い、ことと、
前記類似グラフの組と関連付けられたラベルの組を決定することと、
前記ラベルの組の多数決に基づいて、前記第2テストグラフについての第2のタスク特有の予測を決定することと、
前記第2のタスク特有の予測を含む第4情報のレンダリングを制御することと
を更に有する、請求項1に記載の方法。
【請求項10】
前記第2のタスク特有の予測は、前記プライマリGNNモデルと関連付けられた、ドメイン増分推論又はクラス増分推論のうちの少なくとも一方に対応する、
請求項9に記載の方法。
(【請求項11】以降は省略されています)
発明の詳細な説明
【技術分野】
【0001】
本開示で議論されている実施形態は、凝縮グラフ分布(condensed graph distribution,CGD)に基づいたグラフ連続学習(graph continual learning)に関係がある。
続きを表示(約 4,400 文字)
【背景技術】
【0002】
人工知能(artificial intelligence,AI)の分野の進歩は、グラフデータに適用され得る機械学習技術の発展をもたらしてきた。グラフを用いて表現され得るデータの例には、ソーシャルネットワークデータ、電子商取引データ、金融取引データ、ゲノム配列データ、化合物データ、などがある。そのようなデータを表すグラフは、様々なグラフAIモデルを用いて予測を導出するために解析され得る。特定の応用範囲では、時間発展型グラフ(time evolving graph)がグラフAIモデルによって予測のために受け取られることがある。通常、そのような時間発展型グラフに予測モデルが適用される場合には、パフォーマンスの低下を避けるために、新たに入来する訓練サンプルとともに、それまでのグラフが記憶及び/又は処理され得る。しかし、そのようなシナリオでは、大きいメモリストレージが必要になり、プロセスの実装コストが高くなる可能性がある。別の特定のシナリオでは、グラフのグループの訓練中にグラフAIモデルと関連付けられた重みの更新を制限するために、レギュラライザが使用されることがある。そのようなシナリオでは、以前のパターンの破滅的忘却が起こる可能性があり、以前の予測タスクに対してパフォーマンスの悪化が観測される可能性がある。更に、モデル成長技術がグラフデータに適用される場合、時間発展型グラフと関連付けられたタスクの数が増えるにつれて、モデルパラメータの線形的な成長が起こり、そのため、この技術を拡張するのが困難になる可能性がある。
【0003】
本開示で請求される対象は、上述されたような環境でのみ動作する実施形態、又は上述されたような如何なる欠点も解決する実施形態に限られない。むしろ、この背景は、本開示で記載されているいくつかの実施形態が実施される可能性がある技術範囲の一例を説明するためにのみ与えられている。
【発明の概要】
【0004】
実施形態の側面に従って、方法は動作の組を含むことができ、動作の組には、第2グラフのシーケンスを含む入来するグラフ学習タスクに続いて、第1タスクと関連付けられた第1グラフを受け取ることが含まれ得る。動作の組には、入来するグラフ学習タスクと関連付けられた凝縮グラフ分布(CGD)の組からサンプルグラフの組を選択することが更に含まれ得る。動作の組には、1つ以上の補助グラフニューラルネットワーク(graph neural network,GNN)モデル、第1グラフ、及びサンプルグラフの組に基づいて、CGDの組と関連付けられた統計値の組を更新することが更に含まれ得る。動作の組には、統計値の組に基づいて、第1タスクと関連付けられた第1CGDを学習するが更に含まれ得る。動作の組には、第1CGD及びCGDの組から複数のサンプルグラフを再選択することが更に含まれ得る。動作の組には、第1グラフ、複数のサンプルグラフ、及びプライマリGNNモデルに基づいて第1損失を決定することが更に含まれ得る。第1損失は、プライマリGNNモデルの下流予測タスクと関連付けられた予測誤差に対応する。プライマリGNNモデルは、第1損失に基づいて下流予測タスクについての予測結果を生成するよう構成され得る。動作の組には、プライマリGNNモデルに基づいて、下流予測タスクと関連付けられた予測結果を含む第1情報のレンダリングを制御することが更に含まれ得る。
【0005】
実施形態の目的及び利点は、少なくとも、特許請求の範囲で特に指し示されている要素、特徴、及び組み合わせによって、実現及び達成される。
【0006】
上記の概要及び下記の詳細な説明は両方とも例として与えられており、説明的なものであり、請求されている本開示を制限するものではない。
【0007】
例となる実施形態は、添付の図面を使用して、更なる特定及び詳細をもって説明される。
【図面の簡単な説明】
【0008】
凝縮グラフ分布(CGD)に基づいたグラフ継続学習に関係があるネットワーク環境の例を表す図である。
凝縮グラフ分布(CGD)に基づいたグラフ継続学習のための例示的な電子デバイスを表すブロック図である。
グラフ継続学習と関連付けられた下流予測タスクのためのプライマリグラフニューラルネットワーク(GNN)の訓練用の例示的な実行パイプラインを表す図である。
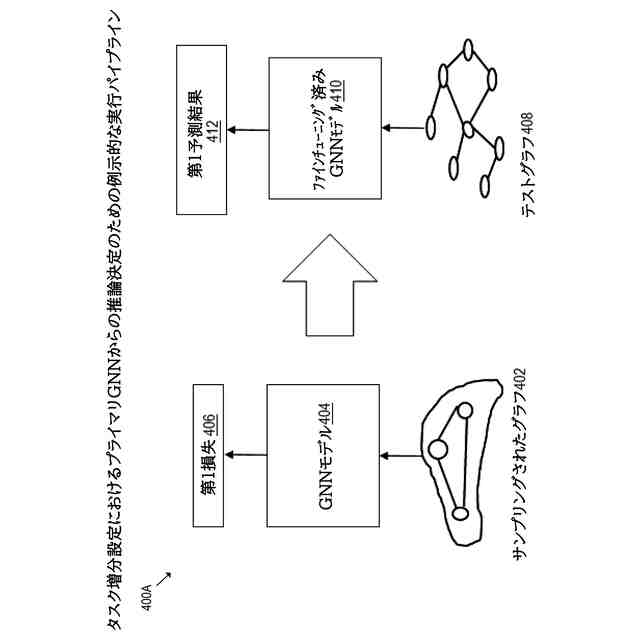
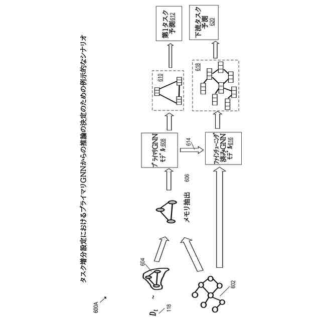
タスク増分設定におけるプライマリグラフニューラルネットワーク(GNN)からの推論(例えば、ノードラベル推論)の決定用の例示的な実行パイプラインを表す図である。
ドメイン増分設定又はクラス増分設定の一方におけるプライマリグラフニューラルネットワーク(GNN)からの推論(例えば、ノードラベル推論)の決定用の例示的な実行パイプラインを表す図である。
入力された時間発展型グラフと凝縮グラフ分布(CGD)からサンプリングされたグラフとの間の第2損失の決定のための例示的なシナリオを表す図である。
タスク用のグラフニューラルネットワーク(GNN)モデルの訓練に基づいたタスク特有予測の決定のための例示的なシナリオを表す図である。
タスク増分設定におけるプライマリグラフニューラルネットワーク(GNN)からの推論(例えば、ノードラベル推論)の決定のための例示的なシナリオを表す図である。
ドメイン増分設定又はクラス増分設定の一方におけるプライマリグラフニューラルネットワーク(GNN)からの推論(例えば、ノードラベル推論)の決定のための例示的なシナリオを表す図である。
新たに入来するグラフの凝縮グラフ分布(CGD)の生成方法の例のフローチャートを表す図である。
グラフニューラルネットワーク(GNN)更新の方法の例のフローチャートを表す図である。
タスク増分設定におけるプライマリグラフニューラルネットワーク(GNN)からの推論(例えば、ノードラベル推論)の決定方法の例のフローチャートを表す図である。
ドメイン増分設定又はクラス増分設定の一方におけるプライマリグラフニューラルネットワーク(GNN)からの推論(例えば、ノードラベル推論)の決定方法の例のフローチャートを表す図である。
図1の電子デバイスを使用したソーシャルネットワーク内の悪意のある活動の検出の例示的なシナリオを表す図である。
図1の電子デバイスを使用したレコメンドシステムの実装の例示的なシナリオを表す図である。
凝縮グラフ分布(CGD)に基づいたグラフ継続学習の方法の例のフローチャートを表す図である。 以上、図は全て、本開示で記載されている少なくとも1つの実施形態に従う。
【発明を実施するための形態】
【0009】
本開示で記載されているいくつかの実施形態は、凝縮グラフ分布(CGD)に基づいたグラフ継続学習のための方法及びシステムに関係がある。本開示の1つ以上の実施形態に従って、グラフ継続学習の技術分野は、コンピューティングシステム(例えば、電子デバイス)がグラフ継続学習のために凝縮グラフ分布(CGD)及び確率的メモリバッファを使用し得るようにコンピューティングシステムを構成することによって、改善され得る。コンピューティングシステムは、第2グラフのシーケンスを含む入来するグラフ学習タスクに続いて、第1タスクと関連付けられた第1グラフを受け取り得る。コンピューティングシステムは更に、入来するグラフ学習タスクと関連付けられたCGDの組からサンプルグラフの組を選択し得る。コンピューティングシステムは更に、1つ以上の補助グラフニューラルネットワーク(GNN)モデル、第1グラフ、及びサンプルグラフの組に基づいて、CGDの組と関連付けられた統計値の組を更新し得る。コンピューティングシステムは更に、統計値の組の更新に基づいて、第1タスクと関連付けられた第1CGDを学習し得る。コンピューティングシステムは更に、第1CGD及びCGDの組から複数のサンプルグラフを再選択し得る。コンピューティングシステムは、第1グラフ、複数のサンプルグラフ、及びプライマリGNNモデルに基づいて第1損失を決定し得る。第1損失は、プライマリGNNモデルの下流予測タスクと関連付けられた予測誤差に対応する。例えば、第1損失は、プライマリGNNモデルの出力(例えば、第1グラフの埋め込みと複数のサンプルグラフの夫々の埋め込みとの間の差の尺度)と関連付けられた二乗誤差損失に基づいて、決定され得る。プライマリGNNモデルは、決定された第1損失に基づいて、下流予測タスクと関連付けられた予測結果を生成するよう構成され得る。コンピューティングシステムは更に、プライマリGNNモデルに基づいて、下流予測タスクと関連付けられた生成された予測結果を含む第1情報のレンダリングを制御し得る。
【0010】
様々な応用範囲のデータがグラフ形式で表現され得る。このようなグラフからは、基礎となるデータに関連する有用な洞察や予測が得られる可能性がある。例えば、予測を生成するために、グラフAIモデルがグラフデータに適用されることがある。ソーシャルメディアネットワークなどの特定の応用範囲におけるグラフデータは、時間発展的かつ動的であることがある。そのような時間発展型グラフからの予測の生成は簡単なプロセスでない可能性がある。そのような時間発展型グラフの場合、1つの技術は、以前のグラフ学習タスク(つまり、以前に受信したグラフ)からのサンプルを保存するための追加メモリを使用し、新しく受信したグラフの到着時に再生できるようにすることである。しかし、そのような場合には、追加メモリを実装するために大きいストレージオーバーヘッドが必要になる。そのような時間発展型グラフに適用され得る別の典型的な技術は、グラフAIモデルの重みの更新を制限するためにレギュラライザを使用することである。レギュラライザに基づいたアプローチは破滅的忘却の問題を抱えており、以前の過去タスクに対するパフォーマンスが著しく低下する可能性がある。モデル成長技術などの別のアプローチは、新たに到着したタスクのためのパラメータを分離し得る。しかし、モデル成長技術は、タスクの数が増えるにつれて拡張が困難になる。
(【0011】以降は省略されています)
この特許をJ-PlatPat(特許庁公式サイト)で参照する
関連特許
富士通株式会社
画像処理モデル
1か月前
富士通株式会社
ダウンサンプリング
5日前
富士通株式会社
ポイントクラウド分類
1か月前
富士通株式会社
OLT及びPONシステム
25日前
富士通株式会社
光受信装置及び光受信方法
5日前
富士通株式会社
光送信器及び光トランシーバ
1か月前
富士通株式会社
プログラム及びデータ処理装置
19日前
富士通株式会社
演算処理装置及び情報処理装置
1か月前
富士通株式会社
情報処理装置及び情報処理方法
11日前
富士通株式会社
情報処理装置および情報処理方法
5日前
富士通株式会社
テキスト案内される画像エディタ
1か月前
富士通株式会社
波長変換装置および波長変換方法
1か月前
富士通株式会社
ラックマウント装置及びラック装置
1か月前
富士通株式会社
書き込みアシスト回路及びSRAM
3日前
富士通株式会社
メモリ管理装置及びメモリ管理方法
1か月前
富士通株式会社
不正検知プログラム、方法、及び装置
11日前
富士通株式会社
通知プログラム、通知方法および通知装置
24日前
富士通株式会社
受光デバイス及び受光デバイスの製造方法
24日前
富士通株式会社
コンパイルプログラムおよびコンパイル方法
19日前
富士通株式会社
生成プログラム、生成方法および情報処理装置
1か月前
富士通株式会社
検出プログラム、検出方法および情報処理装置
1か月前
富士通株式会社
半導体装置、半導体装置の製造方法及び電子装置
17日前
富士通株式会社
探索プログラム、探索方法、および情報処理装置
1か月前
富士通株式会社
出張情報受付方法および出張情報受付プログラム
1か月前
富士通株式会社
生成プログラム、生成方法、および情報処理装置
3日前
富士通株式会社
ターゲット追跡のための方法、装置及び記憶媒体
1か月前
富士通株式会社
半導体装置、半導体装置の製造方法及び電子装置
1か月前
富士通株式会社
プログラム、データ処理方法およびデータ処理装置
1か月前
富士通株式会社
並列コンピューティング・カテゴリー分けプロセス
1か月前
富士通株式会社
データ処理装置、データ処理方法およびプログラム
1か月前
富士通株式会社
プログラム、情報処理方法およびクラスタシステム
3日前
富士通株式会社
量子計算制御プログラム、および量子計算制御方法
3日前
富士通株式会社
チェックプログラム、チェック方法及び情報処理装置
1か月前
富士通株式会社
情報処理プログラム、情報処理方法及び情報処理装置
24日前
富士通株式会社
情報出力プログラム、情報出力方法及び情報処理装置
1か月前
富士通株式会社
凝縮グラフ分布(CGD)に基づいたグラフ連続学習
1か月前
続きを見る
他の特許を見る