TOP
|
特許
|
意匠
|
商標
特許ウォッチ
Twitter
他の特許を見る
10個以上の画像は省略されています。
公開番号
2025164077
公報種別
公開特許公報(A)
公開日
2025-10-30
出願番号
2024067836
出願日
2024-04-18
発明の名称
情報処理プログラム、情報処理方法、および情報処理装置
出願人
富士通株式会社
代理人
個人
主分類
G06N
99/00 20190101AFI20251023BHJP(計算;計数)
要約
【課題】VQE計算を実施する際にかかる処理時間の低減化を図ること。
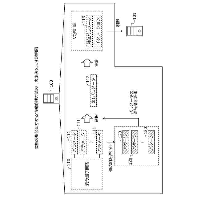
【解決手段】情報処理装置100は、所定の変分量子回路110を規定する複数のパラメータ111のそれぞれのパラメータ111の値の組み合わせを表す2以上のパターン120を特定する。情報処理装置100は、特定したそれぞれのパターン120に対する、量子化学計算に利用する所定のコスト関数の計算結果に基づいて、それぞれのパラメータ111に対して、VQE計算への寄与度を評価する。情報処理装置100は、評価した結果に基づいて、複数のパラメータ111のうち、VQE計算への寄与度が相対的に高いと判断される1以上の第1パラメータ112を選択する。情報処理装置100は、選択した1以上の第1パラメータ112を、値を更新する対象パラメータ113に設定して、VQE計算の少なくとも1回のイタレーションを実施するよう、演算部101を制御する。
【選択図】図1
特許請求の範囲
【請求項1】
変分量子固有値ソルバ法による計算における量子化学計算に利用する所定の変分量子回路を規定する複数のパラメータのそれぞれのパラメータの値の組み合わせを表す2以上のパターンを特定し、
特定した前記2以上のパターンのそれぞれのパターンに対する、前記量子化学計算に利用する所定のコスト関数の計算結果に基づいて、前記複数のパラメータのうち、前記計算への寄与度が相対的に高いと判断される1以上の第1パラメータを選択し、
選択した前記1以上の第1パラメータを、前記計算において値を更新する対象パラメータに設定して、前記計算の少なくとも1回のイタレーションを実施するよう、前記所定の変分量子回路を実行する演算部を制御する、
処理をコンピュータに実行させることを特徴とする情報処理プログラム。
続きを表示(約 1,900 文字)
【請求項2】
前記それぞれのパラメータは、離散的な複数の値のいずれかの値を取り得るとし、
前記特定する処理は、
実験計画法に従って、前記それぞれのパラメータの値の組み合わせ方を限定する直交表を参照して、前記それぞれのパラメータの値の組み合わせを表すすべてのパターンのうち、一部の2以上のパターンを特定する、ことを特徴とする請求項1に記載の情報処理プログラム。
【請求項3】
前記演算部を制御して、前記計算のイタレーションを所定の回数実施した場合に、前記複数のパラメータのうち、前記対象パラメータではない残余のパラメータのそれぞれのパラメータの値の組み合わせを表す2以上のパターンを新たに特定し、
新たに特定した前記2以上のパターンのそれぞれのパターンに対する、前記所定のコスト関数の計算結果に基づいて、前記残余のパラメータのうち、前記計算への寄与度が相対的に高いと判断される1以上の第1パラメータを新たに選択し、
新たに選択した前記1以上の第1パラメータを、前記対象パラメータに追加して、前記計算における、前記所定の回数に続く、少なくとも1回のイタレーションを実施するよう、前記演算部をさらに制御する、ことを特徴とする請求項1または2に記載の情報処理プログラム。
【請求項4】
前記選択する処理は、
特定した前記2以上のパターンのそれぞれのパターンに対する、前記所定のコスト関数の計算結果に基づいて、前記所定のコスト関数に対応する目的変数と、前記それぞれのパラメータに対応する説明変数との相関係数を算出し、前記複数のパラメータのうち、算出した前記相関係数が閾値以上である1以上のパラメータを、前記1以上の第1パラメータとして選択する、ことを特徴とする請求項1または2に記載の情報処理プログラム。
【請求項5】
前記選択する処理は、
特定した前記2以上のパターンのそれぞれのパターンに対する、前記所定のコスト関数の計算結果に基づいて、前記所定のコスト関数に対応する目的変数と、前記それぞれのパラメータに対応する説明変数と、前記説明変数にかかる係数とを含む回帰モデルを特定し、特定した前記回帰モデルにおいて、前記係数が閾値以上である1以上のパラメータを、前記1以上の第1パラメータとして選択する、ことを特徴とする請求項1または2に記載の情報処理プログラム。
【請求項6】
前記新たに特定する処理は、
前記演算部を制御して、前記計算のイタレーションを所定の回数実施した場合に、実験計画法に従って、前記残余のパラメータに含まれるパラメータの数が少ないほど、新たに特定するパターンの数が多くなるよう、前記残余のパラメータのそれぞれのパラメータの値の組み合わせを表す2以上のパターンを新たに特定する、ことを特徴とする請求項3に記載の情報処理プログラム。
【請求項7】
変分量子固有値ソルバ法による計算における量子化学計算に利用する所定の変分量子回路を規定する複数のパラメータのそれぞれのパラメータの値の組み合わせを表す2以上のパターンを特定し、
特定した前記2以上のパターンのそれぞれのパターンに対する、前記量子化学計算に利用する所定のコスト関数の計算結果に基づいて、前記複数のパラメータのうち、前記計算への寄与度が相対的に高いと判断される1以上の第1パラメータを選択し、
選択した前記1以上の第1パラメータを、前記計算において値を更新する対象パラメータに設定して、前記計算の少なくとも1回のイタレーションを実施するよう、前記所定の変分量子回路を実行する演算部を制御する、
処理をコンピュータが実行することを特徴とする情報処理方法。
【請求項8】
変分量子固有値ソルバ法による計算における量子化学計算に利用する所定の変分量子回路を規定する複数のパラメータのそれぞれのパラメータの値の組み合わせを表す2以上のパターンを特定し、
特定した前記2以上のパターンのそれぞれのパターンに対する、前記量子化学計算に利用する所定のコスト関数の計算結果に基づいて、前記複数のパラメータのうち、前記計算への寄与度が相対的に高いと判断される1以上の第1パラメータを選択し、
選択した前記1以上の第1パラメータを、前記計算において値を更新する対象パラメータに設定して、前記計算の少なくとも1回のイタレーションを実施するよう、前記所定の変分量子回路を実行する演算部を制御する、
制御部を有することを特徴とする情報処理装置。
発明の詳細な説明
【技術分野】
【0001】
本発明は、情報処理プログラム、情報処理方法、および情報処理装置に関する。
続きを表示(約 2,400 文字)
【背景技術】
【0002】
従来、材料開発または創薬研究などの分野において、対象の分子または対象の原子の性質を調査する量子化学計算を実施する手法として、VQE(Variational Quantum Eigensolver;変分量子固有値ソルバ)が存在する。VQEは、例えば、イタレーションと呼ばれる一連の処理を、収束条件を満たすまで繰り返し実施する、という計算を実施することになる。以下の説明では、当該計算を「VQE計算」と表記する場合がある。イタレーションは、例えば、変分量子回路を実行し、変分量子回路を実行して得た量子状態に基づいて、ハミルトニアンの期待値を算出し、ハミルトニアンの期待値を最小化するよう、変分量子回路のパラメータを更新する、という一連の処理である。
【0003】
先行技術としては、例えば、スピン変数を仮想的に連続変形する連続変数とし、制約条件を満たす評価関数の出力値を算出する最適化演算を実施するものがある。また、例えば、材料の組成に関する情報を説明変数とし、材料の物性値を目的変数とした学習用データから予測モデルを構築する技術がある。また、例えば、クラスタ外の変分量子回路の他のパラメータを固定した状態で、クラスタ内の変分量子回路のパラメータを最適化する技術がある。また、例えば、N個の入力パラメータの組み合わせを最適化する目的関数を定義する技術がある。また、例えば、変分量子回路を用いて計算されたエネルギーの期待値に基づいて、エネルギーの期待値が極小値を取るように、複数のパラメータのそれぞれのパラメータの更新後の値を計算する技術がある。
【先行技術文献】
【特許文献】
【0004】
特開2021-117977号公報
国際公開第2023/058519号
米国特許第11645442号明細書
米国特許出願公開第2014/0309974号明細書
国際公開第2023/144884号
【発明の概要】
【発明が解決しようとする課題】
【0005】
しかしながら、従来技術では、VQE計算を実施する際にかかる処理時間が増大してしまうという問題がある。例えば、変分量子回路を規定するパラメータの数が多いほど、イタレーション1回分にかかる処理時間が増大したり、イタレーションを実施する回数が増大したりする傾向があり、VQE計算を実施する際にかかる処理時間が増大してしまう。
【0006】
1つの側面では、本発明は、VQE計算を実施する際にかかる処理時間の低減化を図ることを目的とする。
【課題を解決するための手段】
【0007】
1つの実施態様によれば、変分量子固有値ソルバ法による計算における量子化学計算に利用する所定の変分量子回路を規定する複数のパラメータのそれぞれのパラメータの値の組み合わせを表す2以上のパターンを特定し、特定した前記2以上のパターンのそれぞれのパターンに対する、前記量子化学計算に利用する所定のコスト関数の計算結果に基づいて、前記複数のパラメータのうち、前記計算への寄与度が相対的に高いと判断される1以上の第1パラメータを選択し、選択した前記1以上の第1パラメータを、前記計算において値を更新する対象パラメータに設定して、前記計算の少なくとも1回のイタレーションを実施するよう、前記所定の変分量子回路を実行する演算部を制御する情報処理プログラム、情報処理方法、および情報処理装置が提案される。
【発明の効果】
【0008】
一態様によれば、VQE計算を実施する際にかかる処理時間の低減化を図ることが可能になる。
【図面の簡単な説明】
【0009】
図1は、実施の形態にかかる情報処理方法の一実施例を示す説明図である。
図2は、情報処理システム200の一例を示す説明図である。
図3は、情報処理装置100のハードウェア構成例を示すブロック図である。
図4は、量子計算装置201のハードウェア構成例を示すブロック図である。
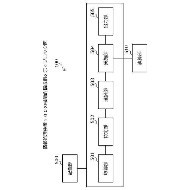
図5は、情報処理装置100の機能的構成例を示すブロック図である。
図6は、情報処理装置100の動作の一例を示す説明図(その1)である。
図7は、情報処理装置100の動作の一例を示す説明図(その2)である。
図8は、情報処理装置100の動作の一例を示す説明図(その3)である。
図9は、情報処理装置100の動作の一例を示す説明図(その4)である。
図10は、情報処理装置100の動作の一例を示す説明図(その5)である。
図11は、情報処理装置100の動作の具体例を示す説明図(その1)である。
図12は、情報処理装置100の動作の具体例を示す説明図(その2)である。
図13は、情報処理装置100の動作の具体例を示す説明図(その3)である。
図14は、情報処理装置100の動作の具体例を示す説明図(その4)である。
図15は、情報処理装置100の動作の具体例を示す説明図(その5)である。
図16は、情報処理装置100の動作の具体例を示す説明図(その6)である。
図17は、全体処理手順の一例を示すフローチャート(その1)である。
図18は、全体処理手順の一例を示すフローチャート(その2)である。
【発明を実施するための形態】
【0010】
以下に、図面を参照して、本発明にかかる情報処理プログラム、情報処理方法、および情報処理装置の実施の形態を詳細に説明する。
(【0011】以降は省略されています)
この特許をJ-PlatPat(特許庁公式サイト)で参照する
関連特許
富士通株式会社
半導体装置
1か月前
富士通株式会社
メッシュ微細化
1か月前
富士通株式会社
半導体デバイス
1か月前
富士通株式会社
画像処理モデル
1か月前
富士通株式会社
演算器及び演算方法
1か月前
富士通株式会社
ポイントクラウド分類
1か月前
富士通株式会社
アレイアンテナモジュール
1か月前
富士通株式会社
電子機器筐体及び電子機器
1か月前
富士通株式会社
OLT及びPONシステム
17日前
富士通株式会社
光送信器及び光トランシーバ
1か月前
富士通株式会社
演算処理装置及び情報処理装置
27日前
富士通株式会社
プログラム及びデータ処理装置
11日前
富士通株式会社
情報処理装置及び情報処理方法
3日前
富士通株式会社
基板及びこれを備えた電子装置
1か月前
富士通株式会社
通信制御装置及び移動中継装置
1か月前
富士通株式会社
テキスト案内される画像エディタ
1か月前
富士通株式会社
波長変換装置および波長変換方法
1か月前
富士通株式会社
ラックマウント装置及びラック装置
1か月前
富士通株式会社
メモリ管理装置及びメモリ管理方法
1か月前
富士通株式会社
不正検知プログラム、方法、及び装置
3日前
富士通株式会社
通知プログラム、通知方法および通知装置
16日前
富士通株式会社
受光デバイス及び受光デバイスの製造方法
16日前
富士通株式会社
管理装置、管理方法、および管理プログラム
1か月前
富士通株式会社
コンパイルプログラムおよびコンパイル方法
11日前
富士通株式会社
プログラム、情報処理方法および情報処理装置
1か月前
富士通株式会社
生成プログラム、生成方法および情報処理装置
1か月前
富士通株式会社
検出プログラム、検出方法および情報処理装置
1か月前
富士通株式会社
キャッシュ装置およびキャッシュ装置の制御方法
1か月前
富士通株式会社
プログラム、データ処理装置及びデータ処理方法
1か月前
富士通株式会社
制御プログラム、制御方法、および情報処理装置
1か月前
富士通株式会社
探索プログラム、探索方法、および情報処理装置
1か月前
富士通株式会社
出張情報受付方法および出張情報受付プログラム
1か月前
富士通株式会社
半導体装置、半導体装置の製造方法及び電子装置
9日前
富士通株式会社
半導体装置、半導体装置の製造方法及び電子装置
25日前
富士通株式会社
ターゲット追跡のための方法、装置及び記憶媒体
27日前
富士通株式会社
並列コンピューティング・カテゴリー分けプロセス
1か月前
続きを見る
他の特許を見る