TOP
|
特許
|
意匠
|
商標
特許ウォッチ
Twitter
他の特許を見る
公開番号
2025176163
公報種別
公開特許公報(A)
公開日
2025-12-03
出願番号
2025154022,2021146600
出願日
2025-09-17,2021-09-09
発明の名称
光学系及び撮像装置
出願人
株式会社タムロン
代理人
主分類
G02B
13/00 20060101AFI20251126BHJP(光学)
要約
【課題】小型の撮像システムに好適な小型軽量、高性能、且つ、開放Fnoが2.0より明るい光学系及び撮像装置を提供する。
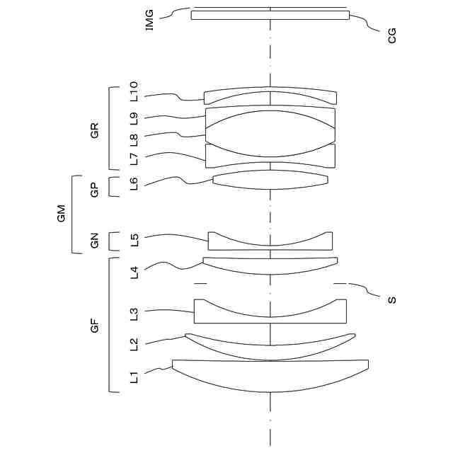
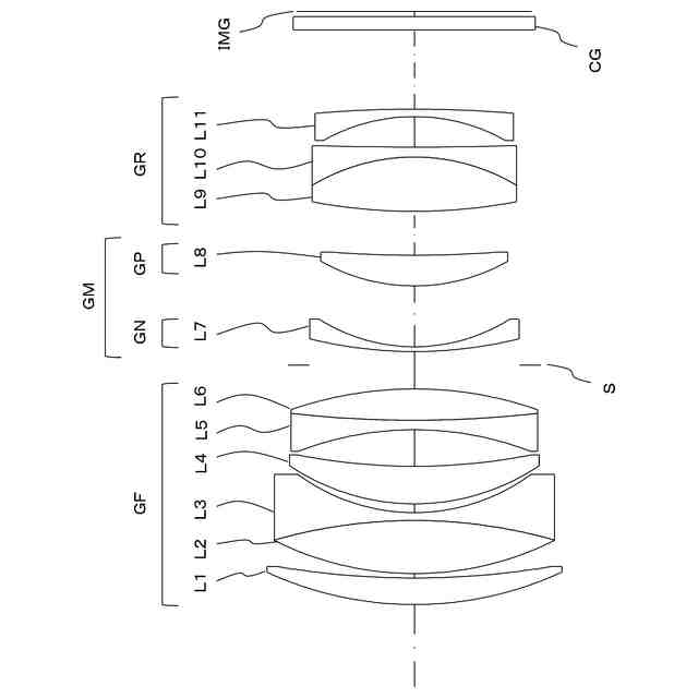
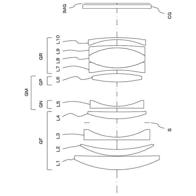
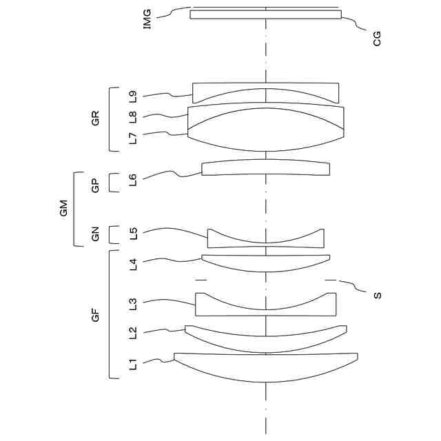
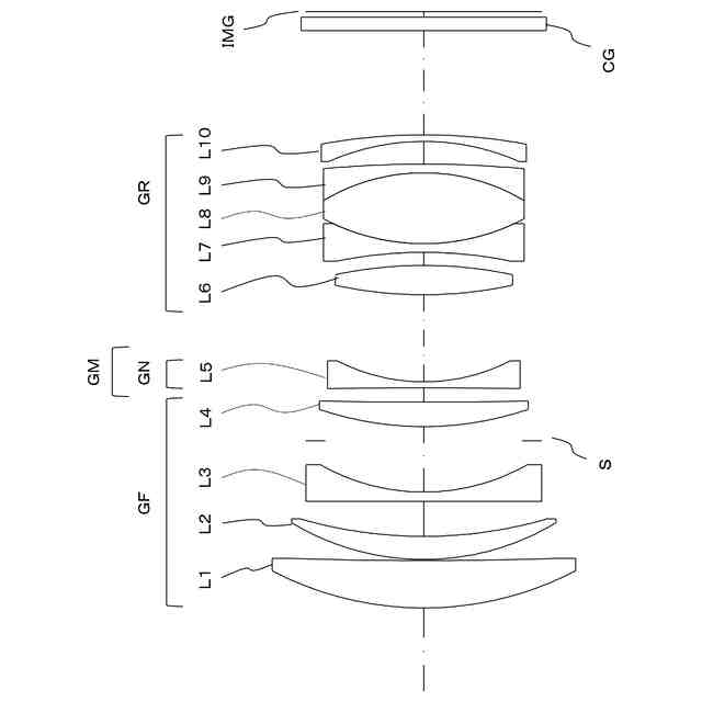
【解決手段】光学系は、物体側から順に合焦時に光軸方向に固定の物体側レンズ群GFと、合焦時に光軸方向に移動する1又は複数の合焦群(GN、GP)のみから構成される中央群GMと、合焦時に光軸方向に固定の像側レンズ群GRとから構成され、合焦群の少なくとも1つが像側に移動することで無限遠物体から有限距離物体への合焦を行い、像側レンズ群GRは負の屈折力の空気レンズを有し、軸上光束の径を決定するための開口絞りSが空気レンズより物体側に配置され、所定の条件式を満足する。また、当該光学系と、撮像素子とを備えた撮像装置とする。
【選択図】図1
特許請求の範囲
【請求項1】
物体側から順に、合焦時に光軸方向に固定の物体側レンズ群と、合焦時に光軸方向に移動する1又は複数の合焦群のみから構成される中央群と、合焦時に光軸方向に固定の像側レンズ群とから構成され、無限遠物体から有限距離物体への合焦時に、前記合焦群のうち少なくとも1つが像側に移動し、前記像側レンズ群は負の屈折力の空気レンズを有し、軸上光束の径を決定するための開口絞りが前記空気レンズより物体側に配置され、前記空気レンズの物体側面を構成するレンズが負の屈折力を有し、前記空気レンズを形作る像側のレンズは負の屈折力を有し、
以下の条件式(1)、及び条件式(3)を満足し、前記像側レンズ群は以下の条件式(12)を満足する正の屈折力を有するレンズを少なくとも1枚有することを特徴とする光学系。
0.23 <(FB×tanθm)/(f×tanω)< 0.50 ・・・(1)
0.50 < Dr/(f×tanω)< 1.60 ・・・(3)
1.835 ≦ Ndrp < 2.50 ・・・(12)
但し、
FB :当該光学系の最も像側の面から像面までの空気換算長
θm :当該光学系の無限遠合焦時の開放Fnoにおける軸上マージナル光線の像面への入射角度
f :当該光学系の無限遠合焦時の焦点距離
ω :当該光学系の無限遠合焦時の最大画角
Dr :前記空気レンズの像側面から像面までの距離
Ndrp:前記正の屈折力を有するレンズのd線における屈折率
続きを表示(約 1,200 文字)
【請求項2】
前記開口絞りが以下の条件式を満足する位置に配置されていることを特徴とする請求項1に記載の光学系。
0.92 < f/Fno/Ds < 2.50 ・・・(4)
但し、
Fno:当該光学系の無限遠合焦時の開放Fno
Ds :当該光学系の無限遠合焦時の開放Fnoにおける前記開口絞りの直径
【請求項3】
以下の条件式を満足することを特徴とする請求項1又は請求項2に記載の光学系。
0.00 < f/fs < 1.20 ・・・(5)
但し、
fs:前記開口絞りより物体側に配置されるレンズの無限遠合焦時における合成焦点距離
【請求項4】
前記合焦群のうち少なくとも1つが以下の条件式を満足することを特徴とする請求項1から請求項3のいずれか一項に記載の光学系。
1.20 < βN < 4.00 ・・・(6)
但し、
βN:前記合焦群の無限遠合焦時の横倍率
【請求項5】
前記合焦群のうち少なくとも1つが以下の条件式を満足する請求項1から請求項4のいずれか一項に記載の光学系。
-3.00 < fN/f < -0.30 ・・・(7)
但し、
fN:前記合焦群の焦点距離
【請求項6】
前記合焦群の少なくとも1つにおいて、最も像側の面が像側に凹の形状を有することを特徴とする請求項1から請求項5のいずれか一項に記載の光学系。
【請求項7】
前記中央群は、無限遠物体から有限距離物体への合焦時に像側に移動する前記合焦群の他に以下の条件式を満足する正の屈折力を有する合焦群を有することを特徴とする請求項1から請求項6のいずれか一項に記載の光学系。
0.40 < fP/f < 10.00 ・・・(8)
但し、
fP:前記正の屈折力を有する合焦群の焦点距離
【請求項8】
以下の条件式を満足することを特徴とする請求項1から請求項7のいずれか一項に記載の光学系。
-1.00 < f/fr < 3.00 ・・・(9)
但し、
fr:前記像側レンズ群の焦点距離
【請求項9】
以下の条件式を満足することを特徴とする請求項1から請求項8のいずれか一項に記載の光学系。
0.50 < ff/f < 3.50 ・・・(10)
但し、
ff:前記物体側レンズ群の焦点距離
【請求項10】
前記物体側レンズ群は、像側面に像側に凹面の形状を有し負の屈折力を有するレンズを少なくとも1枚有し、前記負の屈折力を有するレンズの中で最も屈折力の強いレンズより物体側が正の屈折力を有することを特徴とする請求項1から請求項9のいずれか一項に記載の光学系。
(【請求項11】以降は省略されています)
発明の詳細な説明
【技術分野】
【0001】
本件発明は、光学系及び撮像装置に関し、特に、固体撮像素子等を用いた小型の撮像装置に好適な光学系及び撮像装置に関する。
続きを表示(約 1,600 文字)
【背景技術】
【0002】
従来より、デジタルスチルカメラやデジタルビデオカメラ等の固体撮像素子を用いた撮影装置が普及している。これらの撮像装置に用いられる固体撮像素子の高画素化に伴い、光学系には小型軽量を維持しつつ、高い解像性能が求められるようになってきている。
【0003】
また、固体撮像素子の大型化に伴い、大きなボケが求められるようになってきている。そのため、光学系には被写界深度の浅い、開放Fnoが2.0より明るい大口径レンズが求められている。
【0004】
高い解像性能を有する大口径レンズとして、例えば、第1レンズ群と、正の屈折力を有する第2レンズ群と、正の屈折力を有する第3レンズ群とで構成され、Fnoが1.8より明るい光学系が提案されている(「特許文献1」参照)。
【先行技術文献】
【特許文献】
【0005】
特開2016-161646号公報
【発明の概要】
【発明が解決しようとする課題】
【0006】
特許文献1に開示の撮像装置は高い光学性能を実現しているものの、特許文献1に開示の光学系では、フランジバックが長く、合焦群の重量も重いため、鏡筒全体を小型化する点で好ましくない。
【0007】
本件発明の課題は、小型の撮像システムに好適な小型軽量、高性能、且つ、開放Fno2.0より明るい大口径の光学系及び撮像装置を提供することにある。
【課題を解決するための手段】
【0008】
上記課題を解決するため、本発明に係る光学系は、物体側から順に、合焦時に光軸方向に固定の物体側レンズ群と、合焦時に光軸方向に移動する1又は複数の合焦群のみから構成される中央群と、合焦時に光軸方向に固定の像側レンズ群とから構成され、無限遠物体から有限距離物体への合焦時に、前記合焦群のうち少なくとも1つが像側に移動し、前記像側レンズ群は負の屈折力の空気レンズを有し、軸上光束の径を決定するための開口絞りが前記空気レンズより物体側に配置され、前記空気レンズの物体側面を構成するレンズが負の屈折力を有し、前記空気レンズを形作る像側のレンズは負の屈折力を有し、
以下の条件式(1)、及び条件式(3)を満足し、前記像側レンズ群は以下の条件式(12)を満足する正の屈折力を有するレンズを少なくとも1枚有することを特徴とする。
0.23 <(FB×tanθm)/(f×tanω)< 0.50 ・・・(1)
0.50 < Dr/(f×tanω)< 1.60 ・・・(3)
1.835 ≦ Ndrp < 2.50 ・・・(12)
但し、
FB :当該光学系の最も像側の面から像面までの空気換算長
θm :当該光学系の無限遠合焦時の開放Fnoにおける軸上マージナル光線の像面への入射角度
f :当該光学系の無限遠合焦時の焦点距離
ω :当該光学系の無限遠合焦時の最大画角
Dr :前記空気レンズの像側面から像面までの距離
Ndrp:前記正の屈折力を有するレンズのd線における屈折率
【0009】
また、上記課題を解決するため、本件発明に係る撮像装置は、上記記載の光学系と、当該光学系が形成する光学像を受光して電気的画像信号に変換する撮像素子とを備えることを特徴とする。
【発明の効果】
【0010】
本発明によれば、小型の撮像システムに好適な小型軽量、高性能、且つ、開放Fnoが2.0より明るい大口径の光学系及び撮像装置を提供することができる。
【図面の簡単な説明】
(【0011】以降は省略されています)
この特許をJ-PlatPat(特許庁公式サイト)で参照する
関連特許
株式会社タムロン
ズームレンズ及び撮像装置
3日前
株式会社タムロン
ズームレンズ及び撮像装置
1か月前
株式会社タムロン
路面状態判別システム、路面状態判別方法および移動体
2か月前
株式会社タムロン
光学系及び撮像装置
5日前
株式会社タムロン
光学系及び撮像装置
5日前
株式会社タムロン
光学系及び撮像装置
5日前
株式会社タムロン
ズームレンズ及び撮像装置
24日前
カンタツ株式会社
光学系
1か月前
株式会社シグマ
結像光学系
1か月前
株式会社シグマ
結像光学系
1か月前
日本精機株式会社
ミラーユニット
1か月前
アイカ工業株式会社
反射防止フィルム
5日前
日本電気株式会社
光モジュール
1か月前
個人
多方向視差効果のための微細穴加工
1か月前
豊田合成株式会社
調光装置
18日前
株式会社コシナ
投射ズームレンズ
24日前
日東電工株式会社
導光部材
1か月前
日東電工株式会社
光学積層体
1か月前
京セラ株式会社
光学系
1か月前
日本精機株式会社
ヘッドアップディスプレイ
1か月前
日本精機株式会社
ヘッドアップディスプレイ
1か月前
キヤノン株式会社
表示装置
3日前
キヤノン株式会社
表示装置
10日前
日本精機株式会社
ヘッドアップディスプレイ装置
1か月前
住友化学株式会社
複合偏光板
3日前
古河電気工業株式会社
光ファイバケーブル
3日前
京セラ株式会社
アイソレータ
10日前
日本精機株式会社
ヘッドアップディスプレイ装置
1か月前
マクセル株式会社
映像表示装置
24日前
古河電気工業株式会社
光ファイバケーブル
3日前
株式会社タムロン
ズームレンズ及び撮像装置
1か月前
株式会社タムロン
ズームレンズ及び撮像装置
3日前
株式会社リコー
光走査装置及び画像形成装置
1か月前
スタンレー電気株式会社
透光性樹脂部材
1か月前
レーザーテック株式会社
光学装置及び調整方法
1か月前
古河電気工業株式会社
融着機、ピッチ変換部材
3日前
続きを見る
他の特許を見る