TOP
|
特許
|
意匠
|
商標
特許ウォッチ
Twitter
他の特許を見る
10個以上の画像は省略されています。
公開番号
2025177440
公報種別
公開特許公報(A)
公開日
2025-12-05
出願番号
2024084282
出願日
2024-05-23
発明の名称
光学装置
出願人
東芝テック株式会社
代理人
弁理士法人鈴榮特許綜合事務所
主分類
G02B
26/10 20060101AFI20251128BHJP(光学)
要約
【課題】光源とコリメータレンズの位置合わせが容易で高い光学特性を有する光学装置を提供すること。
【解決手段】光学装置は、光源パッケージと、光源ホルダと、レンズホルダと、ベース部材と、を有する。光源パッケージは、基板の実装面に沿う第1の方向に光を出射する向きで、実装面に光源を実装したものである。光源ホルダは、実装面と平行な基板の裏面に面で接触する平らな取付面と取付面と直交する平らな基準面を有し、基準面と第1の方向が直交する向きで光源パッケージを保持したものである。レンズホルダは、光源から出射される光を透過させて平行光にするコリメータレンズを保持したものである。ベース部材は、光源ホルダの基準面と面で接触する平らな当接面を有し、コリメータレンズの焦点を光源の発光面に合わせて、且つ光源から出射される光の光軸をコリメータレンズの光軸に合わせるように、光源ホルダとレンズホルダを位置合わせして固定したものである。
【選択図】図3
特許請求の範囲
【請求項1】
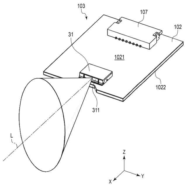
基板の実装面に沿う第1の方向に光を出射する向きで、前記実装面に光源を実装した光源パッケージと、
前記実装面と平行な前記基板の裏面に面で接触する平らな取付面と前記取付面と直交する平らな基準面を有し、前記基準面と前記第1の方向が直交する向きで前記光源パッケージを保持した光源ホルダと、
前記光源から出射される光を透過させて平行光にするコリメータレンズを保持したレンズホルダと、
前記光源ホルダの前記基準面と面で接触する平らな当接面を有し、前記コリメータレンズの焦点を前記光源の発光面に合わせて、且つ前記光源から出射される光の光軸を前記コリメータレンズの光軸に合わせるように、前記光源ホルダと前記レンズホルダを位置合わせして固定したベース部材と、
を有する光学装置。
続きを表示(約 430 文字)
【請求項2】
前記ベース部材は、前記当接面に面で接触した前記基準面を固定端とした片持ち状態で前記光源ホルダを固定する、
請求項1に記載の光学装置。
【請求項3】
前記ベース部材は、前記当接面を有する立壁部分を有し、前記立壁部分を厚み方向に貫通した挿通孔に挿通したネジを前記光源ホルダの前記基準面を貫通して設けたネジ孔に螺合することで、前記光源ホルダを固定する、
請求項2に記載の光学装置。
【請求項4】
前記立壁部分に設けた前記挿通孔は、前記光源ホルダの前記立壁部分に対する前記第1の方向と直交する方向への移動を許容するように、前記ネジとの間にガタを有する、
請求項3に記載の光学装置。
【請求項5】
前記ベース部材は、前記第1の方向に延設したスライド溝を有し、
前記レンズホルダは、前記スライド溝にスライド可能に嵌合するスライダ突起を有する、
請求項1に記載の光学装置。
発明の詳細な説明
【技術分野】
【0001】
本発明の実施形態は、例えば、画像形成装置の光走査装置に組み込まれる光学装置に関する。
続きを表示(約 1,900 文字)
【背景技術】
【0002】
例えば、画像形成装置の光走査装置は、半導体レーザとコリメータレンズを含む偏向前光学系をユニット化した光学装置を備える。光走査装置によって感光体ドラムの表面にズレや歪みの無い静電潜像を形成するには、半導体レーザの光軸とコリメータレンズの光軸を一致させ、且つコリメータレンズの焦点を半導体レーザの発光面に精度よく合わせる必要がある。
【0003】
例えば、半導体レーザは、基台の孔に圧入により固定し、コリメータレンズは、基台に取り付けた鏡筒に接着剤を用いて固定する。このとき、例えば、半導体レーザから出射してコリメータレンズを透過した光をモニタし、像にズレや歪みを生じない姿勢で半導体レーザとコリメータレンズを固定する。
【先行技術文献】
【特許文献】
【0004】
特開平6-82710号公報
【発明の概要】
【発明が解決しようとする課題】
【0005】
例えば、半導体レーザを基台に対して位置調整するためには、基台の孔に対して半導体レーザを移動させる必要がある。また、コリメータレンズを鏡筒に対して位置調整するためには、接着剤を硬化させる前に鏡筒に対してコリメータレンズを移動させる必要がある。このため、半導体レーザとコリメータレンズの位置合わせに手間がかかり、高い精度で位置合わせすることが難しく、十分に満足のいく高い光学特性を有する光学装置を得ることは難しい。
【0006】
本発明が解決しようとする課題は、光源とコリメータレンズの位置合わせが容易で高い光学特性を有する光学装置を提供することである。
【課題を解決するための手段】
【0007】
実施形態の光学装置は、光源パッケージと、光源ホルダと、レンズホルダと、ベース部材と、を有する。光源パッケージは、基板の実装面に沿う第1の方向に光を出射する向きで、実装面に光源を実装したものである。光源ホルダは、実装面と平行な基板の裏面に面で接触する平らな取付面と取付面と直交する平らな基準面を有し、基準面と第1の方向が直交する向きで光源パッケージを保持したものである。レンズホルダは、光源から出射される光を透過させて平行光にするコリメータレンズを保持したものである。ベース部材は、光源ホルダの基準面と面で接触する平らな当接面を有し、コリメータレンズの焦点を光源の発光面に合わせて、且つ光源から出射される光の光軸をコリメータレンズの光軸に合わせるように、光源ホルダとレンズホルダを位置合わせして固定したものである。
【図面の簡単な説明】
【0008】
図1は、実施形態に係る光学装置を組み込んだ画像形成装置の概略図である。
図2は、図1の画像形成装置に組み込まれた光走査装置の平面図である。
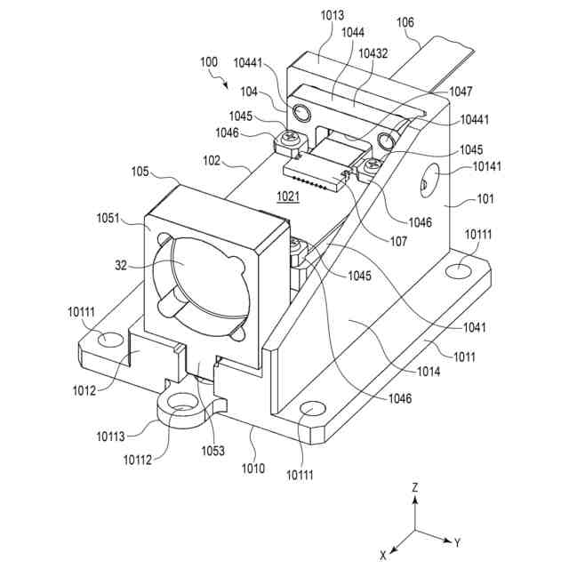
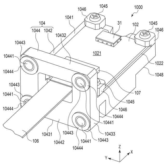
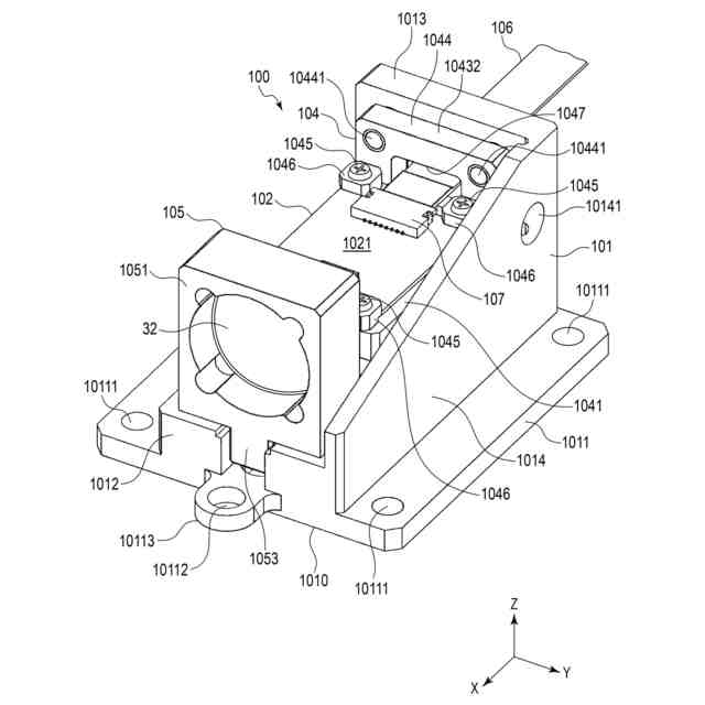
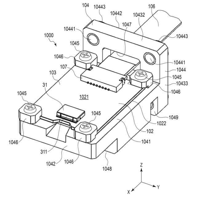
図3は、図2の光走査装置に組み込まれた実施形態に係る光学装置の斜視図である。
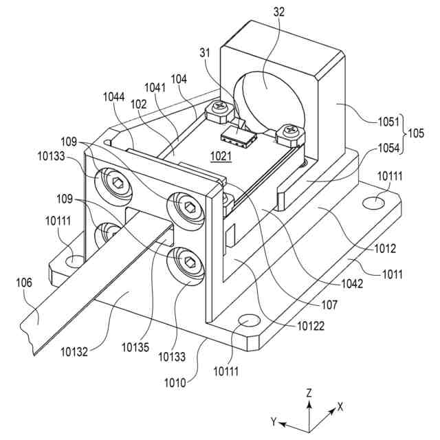
図4は、図3の光学装置の分解斜視図である。
図5は、図3の光学装置の光源パッケージの斜視図である。
図6は、図5の光源パッケージを光源ホルダに取り付けた光源ユニットの斜視図である。
図7は、図6の光源ユニットを異なる方向から見た斜視図である。
図8は、図3の光学装置を異なる方向から見た斜視図である。
図9は、図3の光学装置をベース部材の底面側から見た底面図である。
図10は、図3の光学装置のベース部材に対するレンズホルダの固定位置を調整する手順について説明するための図である。
図11は、図3の光学装置のベース部材に対する光源ホルダの固定位置を調整する手順について説明するための図である。
【発明を実施するための形態】
【0009】
図1を参照して、本発明の一実施形態に係る光学装置100を組み込んだ画像形成装置1(MFP:Multi Function Peripheral)について説明する。光学装置100は、プリンタや複写機などの画像形成装置の他に、測距装置などに組み込むことができる。
【0010】
以下の説明では、同一の構成要素に同一の参照符号を付して、重ねての説明を省略する場合がある。なお、以下の説明に用いる図面は、各部の縮尺を適宜変更している場合がある。また、図面は、説明を分かり易くするため、構成を簡略化もしくは省略して示す場合がある。
(【0011】以降は省略されています)
この特許をJ-PlatPat(特許庁公式サイト)で参照する
関連特許
東芝テック株式会社
光学装置
2日前
東芝テック株式会社
プリンタ
2日前
東芝テック株式会社
プリンタ装置
3日前
東芝テック株式会社
レンズミラーアレイ
2日前
東芝テック株式会社
画像形成装置及びサーバ
3日前
東芝テック株式会社
サーバ及び画像形成装置
4日前
東芝テック株式会社
冷却装置および画像形成装置
2日前
東芝テック株式会社
取引処理装置及びプログラム
9日前
東芝テック株式会社
画像形成装置及びその調整方法
2日前
東芝テック株式会社
画像形成装置及びその制御方法
2日前
東芝テック株式会社
会計装置及び情報処理プログラム
9日前
東芝テック株式会社
スポーツ指導装置およびプログラム
3日前
東芝テック株式会社
棚入出力システムと取引システムとの同期
2日前
東芝テック株式会社
情報処理装置、情報処理プログラム及び情報処理方法
2日前
東芝テック株式会社
コンピュータビジョンを使用するセルフチェックアウトにおける顧客支援
4日前
カンタツ株式会社
光学系
1か月前
住友化学株式会社
偏光板
1か月前
株式会社シグマ
結像光学系
1か月前
株式会社シグマ
結像光学系
1か月前
住友化学株式会社
垂直偏光板
1か月前
日本精機株式会社
ミラーユニット
1か月前
古河電気工業株式会社
融着機
1か月前
アイカ工業株式会社
反射防止フィルム
4日前
日本電気株式会社
光モジュール
1か月前
個人
多方向視差効果のための微細穴加工
1か月前
豊田合成株式会社
調光装置
17日前
株式会社コシナ
投射ズームレンズ
23日前
日東電工株式会社
導光部材
1か月前
京セラ株式会社
光学系
1か月前
日東電工株式会社
光学積層体
1か月前
三菱電機株式会社
レンズモジュール
1か月前
日本精機株式会社
ヘッドアップディスプレイ
1か月前
日本精機株式会社
ヘッドアップディスプレイ
1か月前
AGC株式会社
インフィニティミラー
1か月前
キヤノン株式会社
表示装置
9日前
キヤノン株式会社
表示装置
2日前
続きを見る
他の特許を見る