TOP
|
特許
|
意匠
|
商標
特許ウォッチ
Twitter
他の特許を見る
10個以上の画像は省略されています。
公開番号
2025177919
公報種別
公開特許公報(A)
公開日
2025-12-05
出願番号
2024085081
出願日
2024-05-24
発明の名称
プリンタ
出願人
東芝テック株式会社
代理人
弁理士法人i.PARTNERS特許事務所
主分類
G06F
3/12 20060101AFI20251128BHJP(計算;計数)
要約
【課題】機能拡張が容易なプリンタを提供する。
【解決手段】実施形態のプリンタは、API,第1及び第2のラッパーAPI,インストール手段,及び実行手段を備える。APIは、プリンタの各機能をインタフェースする。第1及び第2のラッパーAPIは、前記APIのプログラミング言語を変換し、第1及び第2のプログラミング言語実行環境で前記各機能の1以上を利用可能にする。インストール手段は、第1及び第2のプログラミング言語を使って作成し、第1及び第2のプログラミング言語実行環境で前記各機能の1以上を利用可能にすると共に、前記第1のプログラミング言語実行環境で前記各機能の1以上を利用する際に使用するデータの編集を、前記第2のプログラミング言語実行環境で実行できる機能を含むアプリケーションをインストールする。実行手段は、前記アプリケーションを実行する。
【選択図】図3
特許請求の範囲
【請求項1】
ラベル又はタグの画像を形成する印刷制御を含むプリンタの各機能をインタフェースするAPI(Application Programming Interface)と、
前記APIのプログラミング言語を変換し、第1のプログラミング言語実行環境で前記各機能の1以上を利用可能にする第1のラッパーAPIと、
前記APIのプログラミング言語を変換し、第2のプログラミング言語実行環境で前記各機能の1以上を利用可能にする第2のラッパーAPIと、
第1のプログラミング言語と第2のプログラミング言語を使って作成し、前記第1のプログラミング言語実行環境と前記第2のプログラミング言語実行環境で前記各機能の1以上を利用可能にすると共に、前記第1のプログラミング言語実行環境で前記各機能の1以上を利用する際に使用するデータの編集を、前記第2のプログラミング言語実行環境で実行できる機能を含むアプリケーションをインストールする手段と、
前記アプリケーションを前記第1のプログラミング言語実行環境で実行する手段と、
前記アプリケーションを前記第2のプログラミング言語実行環境で実行する手段と、を備えることを特徴とするプリンタ。
続きを表示(約 530 文字)
【請求項2】
請求項1において、
前記第1のプログラミング言語は、qml(Qt Modeling Languate)であり、
前記第2のプログラミング言語は、Python、HTML、CSS、Javascriptのいずれかを含むことを特徴とするプリンタ。
【請求項3】
請求項1において、
前記第1のプログラミング言語実行環境は、Qtであり、
前記第2のプログラミング言語実行環境は、Pythonサーバを利用したWebアプリケーション実行環境であることを特徴とするプリンタ。
【請求項4】
請求項1において、
前記第1のプログラミング言語と前記第1のラッパーAPIラッパーとで、前記プリンタの各機能の中の入力デバイス制御,パネル制御及び印刷制御を利用したスタンドアロン印刷機能をプログラミングしていることを特徴とするプリンタ。
【請求項5】
請求項1において、
前記第2のプログラミング言語と前記第2のラッパーAPIラッパーとで、前記プリンタの各機能の中のネットワーク制御を利用したラベルテンプレートの編集機能をプログラミングしていることを特徴とするプリンタ。
発明の詳細な説明
【技術分野】
【0001】
本発明の実施形態は、プリンタに関する。
続きを表示(約 2,400 文字)
【背景技術】
【0002】
ラベルプリンタは、ラベルシートに文字やバーコードなどの画像を印刷してラベルを形成する。印刷する画像データは、パーソナルコンピュータ(PC;Personal Computer)などで作成・編集してラベルプリンタに送信する。ラベルプリンタは、標準印刷機能として、PCなどからの信号を受けて印刷ジョブを実行する機能を備えている。
【0003】
ラベルプリンタは、印刷機能を拡張することによって、スタンドアロン印刷機能を追加的に備えることができる。スタンドアロン印刷機能を備えるラベルプリンタは、プリンタ自身がバーコードリーダーなどの外部入力デバイスから情報を取得し、プリンタ内でラベルのテンプレートデータと合成して印刷することができる。印刷機能を拡張するには、ラベルプリンタのファームウエアとは別に、スタンドアロン印刷機能を実行するアプリケーションソフトウェアのパッケージをラベルプリンタにインストールする必要がある。以下、アプリケーションソフトウェアを単に「アプリ」と称する場合がある。
【0004】
しかしながら、これまでのスタンドアロン印刷機能は、アプリパッケージ内に予め定義したラベルプリントデータ(テンプレートデータ)を固定的に利用するしかない。テンプレートデータを改変したい場合、改変したテンプレートデータをパッケージしたアプリを再度インストールしなければならない。
【先行技術文献】
【特許文献】
【0005】
特開2014-226869号公報
特開2004-54791号公報
特開2017-220023号公報
特表2014-505277号公報
【発明の概要】
【発明が解決しようとする課題】
【0006】
本発明の実施形態が解決しようとする課題は、機能拡張が容易なプリンタを提供することである。
【課題を解決するための手段】
【0007】
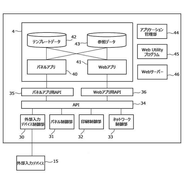
本発明の実施形態のプリンタは、API(Application Programming Interface),第1のラッパーAPI,第2のラッパーAPI,インストール手段,及び実行手段を備える。APIは、ラベル又はタグの画像を形成する印刷制御を含むプリンタの各機能をインタフェースする。第1のラッパーAPIは、前記APIのプログラミング言語を変換し、第1のプログラミング言語実行環境で前記各機能の1以上を利用可能にする。第2のラッパーAPIは、前記APIのプログラミング言語を変換し、第2のプログラミング言語実行環境で前記各機能の1以上を利用可能にする。インストール手段は、第1のプログラミング言語と第2のプログラミング言語を使って作成し、前記第1のプログラミング言語実行環境と前記第2のプログラミング言語実行環境で前記各機能の1以上を利用可能にすると共に、前記第1のプログラミング言語実行環境で前記各機能の1以上を利用する際に使用するデータの編集を、前記第2のプログラミング言語実行環境で実行できる機能を含むアプリケーションをインストールする。実行手段は、前記アプリケーションを前記第1のプログラミング言語実行環境で実行する手段、及び前記アプリケーションを前記第2のプログラミング言語実行環境で実行する手段を備える。
【図面の簡単な説明】
【0008】
実施形態に係るプリンタを含むシステム構成図である。
上記プリンタのハードウェア構成を示すブロック図である。
上記プリンタの機能構成を示すブロック図である。
上記プリンタが実行するスタンドアロン印刷機能の説明図である。
スタンドアロン印刷によって印刷するラベルのテンプレートである。
スタンドアロン印刷によって印刷するラベルデータである。
スタンドアロン印刷で引き当てる参照データのデータベースである。
スタンドアロン印刷のアプリをインストールし、印刷を実行するフローチャートである。
アプリをインストールするWeb Utility画面である。
スタンドアロン印刷を実行する際のパネル表示画面である。
参照データを変更するWeb Utility画面である。
テンプレートデータを編集するWeb Utility画面である。
【発明を実施するための形態】
【0009】
以下、実施形態に従うプリンタについて、ラベルプリンタを一例に添付図面を参照しながら詳述する。なお、各図において、同一の構成には同一の符号を付している。
【0010】
図1は、実施形態のラベルプリンタ1を利用したシステム構成の一例である。ラベルプリンタ1およびパーソナルコンピュータ(PC)10は、LAN(Local Area Network)11などのネットワークに接続している。LAN11は、さらに無線LANルーター12を接続している。スマートデバイス13は、無線LANルーター12を介して例えばWiFi(登録商標)でLAN11に無線接続している。パーソナルコンピュータ10とスマートデバイス13は、各々Webブラウザ14を利用可能である。外部入力デバイス15は、ラベルプリンタ1に有線又は無線で接続している。LAN(Local Area Network)11は、ファイアウォールなどを介して、さらにインターネットに接続してもよい。ラベルプリンタ1が利用するドライバやアプリは、インターネットを介してメーカーが提供するWebサイトからダウンロードできるようにしてよい。
(【0011】以降は省略されています)
この特許をJ-PlatPat(特許庁公式サイト)で参照する
関連特許
東芝テック株式会社
プリンタ
1か月前
東芝テック株式会社
プリンタ
2日前
東芝テック株式会社
光学装置
2日前
東芝テック株式会社
プリンタ装置
9日前
東芝テック株式会社
プリンタ装置
3日前
東芝テック株式会社
画像形成装置
1か月前
東芝テック株式会社
取引処理システム
9日前
東芝テック株式会社
取引処理システム
1か月前
東芝テック株式会社
レンズミラーアレイ
2日前
東芝テック株式会社
ショッピングカート
1か月前
東芝テック株式会社
情報処理装置及び方法
17日前
東芝テック株式会社
画像形成装置及びサーバ
3日前
東芝テック株式会社
サーバ及び画像形成装置
4日前
東芝テック株式会社
チェックアウトシステム
23日前
東芝テック株式会社
情報処理装置及びプログラム
1か月前
東芝テック株式会社
情報処理装置及びプログラム
1か月前
東芝テック株式会社
情報処理装置及びプログラム
1か月前
東芝テック株式会社
情報処理装置及びプログラム
1か月前
東芝テック株式会社
冷却装置および画像形成装置
2日前
東芝テック株式会社
制御装置、及び画像形成装置
1か月前
東芝テック株式会社
情報処理装置及びプログラム
9日前
東芝テック株式会社
情報処理装置及びプログラム
1か月前
東芝テック株式会社
取引処理装置及びプログラム
9日前
東芝テック株式会社
画像形成装置及びその制御方法
2日前
東芝テック株式会社
画像形成装置およびプログラム
9日前
東芝テック株式会社
インターロックおよびプリンタ
1か月前
東芝テック株式会社
画像形成装置及びその調整方法
2日前
東芝テック株式会社
情報処理装置及び情報処理方法
1か月前
東芝テック株式会社
会計装置及び情報処理プログラム
9日前
東芝テック株式会社
データ処理装置及びデータ処理方法
1か月前
東芝テック株式会社
スポーツ指導装置およびプログラム
3日前
東芝テック株式会社
無線タグ通信装置、およびプログラム
9日前
東芝テック株式会社
情報処理装置及び情報処理プログラム
1か月前
東芝テック株式会社
情報処理装置及び情報処理プログラム
1か月前
東芝テック株式会社
情報処理装置、及び商品登録システム
1か月前
東芝テック株式会社
販売データ処理装置およびプログラム
1か月前
続きを見る
他の特許を見る