TOP
|
特許
|
意匠
|
商標
特許ウォッチ
Twitter
他の特許を見る
公開番号
2025177443
公報種別
公開特許公報(A)
公開日
2025-12-05
出願番号
2024084285
出願日
2024-05-23
発明の名称
画像形成装置及びその調整方法
出願人
東芝テック株式会社
代理人
弁理士法人鈴榮特許綜合事務所
主分類
G03G
21/00 20060101AFI20251128BHJP(写真;映画;光波以外の波を使用する類似技術;電子写真;ホログラフイ)
要約
【課題】像担持面へのトナー付着量を適正に調整する。
【解決手段】 実施形態の画像形成装置は、形成部、センサ、調整部、記憶部及び決定部を備える。形成部は、像担持面にトナーを付着させて画像を形成する。センサは、像担持面に対向し、像担持面からの反射光量を検出する。調整部は、像担持面のうちの予め定められた濃度値の画像を形成部により形成した領域からの反射光に関するセンサの検出値を目標値に近づけるべく、形成部による画像形成に伴う像担持面へのトナーの付着量を調整する。記憶部は、像担持面のうちの基準付着量のトナーを付着させた領域の反射率に応じた基準反射率を呈する基準面からの反射光に関するセンサの検出値に応じた基準値を記憶する。決定部は、像担持面のうちのトナー付着量がゼロである領域からの反射光に関するセンサの検出値と、記憶部により記憶された基準値とに基づいて、目標値を決定する。
【選択図】 図5
特許請求の範囲
【請求項1】
像担持体に設けられた像担持面にトナーを付着させて画像を形成する形成部と、
前記像担持面に対向して設けられ、前記像担持面からの反射光量を検出するセンサと、
前記像担持面のうちの予め定められた濃度値の画像を前記形成部により形成した領域からの反射光に関する前記センサの検出値を目標値に近づけるべく、前記形成部による画像形成に伴う前記像担持面へのトナーの付着量を調整する調整部と、
前記像担持面のうちの予め定められた基準付着量のトナーを付着させた領域の反射率に応じた基準反射率を呈する基準面からの反射光に関する前記センサの検出値に応じた基準値を記憶する記憶部と、
前記像担持面のうちのトナー付着量がゼロである領域からの反射光に関する前記センサの検出値としての像担持面検出値と、前記記憶部により記憶された基準値とに基づいて、前記目標値を決定する決定部と、
を具備した画像形成装置。
続きを表示(約 1,000 文字)
【請求項2】
前記記憶部には、前記画像形成装置の製造時に、前記センサを前記像担持面に対向して配置する前に前記センサに前記基準面を対向させ、この状態にて前記センサにより得られる検出値に応じた基準値を記憶させる、
請求項1に記載の画像形成装置。
【請求項3】
前記決定部は、
前記像担持面へのトナーの付着量と前記センサの検出値とを直交2軸とした座標系において、前記記憶部に記憶された基準値に応じた検出値と前記基準付着量とに関する点と、前記像担持面検出値と付着量ゼロとに関する点と、を通る一次関数を求め、
付着量ゼロ及び前記基準付着量とは異なる目標付着量に関して前記一次関数に含まれる点に応じた検出値を前記目標値として決定する、
請求項1に記載の画像形成装置。
【請求項4】
前記調整部は、予め定められた調整用濃度値の画像を前記形成部により形成した領域からの反射光に関する前記センサの検出値を目標値に近づけるべく、前記形成部による画像形成に伴う前記像担持面へのトナーの付着量を調整する、
請求項1に記載の画像形成装置。
【請求項5】
前記基準反射率は、前記センサの検出値が目標値になるトナー付着状況における前記像担持面での反射率よりも小さい、
請求項1に記載の画像形成装置。
【請求項6】
像担持体に設けられた像担持面にトナーを付着させて画像を形成する形成部と、
前記像担持面に対向して設けられ、前記像担持面からの反射光を検出するセンサと、
前記像担持面のうちの予め定められた基準付着量のトナーを付着させた領域の反射率に応じた基準反射率を呈する基準面からの反射光に関する前記センサの検出値に応じた基準値を記憶する記憶部と、
を備える画像形成装置で、
前記像担持面のうちのトナー付着量がゼロである領域からの反射光に関する前記センサの検出値としての像担持面検出値と、前記記憶部により記憶された基準値とに基づいて、目標値を決定し、
前記像担持面のうちの予め定められた濃度値の画像を前記形成部により形成した領域からの反射光に関する前記センサの検出値を決定された目標値に近づけるべく、前記形成部による画像形成に伴う前記像担持面へのトナーの付着量を調整する、
調整方法。
発明の詳細な説明
【技術分野】
【0001】
本発明の実施形態は、画像形成装置及びその調整方法に関する。
続きを表示(約 2,100 文字)
【背景技術】
【0002】
オフィス環境又はリモートワーク環境などの構築のためにワークプレイスで用いられる機器の1つとして画像形成装置が知られている。
像担持体の像担持面にトナーを付着させて画像を形成する画像形成装置にあっては、ある濃度値の画像形成のための動作に伴う像担持面へのトナー付着量が、装置の動作条件及び環境条件などによって変動する。
【0003】
そこで、予め定められた濃度値の画像を形成した際の像担持面へのトナー付着量を、像担持面に対向させた反射型の光センサにより検出し、センサの検出値が予め定められた目標値に近づくように装置の動作条件を調整することが行われている。
しかしながら、反射型の光センサにより検出されるトナー付着量に誤差があると、トナー付着量を適正に調整しきれない恐れがあった。
このような事情から、像担持面へのトナー付着量を適正に調整できることが望まれていた。
【先行技術文献】
【特許文献】
【0004】
特開2004-93972号公報
【発明の概要】
【発明が解決しようとする課題】
【0005】
本発明が解決しようとする課題は、像担持面へのトナー付着量を適正に調整できる画像形成装置及びその調整方法を提供することである。
【課題を解決するための手段】
【0006】
実施形態の画像形成装置は、形成部、センサ、調整部、記憶部及び決定部を備える。形成部は、像担持体に設けられた像担持面にトナーを付着させて画像を形成する。センサは、像担持面に対向して設けられ、像担持面からの反射光量を検出する。調整部は、像担持面のうちの予め定められた濃度値の画像を形成部により形成した領域からの反射光に関するセンサの検出値を目標値に近づけるべく、形成部による画像形成に伴う像担持面へのトナーの付着量を調整する。記憶部は、像担持面のうちの予め定められた基準付着量のトナーを付着させた領域の反射率に応じた基準反射率を呈する基準面からの反射光に関するセンサの検出値に応じた基準値を記憶する。決定部は、像担持面のうちのトナー付着量がゼロである領域からの反射光に関するセンサの検出値としての像担持面検出値と、記憶部により記憶された基準値とに基づいて、目標値を決定する。
【図面の簡単な説明】
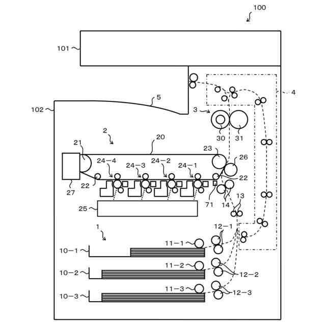
【0007】
一実施形態に係る複合機の機械的な構成を概略的に表す図。
図1に表す複合機の制御に関わる構成を概略的に示すブロック図。
図2中のプリンタコントローラの要部回路構成を示すブロック図。
基準値の取得状況を表す図。
調整処理のフローチャート。
目標値の決定の具体例を表す図。
【発明を実施するための形態】
【0008】
以下、実施の形態を、図面を用いて説明する。なお、以下の実施形態では、画像形成装置をプリンタとして備えた複合機を例に説明する。複合機は、MFP(multi-function peripheral)とも称される。
まず、本実施形態に係る複合機の構成について説明する。
図1は実施形態に係る複合機100の機械的な構成を概略的に表す図である。
【0009】
図1に示すように、複合機100は、スキャナ101及びプリンタ102を有する。
スキャナ101は、原稿の画像を読み取って、これに対応する画像データを生成する。スキャナ101は、例えばCCD(charge-coupled device)ラインセンサなどのイメージセンサを用い、原稿の読取面からの反射光像に応じた画像データを生成する。スキャナ101は、原稿台に載置された原稿を、当該原稿に沿って移動するイメージセンサによりスキャンする。スキャナ101はあるいは、ADF(auto document feeder)が搬送する原稿を、固定されたイメージセンサによりスキャンする。スキャナ101は、読取部の一例である。
【0010】
プリンタ102は、画像形成の対象となる媒体に電子写真方式により画像を形成する。媒体は、典型的にはカット紙等のプリント用紙である。そこで以下では、媒体としてプリント用紙が用いられることとして説明する。ただし、媒体としては、カット紙とは別の紙製のシート材が用いられても構わないし、紙以外の樹脂等の素材のシート材が用いられても構わない。プリンタ102は、カラー画像をプリント用紙に印刷するカラー印刷機能と、モノクロの画像をプリント用紙に印刷するモノクロ印刷機能とを有する。プリンタ102は、例えばイエロー、マゼンタ及びシアンの3色、あるいはこれにブラックを加えた4色のトナーをそれぞれ用いた要素像を重ね合わせて形成することによってカラー画像を形成する。また、プリンタ102は、例えばブラックのトナーを用いてモノクロ画像を形成する。
(【0011】以降は省略されています)
この特許をJ-PlatPat(特許庁公式サイト)で参照する
関連特許
東芝テック株式会社
プリンタ
2日前
東芝テック株式会社
光学装置
2日前
東芝テック株式会社
プリンタ装置
9日前
東芝テック株式会社
プリンタ装置
3日前
東芝テック株式会社
取引処理システム
9日前
東芝テック株式会社
レンズミラーアレイ
2日前
東芝テック株式会社
情報処理装置及び方法
17日前
東芝テック株式会社
チェックアウトシステム
23日前
東芝テック株式会社
画像形成装置及びサーバ
3日前
東芝テック株式会社
サーバ及び画像形成装置
4日前
東芝テック株式会社
取引処理装置及びプログラム
9日前
東芝テック株式会社
冷却装置および画像形成装置
2日前
東芝テック株式会社
情報処理装置及びプログラム
9日前
東芝テック株式会社
画像形成装置及びその調整方法
2日前
東芝テック株式会社
画像形成装置及びその制御方法
2日前
東芝テック株式会社
画像形成装置およびプログラム
9日前
東芝テック株式会社
会計装置及び情報処理プログラム
9日前
東芝テック株式会社
スポーツ指導装置およびプログラム
3日前
東芝テック株式会社
無線タグ通信装置、およびプログラム
9日前
東芝テック株式会社
情報処理装置、及び商品登録システム
1か月前
東芝テック株式会社
商品販売データ処理装置及びプログラム
9日前
東芝テック株式会社
棚入出力システムと取引システムとの同期
2日前
東芝テック株式会社
情報処理装置、案内システム及びプログラム
9日前
東芝テック株式会社
情報処理装置、情報処理プログラム及び情報処理方法
2日前
東芝テック株式会社
画像読取装置
1か月前
東芝テック株式会社
コンピュータビジョンを使用するセルフチェックアウトにおける顧客支援
4日前
東芝テック株式会社
情報通信端末及び情報処理プログラム
17日前
東芝テック株式会社
取引処理装置及びその制御プログラム
23日前
東芝テック株式会社
決済装置及びそのプログラム、決済方法
25日前
東芝テック株式会社
商品販売データ処理装置及びプログラム
1か月前
東芝テック株式会社
会計機及びそのプログラム、会計機の処理方法
23日前
個人
表示装置
1か月前
個人
雨用レンズカバー
1か月前
株式会社シグマ
絞りユニット
2か月前
日本精機株式会社
プロジェクタ
2日前
キヤノン株式会社
撮像装置
9日前
続きを見る
他の特許を見る