TOP
|
特許
|
意匠
|
商標
特許ウォッチ
Twitter
他の特許を見る
10個以上の画像は省略されています。
公開番号
2025170099
公報種別
公開特許公報(A)
公開日
2025-11-14
出願番号
2025151150,2024125951
出願日
2025-09-11,2019-05-14
発明の名称
取引処理装置及びその制御プログラム
出願人
東芝テック株式会社
代理人
弁理士法人鈴榮特許綜合事務所
主分類
G07G
1/06 20060101AFI20251107BHJP(チェック装置)
要約
【課題】電子レシートサービスの会員であっても特定の店舗での取引において紙レシートを受け取れるようにする。
【解決手段】取引処理装置は、取引対象者との取引に係る情報を記録したレシートのデータを作成する機能と、レシートのデータを印刷した紙レシートを発行する機能とを有する。取引処理装置は、取引対象者が、電子レシートサービスの利用者でありかつ紙レシートを受け取る設定がなされていない場合、レシートを電子化した電子レシートを処理する。取引処理装置は、取引対象者が、電子レシートサービスの利用者でない場合、あるいは、電子レシートサービスの利用者でありかつ紙レシートを受け取る設定がなされている場合、レシートのデータを印刷した紙レシートを発行する。
【選択図】 図8
特許請求の範囲
【請求項1】
取引対象者との取引に係る情報を記録したレシートのデータを作成する作成手段と、
前記レシートのデータを印刷した紙レシートを発行する発行手段と、
前記レシートを電子化した電子レシートを処理する処理手段と、
前記取引対象者が、電子レシートサービスの利用者である場合、当該取引対象者に対して紙レシートを受け取る設定がなされているか否かを確認する確認手段と、
前記取引対象者が、電子レシートサービスの利用者でありかつ前記紙レシートを受け取る設定がなされていない場合、前記処理手段による電子レシートの処理を制御する第1制御手段と、
前記取引対象者が、電子レシートサービスの利用者でない場合、あるいは、電子レシートサービスの利用者でありかつ前記紙レシートを受け取る設定がなされている場合、前記発行手段による紙レシートの発行を制御する第2制御手段と、
を具備する取引処理装置。
続きを表示(約 1,100 文字)
【請求項2】
前記取引対象者が、電子レシートサービスの利用者でありかつ前記紙レシートを受け取る設定がなされていない場合、前記紙レシートを受け取る旨の指示入力を受け付ける受付手段、
をさらに具備し、
前記第2制御手段は、前記指示入力を受け付けた場合に、前記発行手段による紙レシートの発行を制御する、請求項1記載の取引処理装置。
【請求項3】
前記取引対象者が、電子レシートサービスの利用者でありかつ前記紙レシートを受け取る設定がなされていない場合に報知する報知手段、
をさらに具備する請求項2記載の取引処理装置。
【請求項4】
前記第1制御手段は、前記取引対象者が、電子レシートサービスの利用者である場合、前記処理手段による電子レシートの処理を制御する、請求項1乃至3のうちいずれか1項記載の取引処理装置。
【請求項5】
取引対象者を識別する識別子と関連付けて紙レシートを受け取るか否かを設定したフラグを記憶する記憶部を検索する検索手段、
をさらに具備し、
前記確認手段は、前記識別子と関連付けて記憶されている前記フラグから、当該識別子によって識別される取引対象者に対して紙レシートを受け取る設定がなされているか否かを確認する、請求項1乃至4のうちいずれか1項記載の取引処理装置。
【請求項6】
前記取引対象者を識別する識別子を取得する取得手段、
をさらに具備する請求項5記載の取引処理装置。
【請求項7】
取引処理装置のコンピュータを、
取引対象者との取引に係る情報を記録したレシートのデータを作成する作成手段と、
前記レシートのデータを印刷した紙レシートを発行する発行手段、
前記レシートを電子化した電子レシートを処理する処理手段、
前記取引対象者が、電子レシートサービスの利用者である場合、当該取引対象者に対して紙レシートを受け取る設定がなされているか否かを確認する確認手段、
前記取引対象者が、電子レシートサービスの利用者でありかつ前記紙レシートを受け取る設定がなされていない場合、前記処理手段による電子レシートの処理を制御する第1制御手段、及び、
前記取引対象者が、電子レシートサービスの利用者でない場合、あるいは、電子レシートサービスの利用者でありかつ前記紙レシートを受け取る設定がなされている場合、前記発行手段による紙レシートの発行を制御する第2制御手段、
として機能させるための制御プログラム。
発明の詳細な説明
【技術分野】
【0001】
本発明の実施形態は、取引処理装置及びその制御プログラムに関する。
続きを表示(約 1,900 文字)
【背景技術】
【0002】
近年、電子化されたレシートをスマートフォン等の通信端末で受け取るようにしたサービス、いわゆる電子レシートサービスが普及している。客は、電子レシートサービスの運営会社に会員登録をすることで、電子レシートサービスを利用することができる。また、多くの店舗では、客の囲い込みを目的に、ポイントサービス等の会員サービスを実施している。客は、店舗に会員登録をすることで、その店舗での会員サービスを受けられる。
【0003】
電子レシートサービスに加盟している店舗では、その店舗で会員サービスの会員登録を行った客を自動的に電子レシートサービスの会員としても登録することが考えられている。そうすることにより、客は、店舗の会員サービスを受けられるだけではない。客は、その店舗での取引は勿論のこと、電子レシートサービスに加盟している他の店舗での取引においても電子レシートを受け取れるようになる。したがって、客の利便性が向上するので、さらなる囲い込みが期待できる。
【0004】
しかしながら、客の中には、会員登録をした店舗のレシートを電子レシートではなく紙レシートとして受け取りたいという客もいる。前述したように、店舗に会員登録をした客を自動的に電子レシートサービスの会員としても登録するようにした場合には、かような客の要望に応えることができない。
【先行技術文献】
【特許文献】
【0005】
特開2018-200727号公報
【発明の概要】
【発明が解決しようとする課題】
【0006】
本発明の実施形態が解決しようとする課題は、電子レシートサービスの会員であっても特定の店舗での取引において紙レシートを受け取ることができる取引処理装置を提供しようとするものである。
【課題を解決するための手段】
【0007】
一実施形態において、取引処理装置は、作成手段と、発行手段と、処理手段と、確認手段と、第1制御手段と、第2制御手段とを備える。作成手段は、取引対象者との取引に係る情報を記録したレシートのデータを作成する。発行手段は、レシートのデータを印刷した紙レシートを発行する。処理手段は、レシートを電子化した電子レシートを処理する。確認手段は、取引対象者が、電子レシートサービスの利用者である場合、当該取引対象者に対して紙レシートを受け取る設定がなされているかを確認する。第1制御手段は、取引対象者が、電子レシートサービスの利用者でありかつ紙レシートを受け取る設定がなされていない場合、処理手段による電子レシートの処理を制御する。第2制御手段は、取引対象者が、電子レシートサービスの利用者でない場合、あるいは、電子レシートサービスの利用者でありかつ紙レシートを受け取る設定がなされている場合、発行手段による紙レシートの発行を制御する。
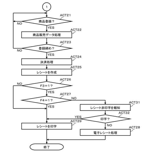
【図面の簡単な説明】
【0008】
実施形態のシステム構成を示すブロック図。
電子レシートデータベースのデータ構造を示す模式図。
電子レシート会員データベースのデータ構造を示す模式図。
店舗会員データベースのデータ構造を示す模式図。
電子レシートIDの構成を示す模式図。
POS端末の要部回路構成を示すブロック図。
POS端末のプロセッサが、制御プログラムに従って実行する情報処理の要部手順を示す流れ図。
第1の実施形態において、POS端末のプロセッサが、制御プログラムに従って実行する情報処理の要部手順を示す流れ図。
第2の実施形態において、POS端末のプロセッサが、制御プログラムに従って実行する情報処理の要部手順を示す流れ図。
第3の実施形態において、POS端末のプロセッサが、制御プログラムに従って実行する情報処理の要部手順を示す流れ図。
【発明を実施するための形態】
【0009】
以下、電子レシートサービスの会員であっても特定の店舗での取引において紙レシートを受け取ることができる取引処理装置の実施形態について、図面を用いて説明する。
【0010】
[第1の実施形態]
図1は、第1の実施形態のシステム構成図である。本システムは、電子レシートシステム1と、複数の店舗システム2(2A,2B)と、ネットワーク3とを含む。
(【0011】以降は省略されています)
この特許をJ-PlatPat(特許庁公式サイト)で参照する
関連特許
東芝テック株式会社
プリンタ
1か月前
東芝テック株式会社
画像形成装置
1か月前
東芝テック株式会社
プリンタ装置
4日前
東芝テック株式会社
取引処理システム
4日前
東芝テック株式会社
取引処理システム
1か月前
東芝テック株式会社
ショッピングカート
1か月前
東芝テック株式会社
情報処理装置及び方法
12日前
東芝テック株式会社
チェックアウトシステム
18日前
東芝テック株式会社
情報処理装置及びプログラム
1か月前
東芝テック株式会社
情報処理装置及びプログラム
1か月前
東芝テック株式会社
情報処理装置及びプログラム
1か月前
東芝テック株式会社
情報処理装置及びプログラム
1か月前
東芝テック株式会社
情報処理装置及びプログラム
1か月前
東芝テック株式会社
取引処理装置及びプログラム
4日前
東芝テック株式会社
制御装置、及び画像形成装置
1か月前
東芝テック株式会社
情報処理装置及びプログラム
4日前
東芝テック株式会社
画像形成装置およびプログラム
4日前
東芝テック株式会社
情報処理装置及び情報処理方法
1か月前
東芝テック株式会社
会計装置及び情報処理プログラム
4日前
東芝テック株式会社
データ処理装置及びデータ処理方法
1か月前
東芝テック株式会社
情報処理装置、及び商品登録システム
27日前
東芝テック株式会社
情報処理装置及び情報処理プログラム
1か月前
東芝テック株式会社
情報処理装置及び情報処理プログラム
1か月前
東芝テック株式会社
無線タグ通信装置、およびプログラム
4日前
東芝テック株式会社
販売データ処理装置およびプログラム
1か月前
東芝テック株式会社
来店時間案内システムおよびプログラム
1か月前
東芝テック株式会社
商品販売データ処理装置及びプログラム
1か月前
東芝テック株式会社
商品販売データ処理装置及びプログラム
4日前
東芝テック株式会社
デバイス管理装置及び情報処理プログラム
1か月前
東芝テック株式会社
デバイス管理装置及び情報処理プログラム
1か月前
東芝テック株式会社
移動体システムおよび移動体収納システム
1か月前
東芝テック株式会社
情報処理装置、案内システム及びプログラム
4日前
東芝テック株式会社
情報処理装置、情報処理方法及びプログラム
28日前
東芝テック株式会社
セルフチェックアウト装置およびプログラム
1か月前
東芝テック株式会社
情報処理装置、情報処理システム及びプログラム
1か月前
東芝テック株式会社
情報処理装置、情報処理方法、およびプログラム
1か月前
続きを見る
他の特許を見る