TOP
|
特許
|
意匠
|
商標
特許ウォッチ
Twitter
他の特許を見る
公開番号
2025177438
公報種別
公開特許公報(A)
公開日
2025-12-05
出願番号
2024084279
出願日
2024-05-23
発明の名称
画像形成装置及びその制御方法
出願人
東芝テック株式会社
代理人
弁理士法人鈴榮特許綜合事務所
主分類
G03G
21/00 20060101AFI20251128BHJP(写真;映画;光波以外の波を使用する類似技術;電子写真;ホログラフイ)
要約
【課題】 テストパターンの形成状況に基づく適正な形成条件の調整を図る。
【解決手段】 実施形態の画像形成装置は、制御部、第1のセンサ、判定部、検出部及び決定部を備える。制御部は、予め定められた形状のパッチをそれぞれ重ならないように形成することで複数のパッチからなるテストパターンを形成するように複数の形成部を制御する。第1のセンサは、像担持面に対向して配置され、像担持面に付着しているトナーを検出する。判定部は、複数の形成部によりそれぞれ形成されたテストパターンの形成状況を、第1のセンサによる検出結果に基づいて判定する。検出部は、第1のセンサの対向位置での像担持面のバタつきを検出する。決定部は、検出部によりバタつきが検出されることのないままに判定部により判定された形成状況に基づいて、複数の形成部それぞれでの要素像の形成条件を決定する。
【選択図】 図4
特許請求の範囲
【請求項1】
ベルト状の像担持体の像担持面にトナーを付着させて個別に要素像を形成する複数の形成部を備え、これら複数の形成部により前記像担持面に複数の要素像を重ねて形成することで画像を形成する画像形成装置であって、
予め定められた形状のパッチをそれぞれ重ならないように形成することで複数のパッチからなるテストパターンを形成するように複数の前記形成部を制御する制御部と、
前記像担持面に対向して配置され、前記像担持面に付着しているトナーを検出する第1のセンサと、
複数の前記形成部によりそれぞれ形成されたテストパターンの形成状況を、前記第1のセンサによる検出結果に基づいて判定する判定部と、
前記第1のセンサの対向位置での前記像担持面のバタつきを検出する検出部と、
前記検出部によりバタつきが検出されることのないままに前記判定部により判定された形成状況に基づいて、複数の前記形成部それぞれでの要素像の形成条件を決定する決定部と、
を具備する画像形成装置。
続きを表示(約 1,000 文字)
【請求項2】
前記制御部は、複数のテストパターンを順次に形成するように前記形成部を制御し、
前記判定部は、複数のテストパターンのそれぞれに関して形成状況を判定し、
前記検出部によりバタつきが検出されることのないままに前記判定部により判定された形成状況を規定数収集する収集部、をさらに備え、
前記決定部は、前記収集部により収集された規定数の形成状況に基づいて、複数の前記形成部それぞれでの要素像の形成条件を決定する、
請求項1に記載の画像形成装置。
【請求項3】
前記収集部は、前記検出部によりバタつきが検出されることのないままに連続して前記判定部により判定された形成状況を規定数収集する、
請求項2に記載の画像形成装置。
【請求項4】
前記収集部は、前記判定部による判定に際して前記検出部によりバタつきが検出された形成状況は収集せずに、前記判定部による判定に際して前記検出部によりバタつきが検出されなかった形成状況を規定数まで収集する、
請求項3に記載の画像形成装置。
【請求項5】
前記像担持面に対向して配置されて前記像担持面までの距離を測定する第2のセンサ、
をさらに備え、
前記検出部は、前記第2のセンサにより測定される距離に基づいてバタつきを検出する、
請求項1に記載の画像形成装置。
【請求項6】
ベルト状の像担持体の像担持面にトナーを付着させて個別に要素像を形成する複数の形成部と、前記像担持面に対向して配置され、前記像担持面に付着しているトナーを検出する第1のセンサと、を備え、これら複数の形成部により前記像担持面に複数の要素像を重ねて形成することで画像を形成する画像形成装置を、
予め定められた形状のパッチをそれぞれ重ならないように形成することで複数のパッチからなるテストパターンを形成するように複数の前記形成部を制御し、
複数の前記形成部により形成されたテストパターンの形成状況を、前記第1のセンサによる検出結果に基づいて判定し、
前記第1のセンサの対向位置での前記像担持面のバタつきを検出し、
バタつきが検出されることのないままに判定された形成状況に基づいて、複数の前記形成部それぞれでの要素像の形成条件を決定する、
制御方法。
発明の詳細な説明
【技術分野】
【0001】
本発明の実施形態は、画像形成装置及びその制御方法に関する。
続きを表示(約 2,400 文字)
【背景技術】
【0002】
オフィス環境又はリモートワーク環境などの構築のためにワークプレイスで用いられる機器の1つとして画像形成装置が知られている。
複数の形成部により、例えばそれぞれ異なる色の要素像を重ねて形成することによりカラー画像などの1つの画像を形成するようにした画像形成装置は既に知られている。
この種の画像形成装置では、複数の要素像を精度良く重ねることが画質向上のためには重要である。そしてこのために、予め定められたテストパターンを形成させることにより、複数の要素像のそれぞれの形成状況のずれを判定し、複数の要素像が精度良く重なるように各要素像の形成条件を調整する処理が、位置合わせ制御などと称されて実施されている。
【0003】
この位置合わせ制御においては、テストパターンの形成状況を正しく検出できることが求められる。しかしながら、像担持体の像担持面へのトナーの付着状況を、像担持面に対向して配置されたセンサにより検出することでテストパターンの形成状況を検出しているならば、ベルト状の像担持体の変形による像担持面のバタつきが生じた場合には、像担持面とセンサとの距離が変動することとなり、センサでの検出状況も変動してしまう。そして、このような状況で検出された形成状況に基づく形成条件の調整では、適正な調整とはならない恐れがあった。
このような事情から、テストパターンの形成状況に基づく適正な形成条件の調整を図ることができる画像形成装置及びその制御方法が望まれていた。
【先行技術文献】
【特許文献】
【0004】
特開2016-20970号公報
【発明の概要】
【発明が解決しようとする課題】
【0005】
本発明が解決しようとする課題は、テストパターンの形成状況に基づく適正な形成条件の調整を図ることができる画像形成装置及びその制御方法を提供することである。
【課題を解決するための手段】
【0006】
実施形態の画像形成装置は、ベルト状の像担持体の像担持面にトナーを付着させて個別に要素像を形成する複数の形成部を備え、これら複数の形成部により像担持面に複数の要素像を重ねて形成することで画像を形成する画像形成装置であって、制御部、第1のセンサ、判定部、検出部及び決定部を備える。制御部は、予め定められた形状のパッチをそれぞれ重ならないように形成することで複数のパッチからなるテストパターンを形成するように複数の形成部を制御する。第1のセンサは、像担持面に対向して配置され、像担持面に付着しているトナーを検出する。判定部は、複数の形成部によりそれぞれ形成されたテストパターンの形成状況を、第1のセンサによる検出結果に基づいて判定する。検出部は、第1のセンサの対向位置での像担持面のバタつきを検出する。決定部は、検出部によりバタつきが検出されることのないままに判定部により判定された形成状況に基づいて、複数の形成部それぞれでの要素像の形成条件を決定する。
【図面の簡単な説明】
【0007】
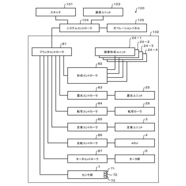
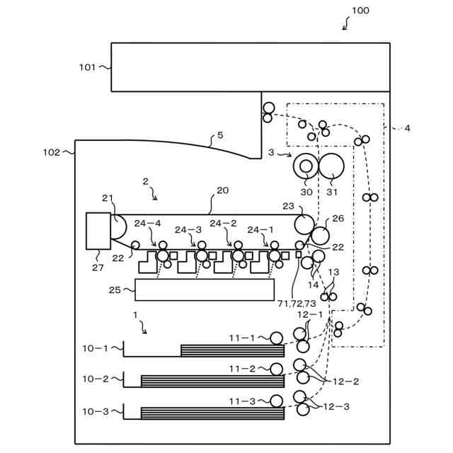
実施形態に係る複合機の機械的な構成を概略的に表す図。
複合機の制御に関わる構成を概略的に示すブロック図。
プリンタコントローラの要部回路構成を示すブロック図。
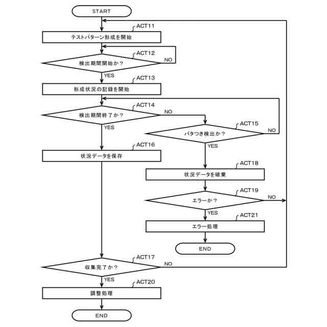
位置合わせ制御のための情報処理のフローチャート。
テストパターンの一例を表す図。
【発明を実施するための形態】
【0008】
以下、実施の形態を、図面を用いて説明する。なお、以下の実施形態では、画像形成装置をプリンタとして備えた複合機を例に説明する。複合機は、MFP(multi-function peripheral)とも称される。
まず、本実施形態に係る複合機の構成について説明する。
図1は実施形態に係る複合機100の機械的な構成を概略的に表す図である。
図1に示すように、複合機100は、スキャナ101及びプリンタ102を有する。
【0009】
スキャナ101は、原稿の画像を読み取って、これに対応する画像データを生成する。スキャナ101は、例えばCCD(charge-coupled device)ラインセンサなどのイメージセンサを用い、原稿の読取面からの反射光像に応じた画像データを生成する。スキャナ101は、原稿台に載置された原稿を、当該原稿に沿って移動するイメージセンサによりスキャンする。スキャナ101はあるいは、ADF(auto document feeder)が搬送する原稿を、固定されたイメージセンサによりスキャンする。スキャナ101は、読取部の一例である。
【0010】
プリンタ102は、画像形成の対象となる媒体に電子写真方式により画像を形成する。媒体は、典型的にはカット紙等のプリント用紙である。そこで以下では、媒体としてプリント用紙が用いられることとして説明する。ただし、媒体としては、カット紙とは別の紙製のシート材が用いられても構わないし、紙以外の樹脂等の素材のシート材が用いられても構わない。プリンタ102は、カラー画像をプリント用紙に印刷するカラー印刷機能と、モノクロの画像をプリント用紙に印刷するモノクロ印刷機能とを有する。プリンタ102は、例えばイエロー、マゼンタ及びシアンの3色、あるいはこれにブラックを加えた4色のトナーをそれぞれ用いた要素像を重ね合わせて形成することによってカラー画像を形成する。また、プリンタ102は、例えばブラックのトナーを用いてモノクロ画像を形成する。
(【0011】以降は省略されています)
この特許をJ-PlatPat(特許庁公式サイト)で参照する
関連特許
東芝テック株式会社
光学装置
2日前
東芝テック株式会社
プリンタ
2日前
東芝テック株式会社
プリンタ装置
3日前
東芝テック株式会社
プリンタ装置
9日前
東芝テック株式会社
取引処理システム
9日前
東芝テック株式会社
レンズミラーアレイ
2日前
東芝テック株式会社
情報処理装置及び方法
17日前
東芝テック株式会社
サーバ及び画像形成装置
4日前
東芝テック株式会社
チェックアウトシステム
23日前
東芝テック株式会社
画像形成装置及びサーバ
3日前
東芝テック株式会社
情報処理装置及びプログラム
9日前
東芝テック株式会社
冷却装置および画像形成装置
2日前
東芝テック株式会社
情報処理装置及びプログラム
1か月前
東芝テック株式会社
取引処理装置及びプログラム
9日前
東芝テック株式会社
制御装置、及び画像形成装置
1か月前
東芝テック株式会社
画像形成装置及びその調整方法
2日前
東芝テック株式会社
画像形成装置およびプログラム
9日前
東芝テック株式会社
画像形成装置及びその制御方法
2日前
東芝テック株式会社
会計装置及び情報処理プログラム
9日前
東芝テック株式会社
スポーツ指導装置およびプログラム
3日前
東芝テック株式会社
データ処理装置及びデータ処理方法
1か月前
東芝テック株式会社
情報処理装置、及び商品登録システム
1か月前
東芝テック株式会社
無線タグ通信装置、およびプログラム
9日前
東芝テック株式会社
販売データ処理装置およびプログラム
1か月前
東芝テック株式会社
商品販売データ処理装置及びプログラム
9日前
東芝テック株式会社
来店時間案内システムおよびプログラム
1か月前
東芝テック株式会社
移動体システムおよび移動体収納システム
1か月前
東芝テック株式会社
棚入出力システムと取引システムとの同期
2日前
東芝テック株式会社
情報処理装置、案内システム及びプログラム
9日前
東芝テック株式会社
情報処理装置、情報処理方法及びプログラム
1か月前
東芝テック株式会社
入出金装置、販売データ処理装置、およびプログラム
1か月前
東芝テック株式会社
情報処理装置及びそのプログラム、情報処理システム
1か月前
東芝テック株式会社
情報処理装置及びそのプログラム、情報処理システム
1か月前
東芝テック株式会社
取引処理システム、取引処理装置及びそのプログラム
1か月前
東芝テック株式会社
情報処理装置、情報処理プログラム及び情報処理方法
2日前
東芝テック株式会社
販売価格提示システム、情報処理装置およびプログラム
1か月前
続きを見る
他の特許を見る