TOP
|
特許
|
意匠
|
商標
特許ウォッチ
Twitter
他の特許を見る
10個以上の画像は省略されています。
公開番号
2025174182
公報種別
公開特許公報(A)
公開日
2025-11-28
出願番号
2024080305
出願日
2024-05-16
発明の名称
情報処理装置、案内システム及びプログラム
出願人
東芝テック株式会社
代理人
弁理士法人鈴榮特許綜合事務所
主分類
G06Q
30/06 20230101AFI20251120BHJP(計算;計数)
要約
【課題】セルフ方式の取引処理装置が複数設置された会計場を利用する顧客に対して、適切な取引処理装置を案内することを可能にする。
【解決手段】情報処理装置は、取得部と、受信部と、判定部と、出力部と、を備える。取得部は、顧客が取引に係わる操作を実施する複数の取引処理装置のそれぞれについての状態を識別可能な画像情報を取得する。受信部は、複数の取引処理装置のそれぞれについて、取引処理装置に対する規定の操作位置における人の存在を示す検知情報を受信する。判定部は、画像情報及び検知情報に基づいて、複数の取引処理装置のそれぞれが、顧客による操作の実施を開始可能な状態であるか否か判定する。出力部は、判定部による判定結果に従って、複数の取引処理装置の内で、顧客による操作の実施を開始可能な状態にある取引処理装置を、操作の実施開始を待機している待機顧客に案内する案内情報を出力する。
【選択図】 図8
特許請求の範囲
【請求項1】
顧客が取引に係わる操作を実施する複数の取引処理装置のそれぞれについての状態を識別可能な画像情報を取得する取得部と、
前記複数の取引処理装置のそれぞれについて、前記取引処理装置に対する規定の操作位置における人の存在を示す検知情報を受信する受信部と、
前記画像情報及び前記検知情報に基づいて、前記複数の取引処理装置のそれぞれが、前記顧客による前記操作の実施を開始可能な状態であるか否か判定する判定部と、
前記判定部による判定結果に従って、前記複数の取引処理装置の内で、前記顧客による前記操作の実施を開始可能な状態にある取引処理装置を、前記操作の実施開始を待機している待機顧客に案内する案内情報を出力する出力部と、
を備える情報処理装置。
続きを表示(約 1,500 文字)
【請求項2】
前記判定部は、前記検知情報を受信しない前記取引処理装置について、前記画像情報に基づいて、前記顧客による前記操作の実施を開始可能な状態であるか否かを判定する、請求項1に記載の情報処理装置。
【請求項3】
前記取得部は、前記画像情報として、前記取引処理装置が備える、前記取引処理装置が使用開始待ち及び使用中の何れの状態にあるのかを表示する表示部材を撮影した画像情報を取得し、
前記判定部は、前記画像情報に含まれる前記表示部材の画像に基づいて、前記取引処理装置が前記使用開始待ちの状態にあるか否か判別し、前記使用開始待ちの状態にある前記取引処理装置を、前記顧客による前記操作の実施を開始可能な状態であると判定する、請求項1又は2に記載の情報処理装置。
【請求項4】
前記画像情報が含む前記表示部材の画像は、前記状態を発光色及び発光状態の少なくとも一方により表すパトランプの画像、または、前記状態を文字及び記号の少なくとも一方により表示する表示装置の表示画面の画像を含む、請求項3に記載の情報処理装置。
【請求項5】
前記取得部は、前記画像情報として、前記取引処理装置それぞれと通信して前記取引処理装置それぞれの状態を監視する監視装置における、前記複数の取引処理装置の状態を表示する表示画面を撮影した画像情報を取得し、
前記判定部は、前記画像情報に含まれる前記複数の取引処理装置についての状態表示の画像に基づいて、前記取引処理装置が使用開始待ちの状態にあるか否か判別し、前記使用開始待ちの状態にある前記取引処理装置を、前記顧客による前記操作の実施を開始可能な状態であると判定する、請求項1又は2に記載の情報処理装置。
【請求項6】
それぞれ、顧客が取引に係わる操作を実施する複数の取引処理装置と、
前記複数の取引処理装置のそれぞれについての状態を識別可能な画像情報を生成する生成装置と、
前記複数の取引処理装置のそれぞれについて、前記取引処理装置に対する規定の操作位置における人の存在を検知し、人の存在を示す検知情報を出力する検知装置と、
前記生成装置が生成した前記画像情報及び前記検知装置が出力した前記検知情報に基づいて、前記複数の取引処理装置のそれぞれが、前記顧客による前記操作の実施を開始可能な状態であるか否か判定し、前記顧客による前記操作の実施を開始可能な状態にある取引処理装置を案内する案内情報を生成する情報処理装置と、
前記情報処理装置が生成した前記案内情報を、前記操作の実施開始を待機している待機顧客に提示する提示装置と、
を備える案内システム。
【請求項7】
顧客が利用可能な取引処理装置を案内する案内装置を制御する、プロセッサとメモリとを備える情報処理装置のコンピュータに、
前記顧客が取引に係わる操作を実施する複数の取引処理装置のそれぞれについての状態を識別可能な画像情報を取得する機能と、
前記複数の取引処理装置のそれぞれについて、前記取引処理装置に対する規定の操作位置における人の存在を示す検知情報を受信する機能と、
前記画像情報及び前記検知情報に基づいて、前記複数の取引処理装置のそれぞれが、前記顧客による前記操作の実施を開始可能な状態であるか否か判定する機能と、
前記判定の結果に従って、前記複数の取引処理装置の内で、前記顧客による前記操作の実施を開始可能な状態にある取引処理装置を、前記操作の実施開始を待機している待機顧客に案内する案内情報を、前記案内装置に出力させる機能と、
を実現させるためのプログラム。
発明の詳細な説明
【技術分野】
【0001】
本発明の実施形態は、情報処理装置、案内システム及びプログラムに関する。
続きを表示(約 2,800 文字)
【背景技術】
【0002】
近年スーパーマーケットなどの量販店では、買物客である顧客自身が精算処理を行うセルフ方式の取引処理装置の導入が進んでおり、セルフ方式取引処理装置を大量に設置するケースも増えてきている。このように大量のセルフ方式取引処理装置を導入した場合、精算処理を行う顧客を、空いているセルフ方式取引処理装置へ誘導・案内する業務が負荷となっている。
【0003】
そこで、この誘導・案内を自動的に行う技術が各種提案されている。例えば、対人センサやカメラ等を利用して、各取引処理装置の付近に居る顧客の有無を検出することで、空いている取引処理装置を判定し、誘導案内装置にて、顧客をその判定した空いている装置へ誘導する表示を行う技術がある。
【0004】
しかしながら、このような対人センサやカメラ等を利用した顧客有無の検出結果に基づく空き装置の判定方法では、精度が低いという問題があった。
【先行技術文献】
【特許文献】
【0005】
特開2016-173751号公報
【発明の概要】
【発明が解決しようとする課題】
【0006】
本発明の実施形態が解決しようとする課題は、セルフ方式の取引処理装置が複数設置された会計場を利用する顧客に対して、適切な取引処理装置を案内することを可能にしようとするものである。
【課題を解決するための手段】
【0007】
一実施形態において、情報処理装置は、取得部と、受信部と、判定部と、出力部と、を備える。取得部は、顧客が取引に係わる操作を実施する複数の取引処理装置のそれぞれについての状態を識別可能な画像情報を取得する。受信部は、複数の取引処理装置のそれぞれについて、取引処理装置に対する規定の操作位置における人の存在を示す検知情報を受信する。判定部は、画像情報及び検知情報に基づいて、複数の取引処理装置のそれぞれが、顧客による操作の実施を開始可能な状態であるか否か判定する。出力部は、判定部による判定結果に従って、複数の取引処理装置の内で、顧客による操作の実施を開始可能な状態にある取引処理装置を、操作の実施開始を待機している待機顧客に案内する案内情報を出力する。
【図面の簡単な説明】
【0008】
図1は、第1実施形態に係る案内システムを示す概略構成図である。
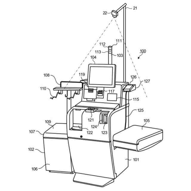
図2は、案内システムが含むセルフ方式の取引処理装置の一例としてのセルフPOS端末の外観構成の一例を示す斜視図である。
図3は、セルフPOS端末の要部回路構成の一例を示すブロック図である。
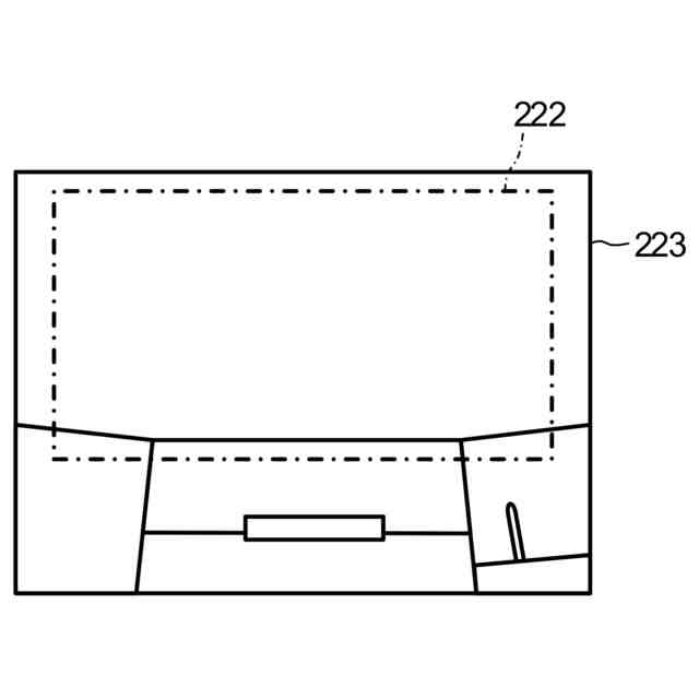
図4は、案内システムが含む取引カメラにより取得されるカメラ撮影画像の一例を示す模式図である。
図5は、同じくカメラ撮影画像の一例を示す模式図である。
図6は、案内システムが適用される会計場の一例を示す模式図である。
図7は、取引処理装置が備えるパトランプの色パターン及び発光パターンにより表される取引処理装置のステータス情報を説明するための図である。
図8は、案内システムに含まれる第1実施形態に係る情報処理装置としての店舗サーバの要部回路構成を示すブロック図である。
図9は、店舗サーバが備える端末状況テーブルに記憶される主要なデータ構造を示す模式図である。
図10は、案内システムにおける空きレジの案内に係わる動作概要を示す一連のシーケンス図の第1の部分を示す図である。
図11は、案内システムにおける空きレジの案内に係わる動作概要を示す一連のシーケンス図の第2の部分を示す図である。
図12は、店舗サーバのプロセッサが実行する情報処理の要部手順を示す流れ図である。
図13は、案内システムに含まれる表示装置における表示例を示す図である。
図14は、表示装置における別の表示例を示す図である。
図15は、表示装置における更に別の表示例を示す図である。
図16は、第2実施形態におけるセルフ方式取引処理装置の一例としてのセルフPOS端末のタッチパネルに表示されるアイドル中画面の一例を示す図である。
図17は、同じくセルフPOS端末のタッチパネルに表示される取引開始画面の一例を示す図である。
図18は、同じくセルフPOS端末のタッチパネルに表示される登録画面の一例を示す図である。
図19は、同じくセルフPOS端末のタッチパネルに表示される支払選択画面の一例を示す図である。
図20は、同じくセルフPOS端末のタッチパネルに表示される取引終了画面の一例を示す図である。
図21は、第3実施形態に係る案内システムが適用される会計場の一例を示す模式図である。
図22は、第3実施形態におけるアテンダント端末のタッチパネルに表示される画面の一例を示す図である。
図23は、同じくアテンダント端末のタッチパネルに表示される画面の一例を示す図である。
図24は、第4実施形態に係る案内システムにおける空きレジの案内に係わる動作概要を示すシーケンス図である。
図25は、第4実施形態に係る情報処理装置としての店舗サーバのプロセッサが実行する情報処理の要部手順を示す流れ図である。
【発明を実施するための形態】
【0009】
以下、案内システムの実施形態について、図面を用いて説明する。
【0010】
[第1実施形態]
図1は、第1実施形態に係る案内システムを示す概略構成図である。案内システムは、複数台のセルフ方式の取引処理装置1と、複数台の取引カメラ2と、複数台の検知端末3と、アテンダント端末4と、店舗サーバ5と、チェックアウトエリアカメラ6と、表示装置7と、を含む。案内システムは、これらの取引処理装置1、取引カメラ2、検知端末3、アテンダント端末4、店舗サーバ5、チェックアウトエリアカメラ6及び表示装置7を、LAN(Local Area Network)等の通信ネットワークNWで接続して構成される。各取引処理装置1に対して、それぞれ1台の取引カメラ2及び検知端末3が対応付けられ、取引処理装置1、取引カメラ2及び検知端末3により取引システムTSが構成される。各取引システムTSは、店舗の会計場に設置される。なお、ここでは、各取引処理装置1に対して1台ずつの取引カメラ2と検知端末3とが対応付けられるものとしているが、1台の取引カメラ2または1台の検知端末3が2台以上の取引処理装置1に対応付けられていても良く、更には全ての取引処理装置1に対して1台の取引カメラ2と1台の検知端末3が対応付けられていても構わない。
(【0011】以降は省略されています)
この特許をJ-PlatPat(特許庁公式サイト)で参照する
関連特許
東芝テック株式会社
プリンタ
1か月前
東芝テック株式会社
プリンタ装置
2日前
東芝テック株式会社
画像形成装置
1か月前
東芝テック株式会社
取引処理システム
2日前
東芝テック株式会社
取引処理システム
1か月前
東芝テック株式会社
ショッピングカート
1か月前
東芝テック株式会社
情報処理装置及び方法
10日前
東芝テック株式会社
チェックアウトシステム
16日前
東芝テック株式会社
取引処理装置及びプログラム
2日前
東芝テック株式会社
情報処理装置及びプログラム
1か月前
東芝テック株式会社
情報処理装置及びプログラム
1か月前
東芝テック株式会社
情報処理装置及びプログラム
1か月前
東芝テック株式会社
情報処理装置及びプログラム
1か月前
東芝テック株式会社
情報処理装置及びプログラム
1か月前
東芝テック株式会社
情報処理装置及びプログラム
2日前
東芝テック株式会社
制御装置、及び画像形成装置
1か月前
東芝テック株式会社
インターロックおよびプリンタ
1か月前
東芝テック株式会社
情報処理装置及び情報処理方法
1か月前
東芝テック株式会社
情報処理装置およびプログラム
1か月前
東芝テック株式会社
商品登録装置およびプログラム
1か月前
東芝テック株式会社
画像形成装置およびプログラム
2日前
東芝テック株式会社
会計装置及び情報処理プログラム
2日前
東芝テック株式会社
データ処理装置及びデータ処理方法
1か月前
東芝テック株式会社
情報処理装置及び情報処理プログラム
1か月前
東芝テック株式会社
無線タグ通信装置、およびプログラム
2日前
東芝テック株式会社
販売データ処理装置およびプログラム
1か月前
東芝テック株式会社
情報処理装置、及び商品登録システム
25日前
東芝テック株式会社
情報処理装置及び情報処理プログラム
1か月前
東芝テック株式会社
商品販売データ処理装置及びプログラム
2日前
東芝テック株式会社
商品販売データ処理装置及びプログラム
1か月前
東芝テック株式会社
来店時間案内システムおよびプログラム
1か月前
東芝テック株式会社
デバイス管理装置及び情報処理プログラム
1か月前
東芝テック株式会社
デバイス管理装置及び情報処理プログラム
1か月前
東芝テック株式会社
移動体システムおよび移動体収納システム
1か月前
東芝テック株式会社
システム、情報処理装置、およびプログラム
1か月前
東芝テック株式会社
情報処理装置、案内システム及びプログラム
2日前
続きを見る
他の特許を見る