TOP
|
特許
|
意匠
|
商標
特許ウォッチ
Twitter
他の特許を見る
10個以上の画像は省略されています。
公開番号
2025159762
公報種別
公開特許公報(A)
公開日
2025-10-22
出願番号
2024062493
出願日
2024-04-09
発明の名称
商品販売データ処理装置及びプログラム
出願人
東芝テック株式会社
代理人
弁理士法人酒井国際特許事務所
主分類
G07G
1/01 20060101AFI20251015BHJP(チェック装置)
要約
【課題】複数の取引を扱う商品販売データ処理装置において、取引の保留時に、各取引の状態を簡単に判別することができる商品販売データ処理装置及びプログラムを提供する。
【解決手段】実施形態の商品販売データ処理装置は、一取引で登録された商品を表示する第1領域と、前記商品の登録に係る操作子を少なくとも含む第2領域とを有する取引画面を表示装置に表示させる出力手段と、前記一取引の保留を指示する操作を受け付けたことを契機として、保留の対象となった既存の取引用の前記取引画面と、新たな取引用の前記取引画面とを並べて表示させる制御部と、を備える。
【選択図】図9
特許請求の範囲
【請求項1】
一取引で登録された商品を表示する第1領域と、前記商品の登録に係る操作子を少なくとも含む第2領域とを有する取引画面を表示装置に表示させる出力手段と、
前記一取引の保留を指示する操作を受け付けたことを契機として、保留の対象となった既存の取引用の前記取引画面と、新たな取引用の前記取引画面とを並べて表示させる制御部と、
を備える商品販売データ処理装置。
続きを表示(約 590 文字)
【請求項2】
前記制御部は、前記保留が指示された取引の前記取引画面を非アクティブ状態とし、前記第2領域に設けられた前記商品の登録に係る操作子を無効化する、
請求項1に記載の商品販売データ処理装置。
【請求項3】
前記制御部は、前記保留からの復帰を指示する操作に応じて、前記非アクティブ状態とする前記取引画面を切り替える、
請求項2に記載の商品販売データ処理装置。
【請求項4】
前記一取引の保留を指示する第1操作子及び前記保留からの復帰を指示する第2操作子は、前記第2領域に設けられる、
請求項3に記載の商品販売データ処理装置。
【請求項5】
前記制御部は、一取引で登録された前記商品の販売に係るデータ処理が完了すると、当該取引に係る前記取引画面を消去する、
請求項1に記載の商品販売データ処理装置。
【請求項6】
一取引で登録された商品を表示する第1領域と、前記商品の登録に係る操作子を少なくとも含む第2領域とを有する取引画面を表示装置に表示させる出力手段と、
前記一取引の保留を指示する操作を受け付けたことを契機として、保留の対象となった既存の取引用の前記取引画面と、新たな取引用の前記取引画面とを並べて表示させる制御部と、
として機能させるためのプログラム。
発明の詳細な説明
【技術分野】
【0001】
本発明の実施形態は、商品販売データ処理装置及びプログラムに関する。
続きを表示(約 1,600 文字)
【背景技術】
【0002】
従来、スーパーマーケット等の店舗で使用されるPOS(Point Of Sales)端末等の商品販売データ処理装置では、現在対応中の顧客に係る取引を一時的に保留し、次の顧客の取引を実行可能な機能を有するものが存在する(例えば、特許文献1)。
【0003】
しかしながら従来の技術では、取引を保留した場合に、保留した取引の売上登録された商品を示す画面と、次の取引で売上登録された商品を示す画面とが隣接して表示されるため、各取引の状態が分かりづらいという問題があった。
【発明の概要】
【発明が解決しようとする課題】
【0004】
本発明が解決しようとする課題は、複数の取引を扱う商品販売データ処理装置において、取引の保留時に、各取引の状態を簡単に判別することができる商品販売データ処理装置及びプログラムを提供することである。
【課題を解決するための手段】
【0005】
実施形態の商品販売データ処理装置は、一取引で登録された商品を表示する第1領域と、前記商品の登録に係る操作子を少なくとも含む第2領域とを有する取引画面を表示装置に表示させる出力手段と、前記一取引の保留を指示する操作を受け付けたことを契機として、保留の対象となった既存の取引用の前記取引画面と、新たな取引用の前記取引画面とを並べて表示させる制御部と、を備える。
【図面の簡単な説明】
【0006】
図1は、第1の実施形態に係るPOS端末のハードウェア構成を示すブロック図である。
図2は、第1の実施形態に係る商品登録ファイルのデータ構成の一例を示すブロック図である。
図3は、第1の実施形態に係る商品マスタのデータ構成の一例を示すブロック図である。
図4は、第1の実施形態に係るPOS端末の機能構成の一例を示すブロック図である。
図5は、第1の実施形態に係る表示部の表示領域に表示される画面の一例を示す図である。
図6は、第1の実施形態に係る表示部の表示領域に表示される画面の一例を示す図である。
図7は、第1の実施形態に係る表示部の表示領域に表示される画面の一例を示す図である。
図8は、第1の実施形態に係る表示部の表示領域に表示される画面の一例を示す図である。
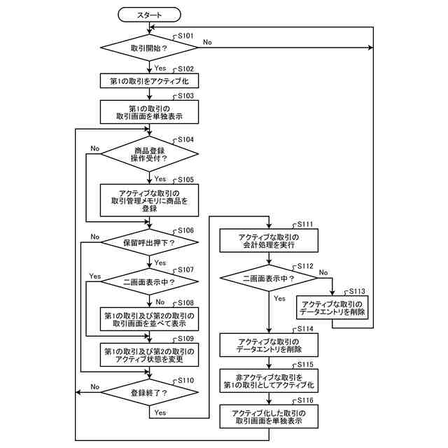
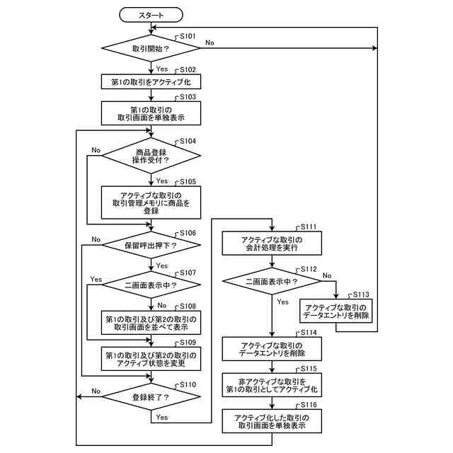
図9は、第1の実施形態に係るPOS端末の制御部が行う制御処理の一例を示すフローチャートである。
図10は、第2の実施形態に係る表示部の表示領域に表示される画面の一例を示す図である。
図11は、第3の実施形態に係る表示部の表示領域に表示される画面の一例を示す図である。
【発明を実施するための形態】
【0007】
以下、図面を参照して、POS端末1の実施形態について説明する。なお、以下の実施形態によって本発明が限定されるものではない。
【0008】
(第1の実施形態)
まず、POS端末1のハードウェア構成について説明する。図1は、本実施形態に係るPOS端末1のハードウェア構成を示すブロック図である。
【0009】
図1に示すように、POS端末1は、プロセッサの一例であるCPU(Central Processing Unit)101、ROM(Read Only Memory)102、RAM(Random Access Memory)103及びメモリ部104を備えている。
【0010】
CPU101は、POS端末1の各部を統括的に制御する。ROM102は、各種プログラムを記憶する。RAM103は、プログラムや各種データを展開するワークスペースである。例えば、RAM103は、商品登録ファイル1031を備える。
(【0011】以降は省略されています)
この特許をJ-PlatPat(特許庁公式サイト)で参照する
関連特許
東芝テック株式会社
プリンタ
1日前
東芝テック株式会社
表示処理装置、取引支援装置及びプログラム
1日前
株式会社イシダ
商品処理装置
24日前
株式会社バンダイ
物品供給装置
3か月前
株式会社バンダイ
物品供給装置
3か月前
株式会社バンダイ
物品供給装置
3か月前
株式会社バンダイ
物品供給装置
3か月前
富士電機株式会社
通貨識別装置
3か月前
沖電気工業株式会社
媒体処理装置
1か月前
沖電気工業株式会社
紙幣処理装置
1か月前
沖電気工業株式会社
施錠開閉装置
17日前
沖電気工業株式会社
媒体処理装置
1か月前
沖電気工業株式会社
媒体処理装置
2か月前
株式会社ライト
情報処理装置
2か月前
株式会社ライト
情報処理装置
3か月前
富士電機株式会社
自動販売機
1か月前
株式会社ライト
情報処理装置
2か月前
富士電機株式会社
金銭処理装置
2か月前
株式会社デンソー
車載器
22日前
グローリー株式会社
硬貨処理装置
3か月前
グローリー株式会社
物品投出装置
1か月前
日本金銭機械株式会社
硬貨処理装置
26日前
株式会社トイスピリッツ
景品提供システム
2か月前
株式会社寺岡精工
商品登録システム
8日前
日本金銭機械株式会社
硬貨処理装置
26日前
株式会社寺岡精工
販売データ処理装置
3日前
パイオニア株式会社
ドライブレコーダ
3か月前
ユニティガードシステム株式会社
入館監視システム
2か月前
沖電気工業株式会社
棒金収納装置
2か月前
旭精工株式会社
紙葉類処理装置および紙葉類処理方法
1か月前
沖電気工業株式会社
現金処理装置
2か月前
沖電気工業株式会社
媒体処理装置
1か月前
沖電気工業株式会社
棒金収納装置
23日前
沖電気工業株式会社
現金処理装置及び印字装置
1か月前
独立行政法人 国立印刷局
画像観察装置及び画像観察方法
1か月前
沖電気工業株式会社
媒体識別装置及び媒体処理装置
1か月前
続きを見る
他の特許を見る