TOP
|
特許
|
意匠
|
商標
特許ウォッチ
Twitter
他の特許を見る
公開番号
2025163603
公報種別
公開特許公報(A)
公開日
2025-10-29
出願番号
2024067037
出願日
2024-04-17
発明の名称
制御装置、及び画像形成装置
出願人
東芝テック株式会社
代理人
弁理士法人志賀国際特許事務所
主分類
B41J
29/38 20060101AFI20251022BHJP(印刷;線画機;タイプライター;スタンプ)
要約
【課題】無線タグへのタグ情報の書き込みに要する時間を短縮することができる制御装置を提供すること。
【解決手段】制御装置は、複数の無線タグが付された印刷媒体上に画像を形成する画像形成装置を制御する制御装置である。画像形成装置は、記憶部と、インターフェース部と、制御部とを持つ。記憶部は、複数の無線タグそれぞれについて、マスクパターンと、マスクパターンに対応付けられたタグ情報とが記憶される。インターフェース部は、無線タグへのタグ情報の書き込みを行う無線タグ通信装置が接続される。制御部は、記憶部に記憶されたマスクパターン毎に、マスクパターンに対応付けられたタグ情報と、複数の無線タグのうちマスクパターンに対応付けられた無線タグを選択する選択命令と、マスクパターンに対応付けられたタグ情報の書き込みを無線タグ通信装置に行わせる書込命令との送信を、インターフェース部を介して無線タグ通信装置へ繰り返し行う。
【選択図】図3
特許請求の範囲
【請求項1】
複数の無線タグが付された印刷媒体上に画像を形成する画像形成装置を制御する制御装置であって、
前記複数の無線タグのそれぞれについて、マスクパターンと、前記マスクパターンに対応付けられたタグ情報とが記憶された記憶部と、
前記複数の無線タグへの前記タグ情報の書き込みを行う無線タグ通信装置が接続されるインターフェース部と、
前記記憶部に記憶された前記マスクパターン毎に、前記マスクパターンに対応付けられた前記タグ情報と、前記複数の無線タグのうち前記マスクパターンに対応付けられた無線タグを選択する選択命令と、前記マスクパターンに対応付けられた前記タグ情報の書き込みを前記無線タグ通信装置に行わせる書込命令との送信を、前記インターフェース部を介して前記無線タグ通信装置へ繰り返し行う制御部と、
を備える制御装置。
続きを表示(約 790 文字)
【請求項2】
前記マスクパターンには、前記複数の無線タグのうち前記マスクパターンに対応付けられた無線タグを識別する無線タグ識別情報が含まれている、
請求項1に記載の制御装置。
【請求項3】
前記無線タグ識別情報は、前記印刷媒体上の位置を示す、
請求項2に記載の制御装置。
【請求項4】
前記制御部は、前記複数の無線タグへの前記タグ情報の書き込みが行われる書込位置へ前記印刷媒体が前記画像形成装置によって搬送された後、前記書込位置に位置する前記印刷媒体に対して、前記記憶部に記憶された前記マスクパターン毎に、前記マスクパターンに対応付けられた前記タグ情報と、前記複数の無線タグのうち前記マスクパターンに対応付けられた無線タグを選択する前記選択命令と、前記マスクパターンに対応付けられた前記タグ情報の書き込みを前記無線タグ通信装置に行わせる前記書込命令との送信を、前記インターフェース部を介して前記無線タグ通信装置へ繰り返し行う、
請求項1に記載の制御装置。
【請求項5】
請求項1に記載の制御装置と、
印刷媒体上に画像を形成する印刷部と、
を備える画像形成装置。
【請求項6】
前記記憶部には、前記複数の無線タグのそれぞれ毎に、無線タグの位置と、無線タグに対応付けられた前記マスクパターンとの対応関係を示す対応情報が記憶されており、
前記制御部は、前記複数の無線タグそれぞれの位置に対応付けられた画像データを含む印刷ジョブを受け付けた場合、前記記憶部に記憶された前記対応情報と、前記印刷ジョブとに基づいて、前記複数の無線タグそれぞれの位置に、その位置に対応付けられた前記画像データが示す画像を前記印刷部に印刷させる、
請求項5に記載の画像形成装置。
発明の詳細な説明
【技術分野】
【0001】
本発明の実施形態は、制御装置、及び画像形成装置に関する。
続きを表示(約 1,600 文字)
【背景技術】
【0002】
従来、複数のRFID(Radio Frequency Identification)タグが付された印刷媒体上に画像を形成可能な画像形成装置が知られている。
【先行技術文献】
【特許文献】
【0003】
特開2021-118471号公報
【発明の概要】
【発明が解決しようとする課題】
【0004】
ここで、特許文献1に記載されたような画像形成装置は、複数のRFIDタグへのタグ情報の書き込みが行われる位置への印刷媒体の搬送後、個々のRFIDタグを検出する。そして、画像形成装置は、検出したRFIDタグ毎に、RFIDタグへのタグ情報の書き込みを行う。しかしながら、複数のRFIDタグの検出に要する時間は、印刷媒体上に付されたRFIDタグの数が増えるほど長くなる。これは、ユーザの利便性の低下に繋がり、望ましいことではない。
【0005】
本発明が解決しようとする課題は、無線タグへのタグ情報の書き込みに要する時間を短縮することができる制御装置、及び画像形成装置を提供することである。
【課題を解決するための手段】
【0006】
実施形態の制御装置は、複数の無線タグが付された印刷媒体上に画像を形成する画像形成装置を制御する制御装置である。画像形成装置は、記憶部と、インターフェース部と、制御部とを持つ。記憶部は、複数の無線タグのそれぞれについて、マスクパターンと、マスクパターンに対応付けられたタグ情報とが記憶される。インターフェース部は、複数の無線タグへのタグ情報の書き込みを行う無線タグ通信装置が接続される。制御部は、記憶部に記憶されたマスクパターン毎に、マスクパターンに対応付けられたタグ情報と、複数の無線タグのうちマスクパターンに対応付けられた無線タグを選択する選択命令と、マスクパターンに対応付けられたタグ情報の書き込みを無線タグ通信装置に行わせる書込命令との送信を、インターフェース部を介して無線タグ通信装置へ繰り返し行う。
【図面の簡単な説明】
【0007】
実施形態の画像形成装置1の構成の一例を示す図である。
タグ有印刷媒体の構成の一例を示す図である。
制御装置110の機能構成の一例を示す図である。
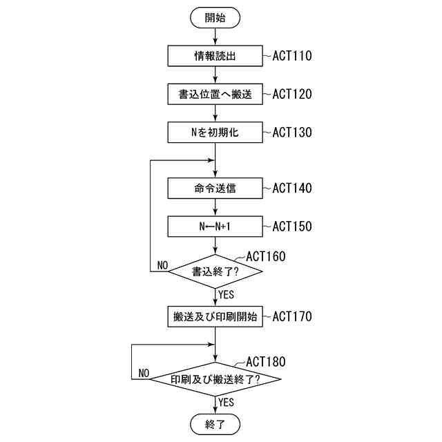
画像形成装置1が書込及び印刷処理を行う処理の流れの一例を示す図である。
無線タグ通信装置13が無線タグへタグ情報を書き込む処理の流れの一例を示す図である。
【発明を実施するための形態】
【0008】
実施形態に係る画像形成装置を、図面を参照して説明する。各図において、同一構成については同一の符号を付す。実施形態に係る画像形成装置の一例として、画像形成装置1を例に挙げて説明する。
【0009】
(画像形成装置の構成)
図1を参照し、画像形成装置1の構成について説明する。図1は、実施形態の画像形成装置1の構成の一例を示す図である。
【0010】
画像形成装置1は、印刷媒体上に画像を形成する装置である。説明の便宜上、印刷媒体上に画像を形成することを、印刷媒体上に画像を印刷すると称して説明する。例えば、画像形成装置1は、複合機、コピー機、プリンタ等である。画像形成装置1は、例えば、ワークプレイスに配置される。印刷媒体は、画像の印刷等の処理を画像形成装置1が行う対象となる媒体のことである。印刷媒体は、両面のうちの少なくとも一方に画像を印刷可能なシート状の媒体であれば、如何なる媒体であってもよい。例えば、印刷媒体は、シール台紙、印刷用紙、プラスチックフィルム等である。
(【0011】以降は省略されています)
この特許をJ-PlatPat(特許庁公式サイト)で参照する
関連特許
個人
箔熱転写装置
1か月前
シヤチハタ株式会社
印判
5か月前
シヤチハタ株式会社
反転式印判
10か月前
キヤノン株式会社
記録装置
1か月前
三光株式会社
感熱記録材料
7か月前
独立行政法人 国立印刷局
印刷物
7か月前
株式会社リコー
液体吐出装置
6か月前
独立行政法人 国立印刷局
貼付装置
2か月前
独立行政法人 国立印刷局
貼付機構
2か月前
株式会社リコー
液体吐出装置
4か月前
株式会社リコー
液体吐出装置
8か月前
日本製紙株式会社
感熱記録体
8か月前
株式会社リコー
画像形成装置
1か月前
株式会社リコー
画像形成装置
1か月前
株式会社リコー
液体吐出装置
6か月前
株式会社リコー
液体吐出装置
5か月前
独立行政法人 国立印刷局
記録媒体
9か月前
株式会社リコー
液体吐出装置
9か月前
株式会社リコー
液体吐出装置
8か月前
株式会社リコー
画像形成装置
1か月前
株式会社リコー
印刷システム
1か月前
株式会社リコー
液体吐出装置
2か月前
キヤノン株式会社
画像形成装置
21日前
キヤノン株式会社
画像形成装置
6か月前
ブラザー工業株式会社
プリンタ
4か月前
キヤノン株式会社
印刷システム
8か月前
ブラザー工業株式会社
液体吐出ヘッド
1か月前
キヤノン株式会社
画像形成装置
8か月前
キヤノン株式会社
画像形成装置
8か月前
キヤノン株式会社
画像形成装置
2か月前
キヤノン株式会社
画像記録装置
1か月前
キヤノン株式会社
画像処理装置
5か月前
キヤノン株式会社
画像形成装置
4か月前
ブラザー工業株式会社
プリンタ
9か月前
キヤノン株式会社
情報処理装置
10か月前
ブラザー工業株式会社
プリンタ
2か月前
続きを見る
他の特許を見る