TOP
|
特許
|
意匠
|
商標
特許ウォッチ
Twitter
他の特許を見る
10個以上の画像は省略されています。
公開番号
2025165042
公報種別
公開特許公報(A)
公開日
2025-11-04
出願番号
2024068885
出願日
2024-04-22
発明の名称
取引処理システム、取引処理装置及びそのプログラム
出願人
東芝テック株式会社
代理人
弁理士法人鈴榮特許綜合事務所
主分類
G07G
1/01 20060101AFI20251027BHJP(チェック装置)
要約
【課題】客のセルフ操作を店員が効率よく補助できるようにする。
【解決手段】取引処理装置は、第1表示部と、第2表示部と、制御部とを備える。第1表示部は、客による入力操作を受け付ける第1画像を表示する。第2表示部は、第1表示部に表示された第1画像と同じ内容の、店員による入力操作を受け付ける第2画像を表示する。制御部は、第1表示部に表示された第1画像に対する入力操作は受け付けず、第2表示部に表示された第2画像に対する店員の入力操作を受け付け、受け付けた入力操作の軌跡を第1表示部に表示させる。
【選択図】 図13
特許請求の範囲
【請求項1】
客による入力操作を受け付ける第1画像を表示する第1表示部と、
前記第1表示部に表示された第1画像と同じ内容の、店員による入力操作を受け付ける第2画像を表示する第2表示部と、
前記第1表示部に表示された第1画像に対する入力操作は受け付けず、前記第2表示部に表示された第2画像に対する店員の入力操作を受け付け、受け付けた入力操作の軌跡を前記第1表示部に表示させる制御部と、
を具備する取引処理装置。
続きを表示(約 950 文字)
【請求項2】
前記第1表示部を入力操作する客からの補助依頼を受け付ける受付部、
をさらに具備し、
前記第2表示部は、前記受付部で前記補助依頼を受け付けた場合に、前記第1表示部に表示された第1画像と同じ内容の第2画像を表示する、請求項1記載の取引処理装置。
【請求項3】
前記受付部で受け付けた前記補助依頼を承諾するか否かを決定する決定部、
をさらに具備し、
制御部は、前記決定部において前記補助依頼を承諾する決定がなされた場合に、前記第1表示部に表示された第1画像と同じ内容の第2画像を前記第2表示部に表示させる、請求項2記載の取引処理装置。
【請求項4】
前記決定部において前記補助依頼を承諾しない決定がなされた場合に、前記補助依頼を前記第2表示部と同等の表示部を有する他の機器に転送する転送部、
をさらに具備する請求項3記載の取引処理装置。
【請求項5】
請求項4記載の取引処理装置と、
前記取引処理装置から転送された前記補助依頼に応じて、前記第2表示部と同等の第3表示部に、前記第1表示部に表示された第1画像と同じ内容の第3画像を表示し、当該第3画像に対する店員の入力操作を受け付け、受け付けた入力操作の軌跡を前記第1表示部に表示する他の機器と、
を含む取引処理システム。
【請求項6】
前記他の機器は、前記補助依頼を転送した取引処理装置が設置されている決済レーンとは異なる決済レーンに設置されている取引処理装置である、請求項5記載の取引処理システム。
【請求項7】
取引処理装置のコンピュータに、
第1表示部に、客による入力操作を受け付ける第1画像を表示させる機能と、
第2表示部に、前記第1表示部に表示された第1画像と同じ内容の、店員による入力操作を受け付ける第2画像を表示させる機能と、
前記第1表示部に表示された第1画像に対する入力操作は受け付けず、前記第2表示部に表示された第2画像に対する店員の入力操作を受け付け、受け付けた入力操作の軌跡を前記第1表示部に表示させる機能と、
を実現させるためのプログラム。
発明の詳細な説明
【技術分野】
【0001】
本発明の実施形態は、取引処理システム、取引処理装置及びそのプログラムに関する。
続きを表示(約 2,500 文字)
【背景技術】
【0002】
スーパーマーケット、ホームセンター等の大型小売店向けの取引処理システムとして、二人制のシステムがある。二人制の取引処理システムは、チェッカと称される店員が操作者となる入力装置と、キャッシャと呼ばれる店員が操作者となる取引処理装置とを備える。入力装置は、商品に付されたバーコード等の購買商品に係る情報を入力するための機器である。取引処理装置は、入力装置を介して入力された情報を基に購買商品の商品販売データを処理して客との取引を決済するための機器である。二人制の取引処理システムは、入力装置と取引処理装置とが分かれているため、取引処理装置で一人目の客の決済を処理している間に入力装置で二人目の客の購買商品に係る情報の入力を開始することができる。したがって、客を効率的に捌くことができる。
【0003】
一方、近年では、人件費の削減、感染症対策等の観点から、取引の決済に必要な入金に関する操作を客自身に行わせたいという要望がある。二人制の取引処理システムにおいても、取引処理装置に対しての入金に関する操作を客自身に行わせる。そうすることにより、キャッシャを担当する店員が不要となるので、人件費を削減できる。
【0004】
しかしながら、全ての客が効率よく入金に関する操作をセルフで行えるとは限らない。例えば高齢者等の一部の客は、入金に関する操作に手間取ってしまい、取引を決済するまでに多くの時間を要する場合があり得る。このため、客のセルフ操作を店員が効率よく補助できる仕組みが求められている。
【先行技術文献】
【特許文献】
【0005】
特開2023-138695号公報
【発明の概要】
【発明が解決しようとする課題】
【0006】
本発明の実施形態が解決しようとする課題は、客のセルフ操作を店員が効率よく補助できる取引処理装置を提供しようとするものである。
【課題を解決するための手段】
【0007】
一実施形態において、取引処理装置は、第1表示部と、第2表示部と、制御部とを備える。第1表示部は、客による入力操作を受け付ける第1画像を表示する。第2表示部は、第1表示部に表示された第1画像と同じ内容の、店員による入力操作を受け付ける第2画像を表示する。制御部は、第1表示部に表示された第1画像に対する入力操作は受け付けず、第2表示部に表示された第2画像に対する店員の入力操作を受け付け、受け付けた入力操作の軌跡を第1表示部に表示させる。
【図面の簡単な説明】
【0008】
図1は、一実施形態に係る取引処理システムの概略構成を示すブロック図である。
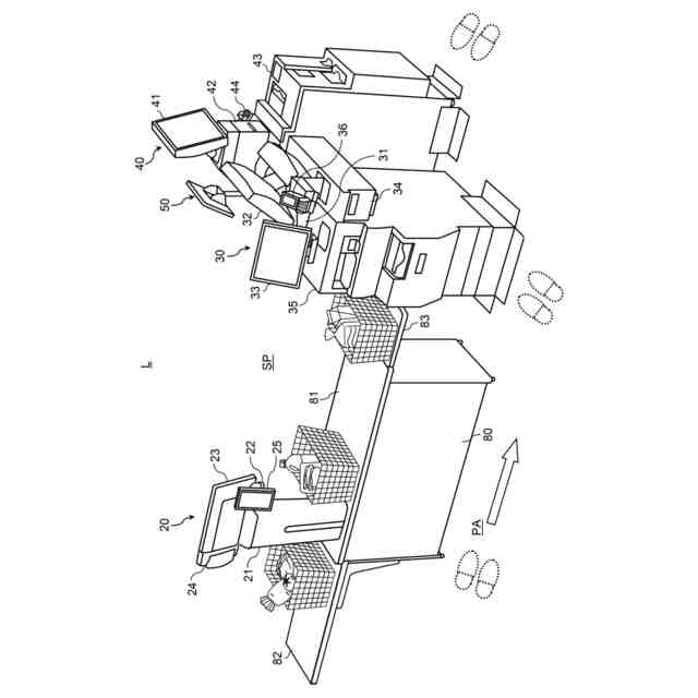
図2は、1つの決済レーンが備える入力装置、取引処理装置、決済装置及び指示装置の位置関係を示す模式図である。
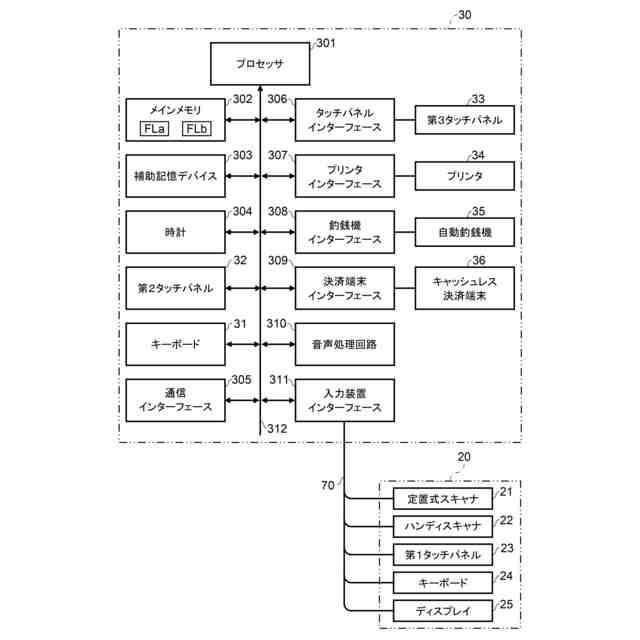
図3は、取引処理装置の要部回路構成を示すブロック図である。
図4は、決済装置の要部回路構成を示すブロック図である。
図5は、保留サーバの要部回路構成を示すブロック図である。
図6は、指示装置の要部回路構成を示すブロック図である。
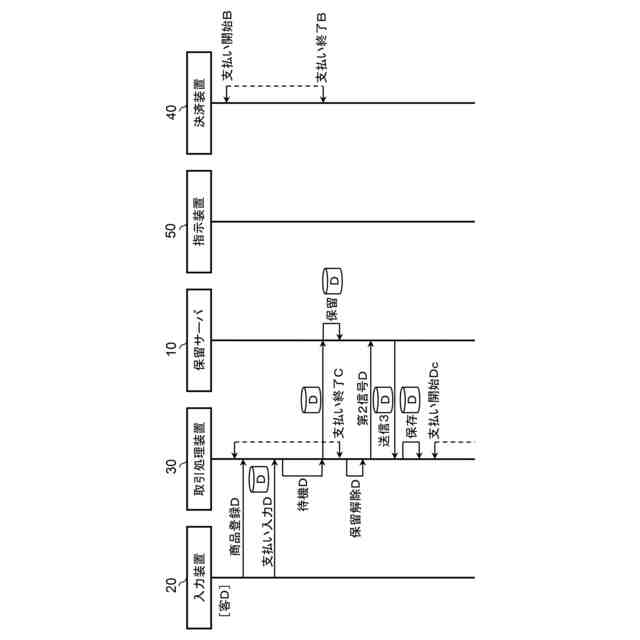
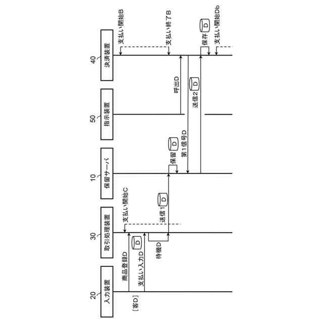
図7は、入力装置、取引処理装置、決済装置及び指示装置の動作例を示すシーケンス図である。
図8は、入力装置、取引処理装置、決済装置及び指示装置の動作例を示すシーケンス図である。
図9は、入力装置、取引処理装置、決済装置及び指示装置の動作例を示すシーケンス図である。
図10は、登録画像の一表示例である。
図11は、小計画像の一表示例である。
図12は、ガイダンス画像の一表示例である。
図13は、取引処理装置が有するセルフ操作補助機能の構成図である。
図14は、支払い方法選択画像の一表示例である。
図15は、補助依頼通知画像の一表示例である。
図16は、セルフ操作補助機能に関連して、取引処理装置のプロセッサが実行する主要な情報処理の手順を示す流れ図である。
図17は、店員補助通知イベントを受信した他の機器のプロセッサが実行する主要な情報処理の手順を示す流れ図である。
図18は、補助依頼通知画像の一表示例である。
図19は、電子マネー選択画像の一表示例である。
図20は、残高不足画像の一表示例である。
図21は、残高不足画像の一表示例である。
図22は、残高不足画像の一表示例である。
図23は、残高不足画像の一表示例である。
【発明を実施するための形態】
【0009】
以下、客のセルフ操作を店員が効率よく補助できる取引処理装置の実施形態について、図面を用いて説明する。
なお、本実施形態では、取引の決済に必要な入金に関する操作を客がセルフで行う場合において、操作が不明となった客を店員が効率よく補助できる取引処理装置を例示する。はじめに、取引処理装置を含む取引処理システムの概要について説明する。
【0010】
[取引処理システムの構成説明]
図1は、一実施形態に係る取引処理システム100の概略構成を示すブロック図である。取引処理システム100は、保留サーバ10を備える。また取引処理システム100は、決済レーンL毎に入力装置20、取引処理装置30、決済装置40及び指示装置50を備える。決済レーンLは、取引の決済を行う客が並ぶ通路を含む。取引処理システム100を小売店で導入する場合には、商品を購入する消費者が客となる。取引処理システム100を遊園地、美術館、博物館等の有料施設で導入する場合には、施設を利用する利用者が客となる。各決済レーンLには、それぞれ固有のレーン識別情報として例えば3桁のレーン番号が割り当てられている。決済レーンLは、チェックアウトレーン、会計レーン等と称される場合がある。
(【0011】以降は省略されています)
この特許をJ-PlatPat(特許庁公式サイト)で参照する
関連特許
東芝テック株式会社
プリンタ
1か月前
東芝テック株式会社
プリンタ装置
5日前
東芝テック株式会社
取引処理システム
5日前
東芝テック株式会社
取引処理システム
1か月前
東芝テック株式会社
ショッピングカート
1か月前
東芝テック株式会社
情報処理装置及び方法
13日前
東芝テック株式会社
チェックアウトシステム
19日前
東芝テック株式会社
取引処理装置及びプログラム
5日前
東芝テック株式会社
制御装置、及び画像形成装置
1か月前
東芝テック株式会社
情報処理装置及びプログラム
1か月前
東芝テック株式会社
情報処理装置及びプログラム
1か月前
東芝テック株式会社
情報処理装置及びプログラム
1か月前
東芝テック株式会社
情報処理装置及びプログラム
1か月前
東芝テック株式会社
情報処理装置及びプログラム
5日前
東芝テック株式会社
情報処理装置及びプログラム
1か月前
東芝テック株式会社
情報処理装置及び情報処理方法
1か月前
東芝テック株式会社
画像形成装置およびプログラム
5日前
東芝テック株式会社
会計装置及び情報処理プログラム
5日前
東芝テック株式会社
データ処理装置及びデータ処理方法
1か月前
東芝テック株式会社
情報処理装置、及び商品登録システム
28日前
東芝テック株式会社
販売データ処理装置およびプログラム
1か月前
東芝テック株式会社
情報処理装置及び情報処理プログラム
1か月前
東芝テック株式会社
無線タグ通信装置、およびプログラム
5日前
東芝テック株式会社
情報処理装置及び情報処理プログラム
1か月前
東芝テック株式会社
商品販売データ処理装置及びプログラム
1か月前
東芝テック株式会社
来店時間案内システムおよびプログラム
1か月前
東芝テック株式会社
商品販売データ処理装置及びプログラム
5日前
東芝テック株式会社
デバイス管理装置及び情報処理プログラム
1か月前
東芝テック株式会社
デバイス管理装置及び情報処理プログラム
1か月前
東芝テック株式会社
移動体システムおよび移動体収納システム
1か月前
東芝テック株式会社
情報処理装置、情報処理方法及びプログラム
29日前
東芝テック株式会社
情報処理装置、案内システム及びプログラム
5日前
東芝テック株式会社
セルフチェックアウト装置およびプログラム
1か月前
東芝テック株式会社
情報処理装置、情報処理方法、およびプログラム
1か月前
東芝テック株式会社
情報処理装置及びそのプログラム、情報処理システム
28日前
東芝テック株式会社
取引処理システム、取引処理装置及びそのプログラム
29日前
続きを見る
他の特許を見る