TOP
|
特許
|
意匠
|
商標
特許ウォッチ
Twitter
他の特許を見る
10個以上の画像は省略されています。
公開番号
2025176571
公報種別
公開特許公報(A)
公開日
2025-12-04
出願番号
2024082815
出願日
2024-05-21
発明の名称
画像形成装置及びサーバ
出願人
東芝テック株式会社
代理人
弁理士法人鈴榮特許綜合事務所
主分類
G03G
21/00 20060101AFI20251127BHJP(写真;映画;光波以外の波を使用する類似技術;電子写真;ホログラフイ)
要約
【課題】コストの増加を抑制しつつ、感光体ドラムの消耗度合いを判定する画像形成装置を提供する。
【解決手段】実施形態に係る画像形成装置は、温度取得部と、印刷部と、記憶部と、プロセッサと、を備える。温度取得部は、温度を取得する。印刷部は、感光体を用いて印刷を実行する。記憶部は、温度に紐付けられた通算印刷履歴を複数の温度について記憶する。プロセッサは、印刷部による印刷の実行に基づいて、温度取得部が取得した温度に対応する通算印刷履歴を更新する。プロセッサは、複数の通算印刷履歴に基づいて感光体の消耗度合いを推定する。
【選択図】 図10
特許請求の範囲
【請求項1】
温度を取得する温度取得部と、
感光体を用いて印刷を実行する印刷部と、
温度に紐付けられた通算印刷履歴を複数の温度について記憶する記憶部と、
前記印刷部による印刷の実行に基づいて、前記温度取得部が取得した温度に対応する前記通算印刷履歴を更新するプロセッサと、
を備え、
前記プロセッサは、複数の前記通算印刷履歴に基づいて前記感光体の消耗度合いを推定する、画像形成装置。
続きを表示(約 630 文字)
【請求項2】
前記プロセッサは、複数の前記通算印刷履歴それぞれについて、紐付けられた温度に対応する係数と前記通算印刷履歴とを乗算した乗算値を算出して、前記乗算値の総和を算出することで、前記推定を実行する、請求項1に記載の画像形成装置。
【請求項3】
前記プロセッサは、前記推定の結果と閾値とを比較して、前記推定の結果が閾値よりも大きい場合に、前記感光体の消耗度合いが大きいことを報知する、請求項2に記載の画像形成装置。
【請求項4】
前記プロセッサは、前記推定の結果が前記閾値以下の場合に、複数の前記通算印刷履歴に基づいて、推定結果が前記閾値よりも大きくなるのにかかる日数をさらに推定する、請求項3に記載の画像形成装置。
【請求項5】
前記複数の温度が網羅する温度範囲を上下二分の一に分割すると、低温側に含まれる温度区分の数が、高温側に含まれる温度区分の数よりも多い、請求項1に記載の画像形成装置。
【請求項6】
感光体を用いて印刷を実行する画像形成装置から、印刷時の温度に対応して記憶された複数の通算印刷履歴を受信する通信インターフェースと、
複数の前記通算印刷履歴に基づいて前記感光体の消耗度合いを推定し、前記推定の結果に基づいて、前記通信インターフェースを制御して外部の情報端末に前記感光体の消耗を報知させる命令を送信するプロセッサと、
を備える、サーバ。
発明の詳細な説明
【技術分野】
【0001】
本発明の実施形態は、画像形成装置及びサーバに関する。
続きを表示(約 2,400 文字)
【背景技術】
【0002】
表面電位センサや電流検出回路等の、感光体ドラムの特性を測定する回路を用いて、感光体ドラムの消耗度合いを判定する画像形成装置が知られている。しかしながら、表面電位センサや電流検出回路等の、感光体ドラムの特性を測定する回路を設けることは、コストの増加につながる。
【先行技術文献】
【特許文献】
【0003】
特開平8-220950号公報
【発明の概要】
【発明が解決しようとする課題】
【0004】
本発明の一実施形態は、コストの増加を抑制しつつ、感光体ドラムの消耗度合いを判定する画像形成装置及びサーバを提供する。
【課題を解決するための手段】
【0005】
実施形態に係る画像形成装置は、温度取得部と、印刷部と、記憶部と、プロセッサと、を備える。温度取得部は、温度を取得する。印刷部は、感光体を用いて印刷を実行する。記憶部は、温度に紐付けられた通算印刷履歴を複数の温度について記憶する。プロセッサは、印刷部による印刷の実行に基づいて、温度取得部が取得した温度に対応する通算印刷履歴を更新する。プロセッサは、複数の通算印刷履歴に基づいて感光体の消耗度合いを推定する。
【図面の簡単な説明】
【0006】
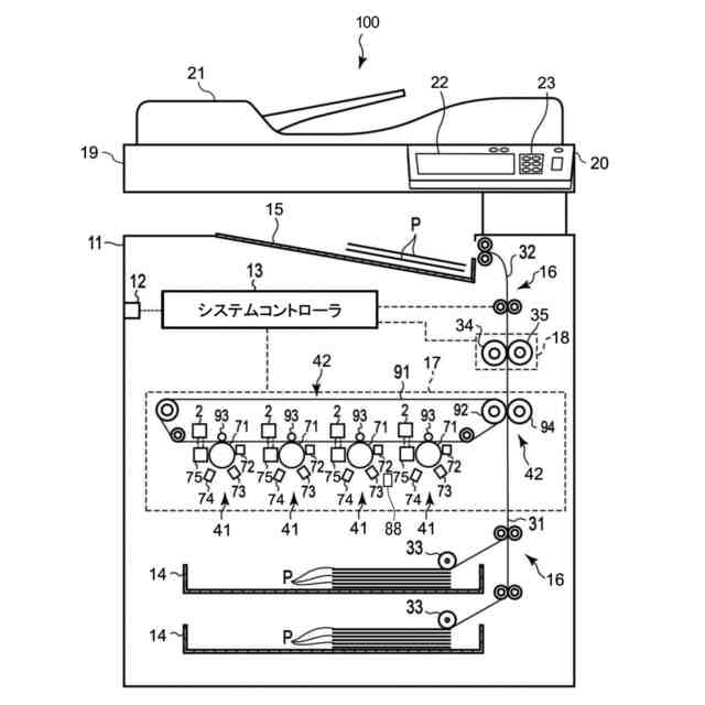
第1実施形態に係る画像形成装置を複数台含む印刷システムの概略構成図。
第1実施形態に係る画像形成装置の一例を示す概略断面図。
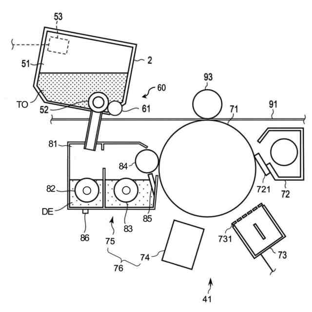
第1実施形態に係る画像形成装置の画像形成部の要部構成を示す模式図。
第1実施形態に係る画像形成装置の回路構成の一例を示すブロック図。
第1実施形態に係る画像形成装置の補助記憶デバイスの記憶データを示す概念図。
第1実施形態に係る画像形成装置の補助記憶デバイスに記憶される第1印刷履歴情報の具体例を示す図。
第1実施形態に係るサーバの構成例を示すブロック図。
第1実施形態に係るサービスマン端末の構成例を示すブロック図。
第1実施形態に係る画像形成装置が実行する履歴更新処理の一例を示すフローチャート。
第1実施形態に係る画像形成装置が実行する消耗判定処理の一例を示すフローチャート。
第1実施形態に係る画像形成装置が実行する残り寿命推定処理の一例を示すフローチャート。
第1実施形態に係る画像形成装置の感光体ドラムの通紙枚数と膜削れ量との関係の一例を示すグラフ。
第1実施形態に係る画像形成装置の感光体ドラムの温度と膜削れ率との関係の一例を示すグラフ。
第2実施形態に係る印刷システムの動作の一例を示すシーケンス図。
変形例に係る第1印刷履歴情報の具体例を示す図。
【発明を実施するための形態】
【0007】
以下、実施形態につき図面を参照して説明する。説明に際し、略同一の機能及び構成を有する構成要素については、同一符号を付す。また、以下に示す実施形態は、技術的思想を例示するものである。実施形態は、構成部品の材質、形状、構造、配置等を特定するものではない。実施形態は、種々の変更を加えることができる。
【0008】
<第1実施形態>
<構成>
図1は、第1実施形態に係る画像形成装置を複数台含む印刷システムの概略構成図である。印刷システムは、更に、複数のユーザ端末200と、サーバ300と、サービスマン端末400と、を備えている。各画像形成装置100は、ワークプレイスに置かれ、例えば同じワークプレイスに配置されたユーザ端末200に、LAN(Local Area Network)等の社内ネットワーク500を介して通信可能に接続され得る。この接続は、有線接続であっても良いし、無線接続であっても良い。また、社内ネットワーク500は、インターネット等の社外ネットワーク600と接続される。サーバ300及びサービスマン端末400は、社外ネットワーク600と接続される。これにより、画像形成装置100は、社内ネットワーク500及び社外ネットワーク600を介してサーバ300と通信可能に接続され得る。
【0009】
ユーザ端末200は、何れかの画像形成装置100での印刷を指示する、パーソナルコンピュータ(PC)、スマートフォン、タブレット端末、デジタルカメラ、等の情報処理装置である。なお、ユーザ端末200は、社外ネットワーク600及び社内ネットワーク500を介して画像形成装置100に通信可能に接続されるものであっても良い。即ち、ユーザ端末200は、画像形成装置100が置かれたワークプレイス外にあっても良い。また、ユーザ端末200は、社外ネットワーク600及び社内ネットワーク500を介することなく、直接、画像形成装置100と接続される、つまりローカルに接続されていても良い。このローカル接続についても、有線接続であっても良いし、無線接続であっても良い。
【0010】
サーバ300は、画像形成装置100の保守点検を請け負う管理会社が直接またはサービス提供会社に委託して運用するコンピュータ装置である。サーバ300は、定期的にまたは必要に応じて各画像形成装置100の動作状況を示すデータを取得する。サーバ300は、取得したデータに基づいて、各画像形成装置100の点検や修理の必要性を判別する。そして、点検や修理が必要な画像形成装置100が存在すれば、サーバ300は、その画像形成装置100を特定する情報を、サービスマン端末400に送信することで、サービスマンに当該画像形成装置100の点検や修理に向かわせることができる。
(【0011】以降は省略されています)
この特許をJ-PlatPat(特許庁公式サイト)で参照する
関連特許
東芝テック株式会社
プリンタ
1か月前
東芝テック株式会社
プリンタ装置
6日前
東芝テック株式会社
画像形成装置
1か月前
東芝テック株式会社
プリンタ装置
今日
東芝テック株式会社
取引処理システム
6日前
東芝テック株式会社
取引処理システム
1か月前
東芝テック株式会社
ショッピングカート
1か月前
東芝テック株式会社
情報処理装置及び方法
14日前
東芝テック株式会社
画像形成装置及びサーバ
今日
東芝テック株式会社
チェックアウトシステム
20日前
東芝テック株式会社
サーバ及び画像形成装置
1日前
東芝テック株式会社
情報処理装置及びプログラム
1か月前
東芝テック株式会社
情報処理装置及びプログラム
1か月前
東芝テック株式会社
情報処理装置及びプログラム
1か月前
東芝テック株式会社
情報処理装置及びプログラム
1か月前
東芝テック株式会社
制御装置、及び画像形成装置
1か月前
東芝テック株式会社
情報処理装置及びプログラム
1か月前
東芝テック株式会社
取引処理装置及びプログラム
6日前
東芝テック株式会社
情報処理装置及びプログラム
6日前
東芝テック株式会社
情報処理装置及び情報処理方法
1か月前
東芝テック株式会社
インターロックおよびプリンタ
1か月前
東芝テック株式会社
画像形成装置およびプログラム
6日前
東芝テック株式会社
会計装置及び情報処理プログラム
6日前
東芝テック株式会社
データ処理装置及びデータ処理方法
1か月前
東芝テック株式会社
スポーツ指導装置およびプログラム
今日
東芝テック株式会社
情報処理装置及び情報処理プログラム
1か月前
東芝テック株式会社
情報処理装置、及び商品登録システム
29日前
東芝テック株式会社
情報処理装置及び情報処理プログラム
1か月前
東芝テック株式会社
無線タグ通信装置、およびプログラム
6日前
東芝テック株式会社
販売データ処理装置およびプログラム
1か月前
東芝テック株式会社
商品販売データ処理装置及びプログラム
1か月前
東芝テック株式会社
商品販売データ処理装置及びプログラム
6日前
東芝テック株式会社
来店時間案内システムおよびプログラム
1か月前
東芝テック株式会社
移動体システムおよび移動体収納システム
1か月前
東芝テック株式会社
デバイス管理装置及び情報処理プログラム
1か月前
東芝テック株式会社
デバイス管理装置及び情報処理プログラム
1か月前
続きを見る
他の特許を見る