TOP
|
特許
|
意匠
|
商標
特許ウォッチ
Twitter
他の特許を見る
10個以上の画像は省略されています。
公開番号
2025177736
公報種別
公開特許公報(A)
公開日
2025-12-05
出願番号
2024084806
出願日
2024-05-24
発明の名称
レンズミラーアレイ
出願人
東芝テック株式会社
代理人
弁理士法人鈴榮特許綜合事務所
主分類
G02B
5/00 20060101AFI20251128BHJP(光学)
要約
【課題】表面の所定部位に遮光部材を設けることができ、光学特性を良好にすることができるレンズミラーアレイを提供する。
【解決手段】レンズミラーアレイ1は、第1の方向に配列した複数の光学エレメント90を有する。各光学エレメントは、光が入射する入射面2と、第1の方向と直交する第2の方向に延設され、入射面を介して入射した光を反射する反射面3と、第2の方向に延設され、反射面を突出方向の頂部に有する凸部6と、反射面で反射した光を出射する出射面5と、を有する。レンズミラーアレイは、櫛歯状の溝7と、遮光インクを溜める手段と、遮光部材と、を有する。櫛歯状の溝は、複数の光学エレメントの第1の方向に並んだ複数の凸部の間に設けられ、複数の凸部の第2の方向の一端に隣接して第2の方向と交差する端面を有する複数本の直線状の溝を含み、複数の凸部の第2の方向の他端側で複数本の直線状の溝をつないだものである。
【選択図】図4
特許請求の範囲
【請求項1】
第1の方向に配列した複数の光学エレメントを有し、
前記光学エレメントが、
光が入射する入射面と、
前記第1の方向と直交する第2の方向に延設され、前記入射面を介して入射した光を反射する反射面と、
前記第2の方向に延設され、前記反射面を突出方向の頂部に有する凸部と、
前記反射面で反射した光を出射する出射面と、を有し、
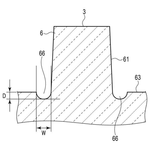
複数の前記光学エレメントの前記第1の方向に並んだ複数の前記凸部の間に設けられ、複数の前記凸部の前記第2の方向の一端に隣接して前記第2の方向と交差する端面を有する複数本の直線状の溝を含み、複数の前記凸部の前記第2の方向の他端側で複数本の前記直線状の溝をつないだ櫛歯状の溝と、
前記櫛歯状の溝の底面と複数の前記凸部の前記反射面のエッジに連続した側面が交差する交差部に設けた遮光インクを溜める手段と、
前記櫛歯状の溝の前記底面と複数の前記凸部の前記側面と複数の前記直線状の溝の前記端面に前記遮光インクを塗布して硬化させた遮光部材と、
を有するレンズミラーアレイ。
続きを表示(約 330 文字)
【請求項2】
前記遮光インクを溜める手段は、複数の前記光学エレメントの前記第1の方向に並んだ複数の前記凸部の間にある、
請求項1に記載のレンズミラーアレイ。
【請求項3】
前記遮光インクを溜める手段は、複数本の前記直線状の溝の前記端面から遠い他端側にある、
請求項1に記載のレンズミラーアレイ。
【請求項4】
前記遮光インクを溜める手段は、複数の前記光学エレメントの前記第1の方向に並んだ複数の前記凸部の間にある、
請求項3に記載のレンズミラーアレイ。
【請求項5】
前記遮光インクを溜める手段は、前記交差部に設けたくぼみである、
請求項1に記載のレンズミラーアレイ。
発明の詳細な説明
【技術分野】
【0001】
本発明の実施形態は、複写機、プリンタ、スキャナなどに組み込まれるレンズ、ミラー一体型アレイ(以下、レンズミラーアレイと称する)に関する。
続きを表示(約 2,300 文字)
【背景技術】
【0002】
例えば、画像形成装置の原稿読取装置は、原稿面から入射する光を屈折及び反射してセンサアレイに集光するためのレンズミラーアレイを有する。また、画像形成装置の感光体ドラムの表面に静電潜像を形成する露光装置は、光源から出射する画像信号に基づく光を屈折及び反射して感光体ドラムの表面に集光するためのレンズミラーアレイを有する。
【0003】
露光装置のレンズミラーアレイは、例えば、主走査方向に並んだ複数の光源からの光を感光体ドラムの表面へ集光する複数の光学エレメントを有する。レンズミラーアレイは、複数の光学エレメントを主走査方向に一体につなげた構造を有する。レンズミラーアレイは、例えば透明な樹脂により形成することができる。
【0004】
レンズミラーアレイの各光学エレメントは、その表面の一部に遮光部材を有する。遮光部材は、露光に不要な光(例えば、隣の光学エレメントへ不所望に入射する光など)を遮光する。
【先行技術文献】
【特許文献】
【0005】
特開2022-094439号公報
【発明の概要】
【発明が解決しようとする課題】
【0006】
レンズミラーアレイは、表面にレンズ面とミラー面を備える複数の光学エレメントを主走査方向に1mm未満のピッチで配列した複雑且つ微細な凹凸からなる表面形状を有するため、この表面の所望する部位にだけ遮光部材を設けることは非常に難しい。
【0007】
本発明が解決しようとする課題は、表面の所定部位に遮光部材を設けることができ、光学特性を良好にすることができるレンズミラーアレイを提供することである。
【課題を解決するための手段】
【0008】
実施形態のレンズミラーアレイは、第1の方向に配列した複数の光学エレメントを有する。各光学エレメントは、光が入射する入射面と、第1の方向と直交する第2の方向に延設され、入射面を介して入射した光を反射する反射面と、第2の方向に延設され、反射面を突出方向の頂部に有する凸部と、反射面で反射した光を出射する出射面と、を有する。レンズミラーアレイは、櫛歯状の溝と、遮光インクを溜める手段と、遮光部材と、を有する。櫛歯状の溝は、複数の光学エレメントの第1の方向に並んだ複数の凸部の間に設けられ、複数の凸部の第2の方向の一端に隣接して第2の方向と交差する端面を有する複数本の直線状の溝を含み、複数の凸部の第2の方向の他端側で複数本の直線状の溝をつないだものである。遮光インクを溜める手段は、櫛歯状の溝の底面と複数の凸部の反射面のエッジに連続した側面が交差する交差部に設けてある。遮光部材は、櫛歯状の溝の底面と複数の凸部の側面と複数の直線状の溝の端面に遮光インクを塗布して硬化させたものである。
【図面の簡単な説明】
【0009】
図1は、一実施形態に係る画像形成装置を示す概略図である。
図2は、図1の画像形成装置の黄色用の画像形成部を示す概略図である。
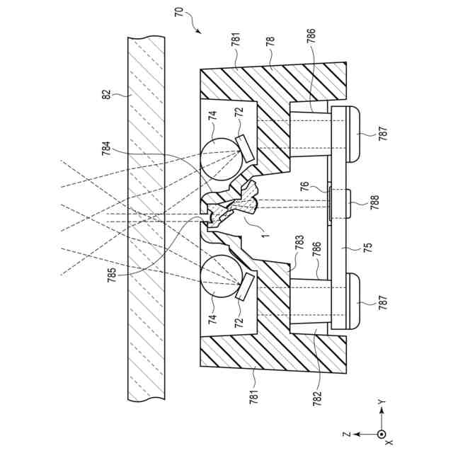
図3は、図1の画像形成装置のスキャナに組み込まれた読取モジュールを示す断面図である。
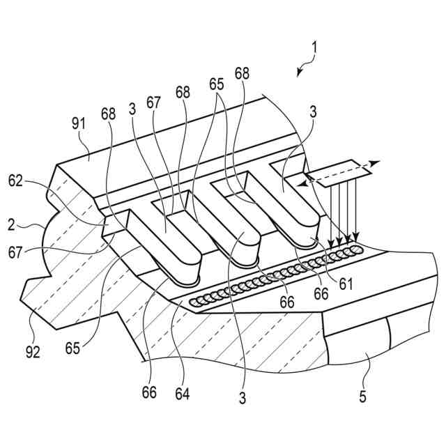
図4は、図3の読取モジュールに組み込まれたレンズミラーアレイを示す部分拡大斜視図である。
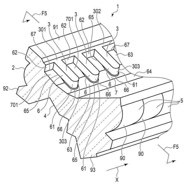
図5は、図4のレンズミラーアレイを複数の光学エレメントの間の架空の境界面F5-F5で切断した断面図である。
図6は、図4のレンズミラーアレイの櫛歯状の溝の内面に遮光部材を設けた状態を示す部分拡大斜視図である。
図7は、図4のレンズミラーアレイの凸部を主走査方向から見た図である。
図8は、図7の凸部をF8-F8に沿って切断した断面図である。
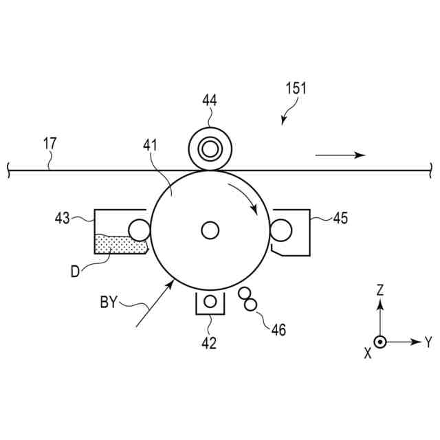
図9は、図4のレンズミラーアレイのインク塗布面に遮光インクを塗布する方法を説明するための図である。
図10は、図9のインク塗布面に遮光インクを塗布した直後における遮光インクの濡れ拡がり方を説明するための図である。
図11は、従来のくぼみを設けていないレンズミラーアレイの櫛歯状の溝の内面に遮光部材を設けた状態を示す部分拡大斜視図である。
図12は、図11の従来のレンズミラーアレイのインク塗布面に遮光インクを塗布した直後における遮光インクの濡れ拡がり方を説明するための図である。
図13は、図4のレンズミラーアレイのくぼみの深さと幅を変えて櫛歯状の溝の内面に遮光インクを塗布した結果を示す図である。
図14は、図4のくぼみの深さを一定にした変形例を示す断面図である。
図15は、図4のくぼみの断面形状を矩形にした変形例を示す断面図である。
図16は、図4のくぼみを凸部の両側に分割して設けた変形例を示す斜視図である。
図17は、図16のくぼみをドット状にした変形例を示す斜視図である。
【発明を実施するための形態】
【0010】
以下、図面を参照して、一実施形態に係るレンズミラーアレイ1を使用した画像形成装置100について説明する。なお、以下の実施形態の説明に用いる各図面は、各部の縮尺を適宜変更している場合がある。また、以下の実施形態の説明に用いる各図面は、説明を分かり易くするため、構成を省略して示している場合がある。各図面において、画像形成装置100を正面(図1の紙面手前側)から見て前後、左右、上下の各方向を規定し、後方から前方に向かう方向を矢印Xで示し、左から右に向かう方向を矢印Yで示し、下から上に向かう方向を矢印Zで示す。
(【0011】以降は省略されています)
この特許をJ-PlatPat(特許庁公式サイト)で参照する
関連特許
東芝テック株式会社
プリンタ
1か月前
東芝テック株式会社
プリンタ
2日前
東芝テック株式会社
プリンタ
2か月前
東芝テック株式会社
光学装置
2日前
東芝テック株式会社
プリンタ
2か月前
東芝テック株式会社
プリンタ装置
9日前
東芝テック株式会社
画像形成装置
1か月前
東芝テック株式会社
プリンタ装置
2か月前
東芝テック株式会社
プリンタ装置
2か月前
東芝テック株式会社
プリンタ装置
3日前
東芝テック株式会社
取引処理システム
9日前
東芝テック株式会社
取引処理システム
1か月前
東芝テック株式会社
ショッピングカート
1か月前
東芝テック株式会社
レンズミラーアレイ
2日前
東芝テック株式会社
情報処理装置及び方法
17日前
東芝テック株式会社
サーバ及び画像形成装置
4日前
東芝テック株式会社
チェックアウトシステム
23日前
東芝テック株式会社
チェックアウトシステム
2か月前
東芝テック株式会社
プリンタ及びプログラム
1か月前
東芝テック株式会社
画像形成装置及びサーバ
3日前
東芝テック株式会社
販売時点における行動検出
2か月前
東芝テック株式会社
情報処理装置及びプログラム
9日前
東芝テック株式会社
プリンタ装置及びプログラム
2か月前
東芝テック株式会社
冷却装置および画像形成装置
2日前
東芝テック株式会社
情報処理装置及びプログラム
1か月前
東芝テック株式会社
情報処理装置及びプログラム
1か月前
東芝テック株式会社
情報処理装置及びプログラム
1か月前
東芝テック株式会社
制御装置、及び画像形成装置
1か月前
東芝テック株式会社
情報処理装置及びプログラム
1か月前
東芝テック株式会社
取引処理装置及びプログラム
9日前
東芝テック株式会社
情報処理装置及びプログラム
1か月前
東芝テック株式会社
インターロックおよびプリンタ
1か月前
東芝テック株式会社
画像形成装置及びその制御方法
2日前
東芝テック株式会社
情報処理装置およびプログラム
1か月前
東芝テック株式会社
商品登録装置およびプログラム
1か月前
東芝テック株式会社
画像形成装置およびプログラム
9日前
続きを見る
他の特許を見る