TOP
|
特許
|
意匠
|
商標
特許ウォッチ
Twitter
他の特許を見る
公開番号
2025149821
公報種別
公開特許公報(A)
公開日
2025-10-08
出願番号
2024193151
出願日
2024-11-01
発明の名称
販売時点における行動検出
出願人
東芝テック株式会社
代理人
弁理士法人鈴榮特許綜合事務所
主分類
G07G
1/12 20060101AFI20251001BHJP(チェック装置)
要約
【課題】販売時点における行動を検出するシステムおよび方法が提供される。
【解決手段】1つの例示的な実施形態では、方法は、光学センサデバイスと、光学スキャナデバイスと、荷重センサデバイスとを有するPOSシステムによって実行される。光学センサデバイスは、POSシステムの周りの第1の領域を含む視野を有し、荷重センサデバイスは、POSシステムの袋詰めエリア内に配置されている間に物体の荷重を測定するように動作可能である。さらに、第1の領域は、スキャンまたは計量される必要なしに袋詰めエリア内に配置され得る特定の物体タイプに関連付けられた第2の領域を含む。本方法は、ターゲット物体が、連続する画像に基づいて、スキャンまたは計量されることを免除される特定の物体タイプに対応するという決定を可能にするために、光学センサデバイスによってキャプチャされた連続する画像を取得することを含む。
【選択図】図1
特許請求の範囲
【請求項1】
端末ステーション装置と、袋詰めエリアを有する袋詰めステーション装置とを有する販売時点情報管理システムが実行する方法であって、
前記システムは、光学センサデバイス、光学スキャナデバイス、および荷重センサデバイスに接続され、
前記光学センサデバイスは、前記システムの周りの第1の領域を含む画像をキャプチャするように動作可能であり、
前記光学スキャナデバイスは、物体の視覚的物体識別子コードをスキャンするように動作可能であり、
前記荷重センサデバイスは、前記袋詰めエリアにある間に物体の荷重を測定するように動作可能であり、
前記第1の領域には、スキャンまたは計量されずに前記袋詰めエリアにあり得る特定の物体タイプに対応する第2の領域が含まれることがあり、
前記システムが、
前記光学センサデバイスによってキャプチャされる画像であって、前記第2の領域から前記袋詰めエリアに移動されているターゲット物体に関連付けられた連続する画像を取得し、
前記連続する画像に基づいて、前記ターゲット物体が、スキャンまたは計量されずに前記袋詰めエリアにあり得る前記特定の物体タイプに対応するかを決定する、方法。
続きを表示(約 1,500 文字)
【請求項2】
前記画像を取得することは、
前記システムの処理回路によって、前記光学センサデバイスから、連続する各画像の画像データを受信することをさらに含む、請求項1に記載の方法。
【請求項3】
前記袋詰めエリアにある間に前記ターゲット物体に関連付けられた荷重測定値を取得することをさらに備える、請求項1に記載の方法。
【請求項4】
前記荷重測定値を取得することは、
前記システムの処理回路によって、前記荷重センサデバイスから、前記袋詰めエリアにある前記ターゲット物体に関連付けられた前記荷重測定値を受信することをさらに含む、請求項3に記載の方法。
【請求項5】
前記連続する画像に基づいて、スキャンまたは計量されずに、前記ターゲット物体が前記第2の領域から前記袋詰めエリアに移動され得ると決定することをさらに備える、請求項1に記載の方法。
【請求項6】
前記ターゲット物体が、計量またはスキャンされずに、前記第2の領域から前記袋詰めエリアに移動され得る前記特定の物体タイプに対応すると決定することと、
前記ターゲット物体の荷重測定値が前記特定の物体タイプの予想荷重に対応すると決定することと、
前記連続する画像に基づいて、スキャンまたは計量されずに、前記ターゲット物体が前記第2の領域から前記袋詰めエリアに移動され得ると決定することと
をさらに備える、請求項1に記載の方法。
【請求項7】
前記連続する画像に基づいて前記第1の領域の行動を検出することと、
連続する画像に基づいて、前記第1の領域の前記検出された行動が、前記第2の領域の前記ターゲット物体に対応すると決定することと、
前記連続する画像に基づいて、スキャンまたは計量されずに、前記ターゲット物体が前記袋詰めエリアにあり得ると決定することと
をさらに備える、請求項1に記載の方法。
【請求項8】
前記連続する画像に基づいて、前記袋詰めエリアの行動を検出することと、
前記連続する画像に基づいて、前記袋詰めエリアの前記検出された行動が、前記袋詰めエリアに配置される前記ターゲット物体に対応すると決定することと、
前記連続する画像に基づいて、スキャンまたは計量されずに、前記ターゲット物体が前記袋詰めエリアにあり得ると決定することと
をさらに備える、請求項1に記載の方法。
【請求項9】
前記ターゲット物体が、スキャンまたは計量されずに、前記第2の領域から前記袋詰めエリアに移動され得る前記特定の物体タイプに対応すると決定することと、
前記ターゲット物体が、計量またはスキャンされずに、前記袋詰めエリアにあり得ると決定することと
をさらに備える、請求項1に記載の方法。
【請求項10】
前記袋詰めエリアにある間に前記ターゲット物体に関連付けられた荷重測定値を取得することと、
前記ターゲット物体の前記荷重測定値が、前記袋詰めエリアの想定外の荷重測定値に対応すると決定することと、
前記ターゲット物体が、計量またはスキャンされずに、前記第2の領域から前記袋詰めエリアに移動され得る前記特定の物体タイプに対応すると決定することと、
前記袋詰めエリアの前記想定外の荷重測定値が、計量またはスキャンされずに、前記袋詰めエリアにあり得る物体に関連付けられていると決定することと
をさらに備える、請求項1に記載の方法。
(【請求項11】以降は省略されています)
発明の詳細な説明
【背景技術】
【0001】
[0001]小売業者は、チェックアウト動作を合理化し、小売業者が販売を処理し、支払いを処理し、後の検索のために取引を記憶することを可能にするために、販売時点情報管理(POS)ハードウェア/ソフトウェアシステムを使用する。各POSシステムは、一般に、POS端末ステーションとPOS袋詰めステーションとを含むいくつかの構成要素を含む。POS袋詰めステーションは、顧客または小売スタッフが、POSシステムでのチェックアウト中に、購入した小売商品をショッピングバッグに袋詰めすることを可能にすることができる。POS端末ステーションデバイスは、コンピュータ、モニタ、キャッシュドロワー、レシートプリンタ、顧客ディスプレイ、バーコードスキャナ、またはデビット/クレジットカードリーダを含むことができる。POSシステムは、コンベアベルト、チェックアウトデバイダ、重量スケール、統合クレジットカード処理システム、署名キャプチャデバイス、または顧客PINパッドデバイスも含むことができる。POSシステムはキーボードおよびマウスを含むことがあるが、ますます多くのPOSシステムが、タッチスクリーン技術を有するモニタを含む。さらに、POSシステムと統合されたソフトウェアは、製品スキャン、販売、返品、交換、購入予約、ギフトカード、ギフト登録、顧客ロイヤリティプログラム、プロモーション、および割引などの無数の顧客ベースの機能を処理するように構成され得る。小売環境では、ネットワークを介してサーバと通信する複数のPOSシステムが存在し得る。
続きを表示(約 5,600 文字)
【0002】
[0002]次に、本開示の実施形態が示されている添付の図面を参照して、本開示が以下により完全に説明される。しかしながら、本開示は、本明細書に記載される実施形態に限定されると解釈されるべきではない。むしろ、これらの実施形態は、本開示が徹底的かつ完全であり、本開示の範囲を当業者に完全に伝えるように提供される。全体を通して、同様の番号は同様の要素を指す。
【図面の簡単な説明】
【0003】
[0003]図1は、本明細書で説明される様々な態様による、販売時点において行動検出を実行するように動作可能なPOSシステムの一実施形態を示す図である。
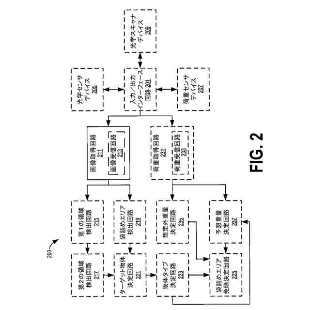
[0004]図2は、本明細書で説明される様々な態様によるPOSシステムの別の実施形態を示す図である。
[0005]図3は、本明細書で説明される様々な態様によるPOSシステムの別の実施形態を示す図である。
[0006]図4Aは、本明細書で説明される様々な態様による、販売時点における行動検出のPOSシステムによって実行される方法の実施形態を示す図である。
図4Bは、本明細書で説明される様々な態様による、販売時点における行動検出のPOSシステムによって実行される方法の実施形態を示す図である。
図4Cは、本明細書で説明される様々な態様による、販売時点における行動検出のPOSシステムによって実行される方法の実施形態を示す図である。
[0007]図5は、本明細書で説明される様々な態様によるPOSシステムの別の実施形態を示す図である。
【発明を実施するための形態】
【0004】
[0008]簡潔性および例示の目的で、本開示は、その例示的な実施形態を主に参照することによって説明される。以下の説明では、本開示の完全な理解を提供するために、多数の具体的な詳細が記載される。しかしながら、本開示がこれらの具体的な詳細に限定されることなく実施され得ることは、当業者には容易に明らかであろう。
【0005】
[0009]セルフチェックアウトステーションは、消費者がスキャンされた商品をショッピングカートまたはバッグ内に置くことを確実にするために、重量ベースの商品セキュリティを利用することができる。さらに、コンピュータビジョンシステムは、セルフチェックアウトステーションに関連付けられた行動のビデオをキャプチャすることができ、キャプチャされたビデオに基づいて消費者の相互作用および行為を分析することができる。さらに、いくつかのモデルおよびアルゴリズムは、キャプチャされたビデオの処理における異なる段階において統合され得る。これらのモデルおよびアルゴリズムは、キャプチャされたビデオから有用な情報を抽出することができ、セルフチェックアウト端末との消費者の相互作用の様々な段階を表すために、キャプチャされたビデオを処理することができる。たとえば、消費者がスキャンまたは計量された商品をショッピングカートまたはバッグ内に置いたことを検出するために、コンピュータビジョンシステムが利用され得る。さらに、コンピュータビジョンシステムは、ショッピングカートまたはバッグ内に置かれているスキャンされていないか、または計量されていない商品を検出することができ、それに応じて、起こり得る不正行為に対する警告を生成することができる。したがって、コンピュータビジョンシステムは、消費者による不正のない行動および起こり得る不正のある行動の検出を改善するために、セルフチェックアウトステーションにおける消費者の特定の行為を評価するように構成され得る。たとえば、コンピュータビジョンシステムは、プラスチックバッグホルダから紙袋をつかみ取っている消費者が、小売商品ではなく、スキャンまたは計量される必要がないことを検出および決定することができる。
【0006】
[0010]さらに、袋詰めエリア内の重量スケールを介した重量ベースの小売商品セキュリティのみを有するセルフチェックアウトステーションは、非小売商品(たとえば、ショッピングバッグ、ポーチ、財布、電話)がスケール上に置かれているかどうかを決定することができない可能性が高い。たとえば、消費者は、スキャンまたは計量された小売商品を再使用可能なショッピングバッグ内に便利に置くことができるように、ショッピングカートから再使用可能なショッピングバッグを取り出し、その再使用可能なショッピングバッグを袋詰めエリアに置く。さらに、セルフチェックアウトステーションは、袋詰めエリアにある間に再使用可能なショッピングバッグの測定された重量を取得し、次いで、想定外の重量を取り出すように消費者に通知する。追加または代替として、セルフチェックアウトステーションは、想定外の重量がスキャンされていない商品に関連付けられているかどうかを確認するように消費者に促すことができる。しかしながら、これらのシナリオの各々の下で、消費者は、セルフチェックアウトプロセス中に追加的な遅延および摩擦を経験し、その問題を解決するために店員に合図を送る必要があり得る。
【0007】
[0011]本開示では、本明細書で説明される実施形態は、セルフチェックアウトステーションの周りの所定のロケーション(たとえば、利用可能なショッピングバッグを保持する棚、消費者の肩から吊り下げられたポーチ、ショッピングカート内に置かれた再使用可能なショッピングバッグ)から、セルフチェックアウトステーションの袋詰めエリアに移動された物体を検出するために、コンピュータビジョンシステムを使用することを含むことができる。その物体の重量が、袋詰めエリア内の重量スケールによって検出および測定されたとき、セルフチェックアウトステーションは、コンピュータビジョンシステムを介して、その物体を非小売商品として検出し、分類または識別することができ、したがって、その物体が、スキャンまたは計量される必要なしに袋詰めエリア内に置かれ得ることを示すことができる。
【0008】
[0012]図1は、本明細書で説明される様々な態様による、販売時点において行動検出を実行するように動作可能なPOSシステム100の一実施形態を示す。図1に示されるように、POSシステム100(たとえば、チェックアウトステーションデバイス、セルフチェックアウトステーションデバイス)は、ネットワーク(たとえば、イーサネット(登録商標)、WiFi、インターネット)を介してネットワークノード(たとえば、サーバ)に通信可能に結合され得る。POSシステム100は、端末ステーションデバイス102と袋詰めステーションデバイス141とを含むことができる。端末ステーションデバイス102は、ハウジング112と、POSシステム100内に配置された光学スキャナデバイスがスキャナウィンドウ115上またはその周りにある間に物体(たとえば、小売商品)上に配置された視覚的物体識別子コード(たとえば、バーコード、QRコード(登録商標))をスキャンすることができるスキャナウィンドウ115を有するスキャンプラットフォーム114と、別の光学スキャナ116(たとえば、ポータブルまたはハンドヘルドのスキャナ)と、ディスプレイデバイス118(たとえば、タッチスクリーン)と、支払い処理機構122(たとえば、クレジットカード取引デバイス)と、プリンタ124と、クーポンスロット機構125と、現金受け入れ機構126と、釣銭(たとえば、硬貨、現金)インターフェース機構128などと、またはそれらの任意の組合せとを有する。加えて、端末ステーションデバイス102は、発光素子(LED)デバイス130a~e(まとめて、LEDデバイス130)のセットを含むように構成され得る。ハウジング112は、POSシステム100の動作および機能を制御するように動作可能な処理回路を含むキャビネットを含むように構成され得る。各LEDデバイス130a~eは、特定のコンテキスト情報を消費者または小売店の店員に示すために、POSシステム100の処理回路によって個々にまたは集合的に制御されるように構成され得る。本明細書では明示的に示されていないが、ハウジング112は、POSシステム100をネットワーク(たとえば、イーサネット、WiFi、インターネット)もしくはネットワーク上のネットワークノード(たとえば、サーバ)に通信可能に結合するか、または端末ステーションデバイス102を袋詰めステーションデバイス141に通信可能に結合するケーブルおよび他の機能構成要素を含むこともできる。袋詰めステーションデバイス141は、荷重センサデバイス143に関連付けられた袋詰めエリア183を含むことができる。
【0009】
[0013]図1において、各スキャナデバイス115、116は、消費者がPOSシステム100を介して購入することを意図する物体(たとえば、小売商品)上に配置された視覚的物体識別子コード(たとえば、バーコード、QRコード)をスキャンするように動作可能な光学スキャナデバイスとして構成され得る。スキャナデバイス116は、小売商品上のバーコードを、小売商品をショッピングカートから取り出す必要なしにスキャンするために、消費者または店員がそのバッテリ充電ドックから取り外すことができる、ハンドヘルドのバッテリ動作式スキャナとして構成され得る。各視覚的物体識別子コードは、物体識別子(たとえば、UPC)のセットのうちの1つを表すことができ、各識別子は、特定の物体(たとえば、小売商品、取引商品)に固有であり、一連の文字(たとえば、数字、英字、英数字)によって表される。UPC-Aを指すことができる統一商品コード(UPC:Universal Product Code)は、各物体に一意に割り当てられる一連の12文字(たとえば、12個の数字)からなる。関連する国際商品番号(EAN:International Article Number)バーコードとともに、UPCは、国際GS1組織の仕様に従って、販売時点で小売商品をスキャンするために主に使用されるバーコードである。一例では、UPC-Aバーコードは、4つのセクション、すなわち、番号システム文字、5文字の製造番号、5文字の商品番号、およびチェック文字から構成される、一連の12文字(たとえば、12ケタ)からなる。
【0010】
[0014]図1において、スキャナデバイス115は、スキャナウィンドウを含むことができ、消費者による購入のために小売商品が同時にスキャンおよび計量されることを可能にするために、二重のスキャナおよび重量スケール機能を実行するように動作可能であり得る。スキャンプラットフォーム114は、物体が重量スケール機能によって計量されることを可能にするために、物体がスキャンプラットフォーム114上に配置されることを可能にするように構成され得る。ディスプレイ118は、消費者によって購入されている小売商品に関連付けられた情報を表示するように動作可能であり得る。支払い処理機構122は、非現金支払い媒体(たとえば、クレジットカードまたはデビットカード)を受け入れるように動作可能なPINパッドデバイスとともに構成され得るが、プリンタ124は、レシートまたはクーポンを印刷するように構成され得る。クーポンスロット機構125は、消費者によって引き換えられているクーポンを受け取るように構成された全体的に細長いスロットを含むことができる。現金受け入れ機構126は、消費者によって購入されている小売商品のために消費者から現金(たとえば、紙幣、硬貨)を受け取るように動作可能であり得る。釣銭インターフェース機構128は、紙幣または硬貨の形態で消費者に釣銭を提供するように動作可能であり得る。端末ステーションデバイス102は、光学センサデバイス117a~c(たとえば、カメラ)を含むこともできる。各光学センサデバイス117a~cは、POSシステム100の少なくとも一部の画像をキャプチャし、第1の領域181を含むPOSシステム100の周りの画像をキャプチャし、POSシステム100を取り囲む環境の画像をキャプチャし、スキャンプラットフォーム114または袋詰めエリア183などのPOSシステム100の1つまたは複数の表面の画像をキャプチャするように動作可能であり得る。光学センサデバイス117aは、スキャンプラットフォーム114を含む視野を有することができる。光学センサデバイス117bは、POSシステム100と、POSシステム100の周りの領域と、POSシステム100の周りの環境とを含む視野を有することができる。光学センサデバイス117cは、図1では、光学センサデバイス117cをPOSシステム100の上方に延在させる、POSシステム100の延在機構119(たとえば、ポール)の端部に示されているが、他の実施形態では、光学センサデバイス117cは、POSシステム100の上方の天井表面上に配置され、POSシステム100上に位置付けられるなどし得る。光学センサデバイス117cは、第1の領域181に入る消費者を検出するなどのために、POSシステム100の周りの環境をキャプチャするように動作可能であり得る。
(【0011】以降は省略されています)
この特許をJ-PlatPat(特許庁公式サイト)で参照する
関連特許
東芝テック株式会社
プリンタ
11日前
東芝テック株式会社
画像形成装置
20日前
東芝テック株式会社
取引処理システム
11日前
東芝テック株式会社
ショッピングカート
11日前
東芝テック株式会社
制御装置、及び画像形成装置
6日前
東芝テック株式会社
情報処理装置及びプログラム
12日前
東芝テック株式会社
情報処理装置及びプログラム
11日前
東芝テック株式会社
情報処理装置及びプログラム
11日前
東芝テック株式会社
情報処理装置及びプログラム
13日前
東芝テック株式会社
情報処理装置及びプログラム
5日前
東芝テック株式会社
インターロックおよびプリンタ
20日前
東芝テック株式会社
情報処理装置およびプログラム
21日前
東芝テック株式会社
商品登録装置およびプログラム
21日前
東芝テック株式会社
情報処理装置及び情報処理方法
11日前
東芝テック株式会社
データ処理装置及びデータ処理方法
5日前
東芝テック株式会社
販売データ処理装置およびプログラム
5日前
東芝テック株式会社
情報処理装置及び情報処理プログラム
11日前
東芝テック株式会社
情報処理装置及び情報処理プログラム
12日前
東芝テック株式会社
商品販売データ処理装置及びプログラム
13日前
東芝テック株式会社
来店時間案内システムおよびプログラム
6日前
東芝テック株式会社
デバイス管理装置及び情報処理プログラム
18日前
東芝テック株式会社
デバイス管理装置及び情報処理プログラム
18日前
東芝テック株式会社
移動体システムおよび移動体収納システム
5日前
東芝テック株式会社
システム、情報処理装置、およびプログラム
20日前
東芝テック株式会社
文章校正装置、文章校正方法及びプログラム
21日前
東芝テック株式会社
情報処理装置、情報処理方法及びプログラム
今日
東芝テック株式会社
セルフチェックアウト装置およびプログラム
13日前
東芝テック株式会社
レシート管理サーバ及びレシート管理システム
26日前
東芝テック株式会社
レシート管理サーバ及びレシート管理システム
26日前
東芝テック株式会社
情報処理装置、情報処理システム及び端末装置
21日前
東芝テック株式会社
情報処理装置、情報処理方法、およびプログラム
18日前
東芝テック株式会社
情報処理装置、情報処理システム及びプログラム
18日前
東芝テック株式会社
取引処理システム、取引処理装置及びそのプログラム
今日
東芝テック株式会社
入出金装置、販売データ処理装置、およびプログラム
5日前
東芝テック株式会社
販売価格提示システム、情報処理装置およびプログラム
6日前
東芝テック株式会社
セルフチェックアウトシステムのためのスケールゼロイング
21日前
続きを見る
他の特許を見る