TOP
|
特許
|
意匠
|
商標
特許ウォッチ
Twitter
他の特許を見る
10個以上の画像は省略されています。
公開番号
2025164371
公報種別
公開特許公報(A)
公開日
2025-10-30
出願番号
2024068307
出願日
2024-04-19
発明の名称
入出金装置、販売データ処理装置、およびプログラム
出願人
東芝テック株式会社
代理人
弁理士法人酒井国際特許事務所
主分類
G07G
1/01 20060101AFI20251023BHJP(チェック装置)
要約
【課題】入出金装置の操作手順等を上位端末により示す構成とした場合の、管理の煩雑さを減らす。
【解決手段】硬貨や紙幣の入出金処理を行う入出金装置であって、操作者に向けた情報を表示する表示部と、前記入金および前記出金の少なくともいずれかを要求する上位装置と通信する通信部と、前記入出金装置の状態の識別情報と前記状態において前記表示部に表示させる説明文および前記上位装置で表示させる詳細説明文とを関連づける設定データを記憶する記憶部と、前記処理でエラーが発生した場合に、その状態の前記識別情報に関連づけられた前記説明文を、前記表示部に表示させる表示制御部と、前記処理でエラーが発生した場合に、その状態の前記識別情報を前記上位装置に送信する状態送信部と、前記処理でエラーが発生し、その状態の前記識別情報に前記詳細説明文が関連づけられていた場合には、当該詳細説明文を前記上位装置に送信する説明送信部と、を備える。
【選択図】図14
特許請求の範囲
【請求項1】
硬貨または紙幣の入金および出金にかかる処理を行う入出金装置であって、
操作者に向けた情報を表示する表示部と、
前記入金および前記出金の少なくともいずれかを要求する上位装置と通信する通信部と、
前記入出金装置の状態の識別情報と前記状態において前記表示部に表示させる説明文および前記上位装置で表示させる詳細説明文とを関連づける設定データを記憶する記憶部と、
前記処理でエラーが発生した場合に、その状態の前記識別情報に関連づけられた前記説明文を、前記表示部に表示させる表示制御部と、
前記処理でエラーが発生した場合に、その状態の前記識別情報を前記上位装置に送信する状態送信部と、
前記処理でエラーが発生し、その状態の前記識別情報に前記詳細説明文が関連づけられていた場合には、当該詳細説明文を前記上位装置に送信する説明送信部と、
を備える入出金装置。
続きを表示(約 1,100 文字)
【請求項2】
商品の登録処理および会計処理を行う販売データ処理装置であって、
操作者に向けた情報を表示する表示部と、
前記会計処理において入金および出金の少なくともいずれかを行う入出金装置と通信する通信部と、
前記入出金装置の状態の識別情報と前記状態において前記表示部に表示させる説明文とを関連づける設定データを記憶する記憶部と、
前記入出金装置から、前記識別情報を受信した場合、当該識別情報と前記設定データで関連づけられている前記説明文を前記表示部に表示させ、
前記入出金装置から、前記説明文とするための詳細説明文を受信した場合には、当該詳細説明文を、前記説明文として前記表示部に表示させる、表示制御部と、
を備える販売データ処理装置。
【請求項3】
前記記憶部は、前記識別情報に関連づけて、前記詳細説明文に付する画像データをも記憶している
請求項2に記載の販売データ処理装置。
【請求項4】
前記状態送信部は、前記状態が変化する都度、その状態の前記識別情報を前記上位装置に送信し、
前記説明送信部は、前記状態送信部が前記上位装置に送信した前記識別情報に前記詳細説明文が関連づけられていた場合には、当該詳細説明文を前記上位装置に送信する
請求項1に記載の入出金装置。
【請求項5】
前記表示制御部は、前記説明文として前記詳細説明文を表示中に、前記入出金装置から新たに、前記識別情報および前記詳細説明文を受信した場合、この新たに受信した前記詳細説明文を、前記説明文として前記表示部に表示させる
請求項2に記載の販売データ処理装置。
【請求項6】
操作者に向けた情報を表示する表示部と、入金および出金の少なくともいずれかを要求する上位装置と通信する通信部と、自装置の状態の識別情報と前記状態において前記表示部に表示させる説明文および前記上位装置で表示させる詳細説明文とを関連づける設定データを記憶する記憶部と、を備え、硬貨または紙幣の入金および出金にかかる処理を行う入出金装置のコンピュータを、
前記処理でエラーが発生した場合に、その状態の前記識別情報に関連づけられた前記説明文を、前記表示部に表示させる表示制御部と、
前記処理でエラーが発生した場合に、その状態の前記識別情報を前記上位装置に送信する状態送信部と、
前記処理でエラーが発生し、その状態の前記識別情報に前記詳細説明文が関連づけられていた場合には、当該詳細説明文を前記上位装置に送信する説明送信部と、
として機能させるためのプログラム。
発明の詳細な説明
【技術分野】
【0001】
本発明の実施形態は、入出金装置、販売データ処理装置、およびプログラムに関する。
続きを表示(約 2,200 文字)
【背景技術】
【0002】
従来、硬貨入出金装置や紙幣入出金装置などの入出金装置が、使用されている。これらの入出金装置は、販売データ処理装置とともに使用されたり、セルフチェックアウト装置に組み込んで使用されたりしている。
【0003】
入出金装置は、装置の状態を使用者(操作者、店員)に伝えるための表示部を備えている。この表示部には、安価で小型のものが採用されることが多く、このため、表示できる文字の種類や文字数に制限があることが多い。したがって、従来の入出金装置の表示部は、エラー発生時等に対処手順を詳細に説明する用途には適していない。
【0004】
そこで従来は、入出金装置が接続される販売データ処理装置などの上位端末が、エラー発生時の対処手順を詳細に示した画像データを、自装置が備える大型の表示部に表示させている(例えば特許文献1,2)。
【0005】
しかし、上述のような構成であると、上位端末における画像データの管理が煩雑である。例えば、入出金装置の入れ替えや仕様変更等がある都度、上位端末における画像データを更新する必要が生じる。また、昨今は、タブレット型やスマートフォン型など、様々な販売データ処理装置があるため、上述のような構成であると、同じ対処手順の画像データであっても上位端末の画面サイズ等に合わせたものを準備しなければならない。
【発明の概要】
【発明が解決しようとする課題】
【0006】
本発明が解決しようとする課題は、入出金装置の操作手順等を上位端末により示す構成とした場合の、管理の煩雑さを減らすことができる入出金装置、販売データ処理装置、およびプログラムを提供することである。
【課題を解決するための手段】
【0007】
実施形態の入出金装置は、硬貨または紙幣の入金および出金にかかる処理を行うものであって、操作者に向けた情報を表示する表示部と、前記入金および前記出金の少なくともいずれかを要求する上位装置と通信する通信部と、前記入出金装置の状態の識別情報と前記状態において前記表示部に表示させる説明文および前記上位装置で表示させる詳細説明文とを関連づける設定データを記憶する記憶部と、前記処理でエラーが発生した場合に、その状態の前記識別情報に関連づけられた前記説明文を、前記表示部に表示させる表示制御部と、前記処理でエラーが発生した場合に、その状態の前記識別情報を前記上位装置に送信する状態送信部と、前記処理でエラーが発生し、その状態の前記識別情報に前記詳細説明文が関連づけられていた場合には、当該詳細説明文を前記上位装置に送信する説明送信部と、を備える。
【図面の簡単な説明】
【0008】
図1は、実施形態に係る販売データ処理システムの一例を示す図である。
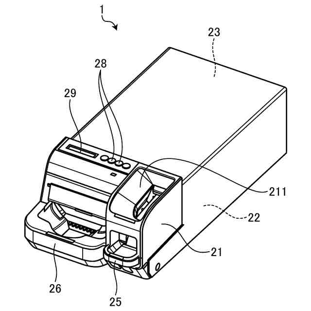
図2は、実施形態に係る硬貨入出金装置の外観の一例を示す斜視図である。
図3は、実施形態に係る紙幣入出金装置の外観の一例を示す斜視図である。
図4は、実施形態に係る硬貨入出金装置の操作部および表示部の外観の一例を示す図である。
図5は、実施形態に係る販売データ処理装置の外観の一例を示す斜視図である。
図6は、実施形態に係る販売データ処理装置のハードウェア構成の一例を示すブロック図である。
図7は、実施形態に係る設定データの一例を示す図である。
図8は、実施形態に係る硬貨入出金装置のハードウェア構成の一例を示すブロック図である。
図9は、実施形態に係る設定データの一例を示す図である。
図10は、実施形態に係る制御部の機能構成の一例を示すブロック図である。
図11は、実施形態に係る制御部が実行する処理の流れを示すフローチャートである。
図12は、実施形態に係る表示部が表示する画面の例を示す図である。
図13は、実施形態に係る表示部が表示する画面の例を示す図である。
図14は、実施形態に係る表示部が表示する画面の例を示す図である。
図15は、実施形態に係る表示部が表示する画面の例を示す図である。
図16は、実施形態に係る表示部が表示する画面の例を示す図である。
図17は、実施形態の変形例に係る表示部が表示する画面の例を示す図である。
【発明を実施するための形態】
【0009】
(第1実施形態)
実施形態について図面を用いて説明する。なお、以下に説明する実施形態は一実施形態であって、その構成や仕様等を限定するものではない。
【0010】
図1は、本実施形態に係る販売データ処理システム100の一例を示す図である。販売データ処理システム100は、入出金装置1,3(硬貨入出金装置1、紙幣入出金装置3)および販売データ処理装置5を含む。販売データ処理装置5は、例えば、据え置き型のPOS端末装置であってもよいし、スマートフォンやタブレット端末等の携帯可能な情報処理装置で実現される販売データ処理装置であってもよい。なお、「POS」は「Point Of Sale」の略称であって、「販売時点情報管理」を意味する。販売データ処理装置5は、販売時点情報管理を行う装置である。
(【0011】以降は省略されています)
この特許をJ-PlatPat(特許庁公式サイト)で参照する
関連特許
東芝テック株式会社
プリンタ装置
4日前
東芝テック株式会社
取引処理システム
4日前
東芝テック株式会社
取引処理装置及びプログラム
4日前
東芝テック株式会社
情報処理装置及びプログラム
4日前
東芝テック株式会社
画像形成装置およびプログラム
4日前
東芝テック株式会社
会計装置及び情報処理プログラム
4日前
東芝テック株式会社
無線タグ通信装置、およびプログラム
4日前
東芝テック株式会社
商品販売データ処理装置及びプログラム
4日前
東芝テック株式会社
情報処理装置、案内システム及びプログラム
4日前
東芝テック株式会社
情報通信端末及び情報処理プログラム
12日前
個人
自動販売機
5日前
株式会社イシダ
商品処理装置
2か月前
株式会社タムラ製作所
自動販売機
20日前
沖電気工業株式会社
媒体処理装置
3か月前
アサヒ飲料株式会社
遠隔決済方法
25日前
沖電気工業株式会社
紙幣処理装置
3か月前
沖電気工業株式会社
媒体処理装置
3か月前
沖電気工業株式会社
施錠開閉装置
1か月前
沖電気工業株式会社
媒体処理装置
3か月前
株式会社ライト
情報処理装置
3か月前
株式会社ライト
情報処理装置
3か月前
富士電機株式会社
自動販売機
3か月前
株式会社デンソー
車載器
2か月前
富士電機株式会社
金銭処理装置
4か月前
グローリー株式会社
貨幣処理装置
25日前
グローリー株式会社
物品投出装置
2か月前
アサヒ飲料株式会社
自動販売機の決済方法
25日前
株式会社トイスピリッツ
景品提供システム
3か月前
株式会社寺岡精工
商品登録システム
1か月前
日本金銭機械株式会社
硬貨処理装置
2か月前
日本金銭機械株式会社
硬貨処理装置
2か月前
ユニティガードシステム株式会社
入館監視システム
3か月前
株式会社知財事業研究所
特殊駐車場システム
14日前
株式会社寺岡精工
販売データ処理装置
1か月前
沖電気工業株式会社
棒金収納装置
2か月前
沖電気工業株式会社
媒体処理装置
2か月前
続きを見る
他の特許を見る