TOP
|
特許
|
意匠
|
商標
特許ウォッチ
Twitter
他の特許を見る
公開番号
2025155119
公報種別
公開特許公報(A)
公開日
2025-10-14
出願番号
2024058585
出願日
2024-04-01
発明の名称
文章校正装置、文章校正方法及びプログラム
出願人
東芝テック株式会社
代理人
弁理士法人酒井国際特許事務所
主分類
G06F
40/253 20200101AFI20251006BHJP(計算;計数)
要約
【課題】文字認識された文字データの利便性を向上させる。
【解決手段】文章校正システムにおいて、サーバ装置の制御部300は、文字を認識し、画像に含まれるテキストを抽出するOCR処理部と、抽出したテキストと、テキストの誤字修正を指示する第1指示情報とを含んだ第1入力文章を、第1指示情報の指示内容に応じた出力を行うよう機能付けられた第1生成AIに入力し、第1入力文章に対応して第1生成AIから出力された第1出力文章を取得する校正処理部と、校正処理部で取得した第1出力文章と、第1出力文章の特徴を表す付加情報の生成を指示する第2指示情報とを含んだ第2入力文章を、第2指示情報の指示内容に応じた出力を行うよう機能付けられた第2生成AIに入力し、第2入力文章に対応して第2生成AIから出力された第2出力文章を取得する付加情報生成処理部と、第1出力文章と第2出力文章とを出力するデータ提供処理部と、を備える。
【選択図】図6
特許請求の範囲
【請求項1】
画像に含まれる文字を認識し、前記画像に含まれるテキストを抽出する文字認識手段と、
前記文字認識手段で抽出された前記テキストと、当該テキストの誤字修正を指示する第1指示情報とを含んだ第1入力文章を、当該第1指示情報の指示内容に応じた出力を行うよう機能付けられた第1生成AIに入力し、前記第1入力文章に対応して前記第1生成AIから出力された第1出力文章を取得する第1取得手段と、
前記第1取得手段で取得された前記第1出力文章と、当該第1出力文章の特徴を表す付加情報の生成を指示する第2指示情報とを含んだ第2入力文章を、当該第2指示情報の指示内容に応じた出力を行うよう機能付けられた第2生成AIに入力し、前記第2入力文章に対応して前記第2生成AIから出力された第2出力文章を取得する第2取得手段と、
前記第1出力文章と前記第2出力文章とを出力する出力手段と、
を備える文章校正装置。
続きを表示(約 1,300 文字)
【請求項2】
前記第2取得手段は、前記第1出力文章の特徴として、当該第1出力文章の要約、標題及びジャンルの何れか一つを含む前記第2出力文章を取得する、
請求項1に記載の文章校正装置。
【請求項3】
前記第1出力文章と前記第2出力文章とを関連付けて記憶装置に記憶する記憶制御手段と、
前記記憶装置に記憶されるファイルにアクセスするためのアドレス情報を取得する第3取得手段と、
を更に備え、
前記出力手段は、前記第2出力文章と前記アドレス情報とを出力する、
請求項1に記載の文章校正装置。
【請求項4】
前記第1出力文章を汎用のファイル形式に変換する変換手段と、
を更に備え、
前記記憶制御手段は、前記変換手段で変換した第1出力文章と前記第2出力文章とを関連付けて記憶装置に記憶する、
請求項3に記載の文章校正装置。
【請求項5】
前記第1生成AIと前記第2生成AIとは同一の生成AIである、
請求項1に記載の文章校正装置。
【請求項6】
文章校正装置が実行する文章校正方法であって、
画像に含まれる文字を認識し、前記画像に含まれるテキストを抽出する文字認識ステップと、
前記文字認識ステップで抽出された前記テキストと、当該テキストの誤字修正を指示する第1指示情報とを含んだ第1入力文章を、当該第1指示情報の指示内容に応じた出力を行うよう機能付けられた第1生成AIに入力し、前記第1入力文章に対応して前記第1生成AIから出力された第1出力文章を取得する第1取得ステップと、
前記第1取得ステップで取得された前記第1出力文章と、当該第1出力文章の特徴を表す付加情報の生成を指示する第2指示情報とを含んだ第2入力文章を、当該第2指示情報の指示内容に応じた出力を行うよう機能付けられた第2生成AIに入力し、前記第2入力文章に対応して前記第2生成AIから出力された第2出力文章を取得する第2取得ステップと、
前記第1出力文章と前記第2出力文章とを出力する出力ステップと、
を含む文章校正方法。
【請求項7】
文章校正装置のコンピュータを、
画像に含まれる文字を認識し、前記画像に含まれるテキストを抽出する文字認識手段と、
前記文字認識手段で抽出された前記テキストと、当該テキストの誤字修正を指示する第1指示情報とを含んだ第1入力文章を、当該第1指示情報の指示内容に応じた出力を行うよう機能付けられた第1生成AIに入力し、前記第1入力文章に対応して前記第1生成AIから出力された第1出力文章を取得する第1取得手段と、
前記第1取得手段で取得された前記第1出力文章と、当該第1出力文章の特徴を表す付加情報の生成を指示する第2指示情報とを含んだ第2入力文章を、当該第2指示情報の指示内容に応じた出力を行うよう機能付けられた第2生成AIに入力し、前記第2入力文章に対応して前記第2生成AIから出力された第2出力文章を取得する第2取得手段と、
前記第1出力文章と前記第2出力文章とを出力する出力手段と、
として機能させるためのプログラム。
発明の詳細な説明
【技術分野】
【0001】
本発明の実施形態は、文章校正装置、文章校正方法及びプログラムに関する。
続きを表示(約 1,900 文字)
【背景技術】
【0002】
従来、ペーパーレス化等のため、文字が印字又は手書きされた紙媒体の文書をスキャナやカメラ等を用いて画像データ化することが行われている。また、画像データ化された文書から文字部分を認識して文字データに変換するOCR(Optical Character Recognition/Reader)とよばれる文字認識技術が存在する。
【0003】
上述のOCRでは、文字を認識する際に誤認識が発生すると誤った文字データに変換されるため、変換後の文字データの確認と修正とが人の手で行われている。そこで、従来、AIモデルを使用して文字データの修正を行う技術が提案されている(例えば引用文献1)。
【0004】
ところで、文字データに変化された文書をジャンルや内容に応じてフォルダ分けや整理をするような場合には、その文書の内容の確認作業を人の手で行う必要がある。なお、上述した従来の技術では、誤認識された文字データを修正することはできるものの、変換後の文書の取り扱いについては何ら考慮されておらず、利便性の上で改善の余地がある。
【発明の概要】
【発明が解決しようとする課題】
【0005】
本発明が解決しようとする課題は、紙媒体の文書から文字認識された文字データの利便性を向上させることが可能な文章校正装置、文章校正方法及びプログラムを提供することである。
【課題を解決するための手段】
【0006】
実施形態の文章校正装置は、画像に含まれる文字を認識し、前記画像に含まれるテキストを抽出する文字認識手段と、前記文字認識手段で抽出された前記テキストと、当該テキストの誤字修正を指示する第1指示情報とを含んだ第1入力文章を、当該第1指示情報の指示内容に応じた出力を行うよう機能付けられた第1生成AIに入力し、前記第1入力文章に対応して前記第1生成AIから出力された第1出力文章を取得する第1取得手段と、前記第1取得手段で取得された前記第1出力文章と、当該第1出力文章の特徴を表す付加情報の生成を指示する第2指示情報とを含んだ第2入力文章を、当該第2指示情報の指示内容に応じた出力を行うよう機能付けられた第2生成AIに入力し、前記第2入力文章に対応して前記第2生成AIから出力された第2出力文章を取得する第2取得手段と、前記第1出力文章と前記第2出力文章とを出力する出力手段と、を備える。
【図面の簡単な説明】
【0007】
図1は、実施形態に係る文章校正システムの概略構成を示す模式図である。
図2は、実施形態に係る端末装置のハードウェア構成の一例を示すブロック図である。
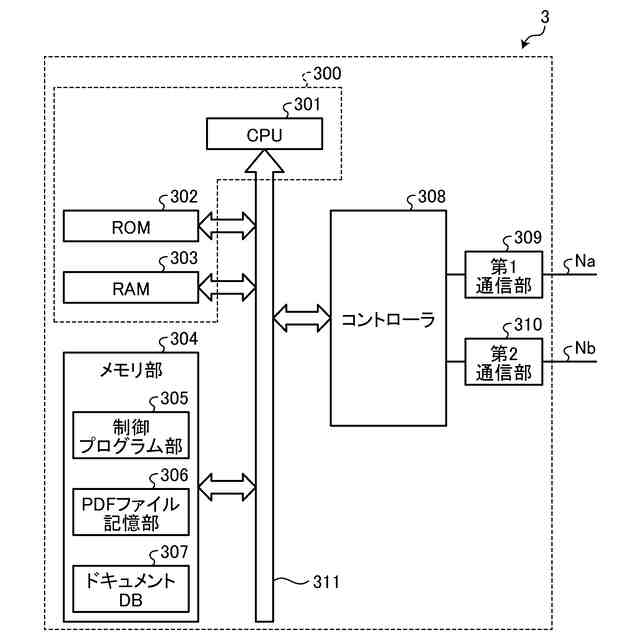
図3は、実施形態に係るサーバ装置のハードウェア構成の一例を示すブロック図である。
図4は、実施形態に係る端末装置の機能構成の一例を示すブロック図である。
図5は、実施形態に係るサーバ装置の機能構成の一例を示すブロック図である。
図6は、実施形態に係る文章校正システムの制御処理の一例を示すシーケンス図である。
【発明を実施するための形態】
【0008】
以下、図面を参照して、文章校正システム1の実施形態について説明する。また、以下の実施形態によって本発明が限定されるものではなく、以下の実施形態における構成要素には、当業者が容易に想到できるもの、実質的に同一のもの、及びいわゆる均等の範囲のものが含まれる。さらに、以下の実施形態の要旨を逸脱しない範囲で構成要素の種々の省略、置換、変更および組み合わせを行うことができる。
【0009】
図1は、実施形態に係る文章校正システム1の概略構成を示す模式図である。図1に示すように、文章校正システム1は、端末装置2と、サーバ装置3と、文章校正支援装置4とを含む。
【0010】
サーバ装置3と文章校正支援装置4とは、LAN(Local Area Network)等のネットワークNaを介して互いに通信可能に接続されている。また、サーバ装置3は、インターネット等のネットワークNbを介して、端末装置2と通信可能に接続される。なお、サーバ装置3は、文章校正支援装置4と一体の装置であってもよい。また、端末装置2は、サーバ装置3及び文章校正支援装置4と同一のネットワークに接続されてもよい。なお、端末装置2の台数は図示例に限定されないものとする。
(【0011】以降は省略されています)
この特許をJ-PlatPat(特許庁公式サイト)で参照する
関連特許
東芝テック株式会社
プリンタ装置
4日前
東芝テック株式会社
取引処理システム
4日前
東芝テック株式会社
取引処理装置及びプログラム
4日前
東芝テック株式会社
情報処理装置及びプログラム
4日前
東芝テック株式会社
画像形成装置およびプログラム
4日前
東芝テック株式会社
会計装置及び情報処理プログラム
4日前
東芝テック株式会社
無線タグ通信装置、およびプログラム
4日前
東芝テック株式会社
商品販売データ処理装置及びプログラム
4日前
東芝テック株式会社
情報処理装置、案内システム及びプログラム
4日前
東芝テック株式会社
情報通信端末及び情報処理プログラム
12日前
個人
詐欺保険
1か月前
個人
縁伊達ポイン
1か月前
個人
職業自動販売機
18日前
個人
5掛けポイント
25日前
個人
RFタグシート
1か月前
個人
QRコードの彩色
1か月前
個人
地球保全システム
2か月前
個人
ペルソナ認証方式
1か月前
個人
情報処理装置
28日前
個人
自動調理装置
1か月前
個人
表変換編集支援システム
2か月前
個人
残土処理システム
1か月前
個人
農作物用途分配システム
1か月前
個人
インターネットの利用構造
1か月前
個人
知的財産出願支援システム
1か月前
個人
サービス情報提供システム
20日前
個人
タッチパネル操作指代替具
1か月前
個人
スケジュール調整プログラム
1か月前
個人
携帯端末障害問合せシステム
1か月前
個人
パスワード管理支援システム
2か月前
個人
行動時間管理システム
2か月前
株式会社キーエンス
受発注システム
2か月前
個人
食品レシピ生成システム
2か月前
個人
AIキャラクター制御システム
2か月前
株式会社キーエンス
受発注システム
2か月前
個人
システム及びプログラム
2か月前
続きを見る
他の特許を見る