TOP
|
特許
|
意匠
|
商標
特許ウォッチ
Twitter
他の特許を見る
公開番号
2025149447
公報種別
公開特許公報(A)
公開日
2025-10-08
出願番号
2024050104
出願日
2024-03-26
発明の名称
プリンタ装置及びプログラム
出願人
東芝テック株式会社
代理人
弁理士法人酒井国際特許事務所
主分類
B41J
2/32 20060101AFI20251001BHJP(印刷;線画機;タイプライター;スタンプ)
要約
【課題】印字率が頻繁に変化する印字データであっても、効率的に印字を行うことが可能なプリンタ装置及びプログラムを提供する。
【解決手段】実施形態のプリンタ装置は、用紙の搬送に係る搬送部と、前記用紙の搬送方向に交差するライン方向に設けられる印字ヘッドと、印字データを構成する各ラインのドットデータに含まれる印字対象ドットの印字率に基づいて、前記ドットデータを印字する印字速度をライン毎に設定する設定部と、前記ドットデータに設定された印字速度が、連続する所定のライン数内で複数回変化する場合、当該ドットデータに設定された印字速度を一定速度に変更する変更部と、前記搬送部を制御し、前記ドットデータの各々に設定された印字速度で前記用紙を前記印字ヘッドに向けて順次搬送させることで、前記ドットデータの印字をライン毎に行う印字制御部と、を備える。
【選択図】図7
特許請求の範囲
【請求項1】
用紙の搬送に係る搬送部と、
前記用紙の搬送方向に交差するライン方向に設けられる印字ヘッドと、
印字データを構成する各ラインのドットデータに含まれる印字対象ドットの印字率に基づいて、前記ドットデータを印字する印字速度をライン毎に設定する設定部と、
前記ドットデータに設定された印字速度が、連続する所定のライン数内で複数回変化する場合、当該ドットデータに設定された印字速度を一定速度に変更する変更部と、
前記搬送部を制御し、前記ドットデータの各々に設定された印字速度で前記用紙を前記印字ヘッドに向けて順次搬送させることで、前記ドットデータの印字をライン毎に行う印字制御部と、
を備えるプリンタ装置。
続きを表示(約 930 文字)
【請求項2】
前記変更部は、連続する所定のライン数内のドットデータで、速度方向が切り替わる速度変化を検出した場合、当該速度変化に係るラインのドットデータの印字速度を一定速度に変更する、
請求項1に記載のプリンタ装置。
【請求項3】
前記変更部は、連続する二つのライン間において、当該ラインの前記ドットデータに設定された印字速度を順次比較し、印字速度の変化を最初に検出してから前記所定のライン数内で速度方向が切り替わる速度変化を検出した場合に、最初に変化を検出したラインから、速度方向の切り替わりを検出したラインまでの各ドットデータに設定された印字速度を一定速度に変更する、
請求項2に記載のプリンタ装置。
【請求項4】
前記変更部は、印字速度の上昇を最初の変化として検出し、当該変化を検出してから前記所定のライン数内で印字速度の低下を検出した場合に、印字速度の上昇を検出したラインから、印字速度の低下を検出したラインまでの各ドットデータに設定された印字速度を一定速度に変更する、
請求項3に記載のプリンタ装置。
【請求項5】
前記変更部は、複数回変化した印字速度のうち最も低速の印字速度を用いて一定速度に変更する、
請求項1~4の何れか一項に記載のプリンタ装置。
【請求項6】
用紙の搬送に係る搬送部と、前記用紙の搬送方向に交差するライン方向に設けられる印字ヘッドと、を備えるプリンタ装置のコンピュータを、
印字データを構成する各ラインのドットデータに含まれる印字対象ドットの印字率に基づいて、前記ドットデータを印字する印字速度をライン毎に設定する設定部と、
前記ドットデータに設定された印字速度が、連続する所定のライン数内で複数回変化する場合、当該ドットデータに設定された印字速度を一定速度に変更する変更部と、
前記搬送部を制御し、前記ドットデータの各々に設定された印字速度で前記用紙を前記印字ヘッドに向けて順次搬送させることで、前記ドットデータの印字をライン毎に行う印字制御部と、
して機能させるためのプログラム。
発明の詳細な説明
【技術分野】
【0001】
本発明の実施形態は、プリンタ装置及びプログラムに関する。
続きを表示(約 1,800 文字)
【背景技術】
【0002】
従来、用紙の搬送方向と交差する幅方向(以下、ライン方向ともいう)に複数の発熱素子を備えた印字ヘッドを用いて、文字等を用紙に印字するプリンタ装置が知られている。例えば、用紙である感熱紙に熱を印加して印字を行う感熱方式のプリンタ装置が存在している。また、例えば、インクリボンを加熱して用紙に印字を行う熱転写式のプリンタ装置が存在している。
【0003】
上述のプリンタ装置では、文字等の印字対象がドット単位のデータで表された印字データに基づき、当該印字データを1ライン毎に印字することが行われる。1ライン毎の印字データ(以下、ドットデータともいう)には、発熱素子による印字部分が識別可能に設定される。プリンタ装置では、印字部分のドット(以下、印字ドットともいう)に対応する発熱素子を発熱させることで、文字等の印字対象を搬送される用紙に印字する。
【0004】
ところで、ドットデータ中における印字ドットのドット数や割合(以下、印字率ともいう)は電力消費量に関係する。具体的には、印字率が高いほどより多くの発熱素子を発熱させる必要があるため電力消費量が増加することになる。また、プリンタ装置では、定格出力(電源)が規定されている。そのため、上述のプリンタ装置では、印字率に応じた印字速度をライン毎に設定することで、消費電力を規定値内に抑える制御が一般的に行われている。
【0005】
しかしながら、従来の技術では、印字データの印字時に印字率が頻繁に変化するような場合、用紙の搬送に係るモータの速度変化が頻発するためモータが脱調し、印字品質の低下を引き起こす可能性がある。そのため、印字率が頻繁に変化する印字データであっても、効率的に印字を行うことが可能な技術が望まれている。
【発明の概要】
【発明が解決しようとする課題】
【0006】
本発明が解決しようとする課題は、印字率が頻繁に変化する印字データであっても、効率的に印字を行うことが可能なプリンタ装置及びプログラムを提供することである。
【課題を解決するための手段】
【0007】
実施形態のプリンタ装置は、用紙の搬送に係る搬送部と、前記用紙の搬送方向に交差するライン方向に設けられる印字ヘッドと、印字データを構成する各ラインのドットデータに含まれる印字対象ドットの印字率に基づいて、前記ドットデータを印字する印字速度をライン毎に設定する設定部と、前記ドットデータに設定された印字速度が、連続する所定のライン数内で複数回変化する場合、当該ドットデータに設定された印字速度を一定速度に変更する変更部と、前記搬送部を制御し、前記ドットデータの各々に設定された印字速度で前記用紙を前記印字ヘッドに向けて順次搬送させることで、前記ドットデータの印字をライン毎に行う印字制御部と、を備える。
【図面の簡単な説明】
【0008】
図1は、実施形態に係るプリンタ装置の概略構造を模式的に示す図である。
図2は、実施形態に係るプリンタ装置のハードウェア構成の一例を示す図である。
図3は、印字ドットの印字率と印字速度との関係を説明するための図である。
図4は、印字ドットの印字率と印字速度との関係を説明するための図である。
図5は、実施形態に係るプリンタ装置の機能構成の一例を示す図である。
図6は、実施形態の印字速度制御部が行う印字速度制御の動作例を説明するための説明図である。
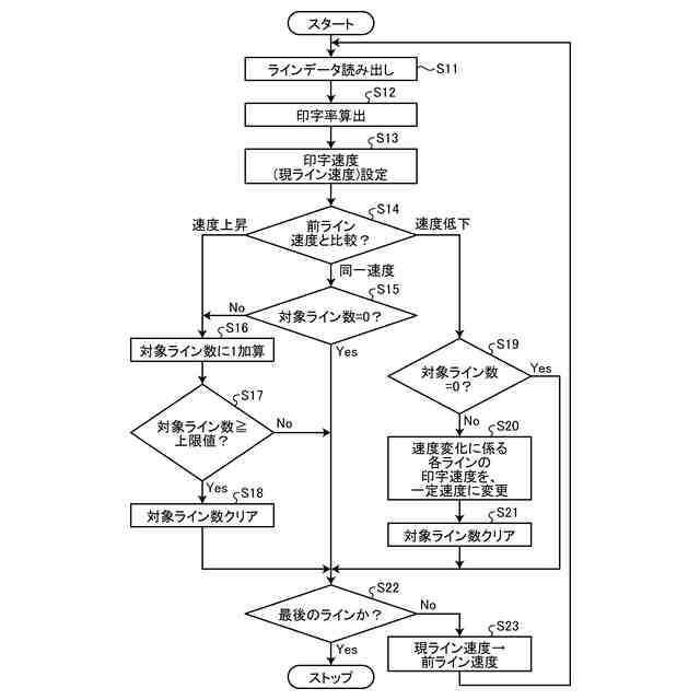
図7は、実施形態のプリンタ装置が行う印字速度制御処理の一例を示すフローチャートである。
【発明を実施するための形態】
【0009】
以下、図面を参照して、実施形態について詳細に説明する。なお、以下に説明する実施形態によりこの発明が限定されるものではない。
【0010】
図1は、プリンタ装置の概略構造を模式的に示す図である。図1に示すように、プリンタ装置10は、サーマルヘッド1と、プラテンローラ2とを有している。サーマルヘッド1とプラテンローラ2とは、巻回された連続紙Sから供給される記録媒体としての用紙3を挟み、互いに対向する位置に設けられている。
(【0011】以降は省略されています)
この特許をJ-PlatPat(特許庁公式サイト)で参照する
関連特許
個人
印鑑
2日前
個人
箔熱転写装置
2か月前
シヤチハタ株式会社
印判
6か月前
東レ株式会社
凸版印刷版原版
12か月前
シヤチハタ株式会社
反転式印判
11か月前
キヤノン株式会社
記録装置
2か月前
三光株式会社
感熱記録材料
8か月前
キヤノン株式会社
電子機器
1か月前
独立行政法人 国立印刷局
印刷物
8か月前
株式会社リコー
印刷システム
2か月前
株式会社リコー
画像形成装置
2か月前
株式会社リコー
液体吐出装置
5か月前
株式会社リコー
画像形成装置
2か月前
株式会社リコー
液体吐出装置
7か月前
独立行政法人 国立印刷局
記録媒体
10か月前
株式会社リコー
液体吐出装置
9か月前
株式会社リコー
液体吐出装置
7か月前
日本製紙株式会社
感熱記録体
9か月前
株式会社リコー
液体吐出装置
9か月前
独立行政法人 国立印刷局
貼付機構
3か月前
株式会社リコー
液体吐出装置
6か月前
株式会社リコー
液体吐出装置
10か月前
株式会社リコー
液体吐出装置
3か月前
独立行政法人 国立印刷局
貼付装置
3か月前
株式会社リコー
画像形成装置
2か月前
キヤノン株式会社
画像形成装置
8か月前
キヤノン株式会社
印刷システム
17日前
キヤノン株式会社
画像処理装置
6か月前
理想科学工業株式会社
印刷装置
8か月前
ブラザー工業株式会社
プリンタ
6か月前
ブラザー工業株式会社
液体吐出ヘッド
2か月前
キヤノン株式会社
印刷制御装置
12か月前
フジコピアン株式会社
中間転写シート
11か月前
キヤノン株式会社
画像形成装置
5か月前
キヤノン株式会社
画像形成装置
1か月前
キヤノン株式会社
画像記録装置
2か月前
続きを見る
他の特許を見る