TOP
|
特許
|
意匠
|
商標
特許ウォッチ
Twitter
他の特許を見る
公開番号
2025149396
公報種別
公開特許公報(A)
公開日
2025-10-08
出願番号
2024050016
出願日
2024-03-26
発明の名称
プリンタ
出願人
東芝テック株式会社
代理人
弁理士法人酒井国際特許事務所
主分類
B41J
29/00 20060101AFI20251001BHJP(印刷;線画機;タイプライター;スタンプ)
要約
【課題】筐体の底となる面が変更されてもロール紙を適切な位置に位置させることができるプリンタを提供する。
【解決手段】プリンタは、所定の角度をなして隣り合う2面のいずれかを選択的に底面として載置可能な筐体と、一端部に設けられた軸を中心とした回動に伴い前記筐体の開口部を開閉する蓋部と、前記筐体に内蔵され、帯状の用紙が巻かれたロール紙を収容する収容部と、前記筐体に内蔵され、前記収容部から引き出された前記用紙に印字する印字部と、前記蓋部が前記開口部を閉じる向きに回動されるとき、前記収容部に収容された前記ロール紙を、前記蓋部から離れる向きに移動させるロール紙ガイドと、を備える。
【選択図】図7
特許請求の範囲
【請求項1】
所定の角度をなして隣り合う2面のいずれかを選択的に底面として載置可能な筐体と、
一端部に設けられた軸を中心とした回動に伴い前記筐体の開口部を開閉する蓋部と、
前記筐体に内蔵され、帯状の用紙が巻かれたロール紙を収容する収容部と、
前記筐体に内蔵され、前記収容部から引き出された前記用紙に印字する印字部と、
前記蓋部が前記開口部を閉じる向きに回動されるとき、前記収容部に収容された前記ロール紙を、前記蓋部から離れる向きに移動させるロール紙ガイドと、
を備えるプリンタ。
続きを表示(約 650 文字)
【請求項2】
前記蓋部の内側面に設けられ、前記蓋部が前記開口部を閉じる位置にあるとき、前記収容部に収容された前記ロール紙の外周面を、前記蓋部から離れる向きに押圧する押圧部と、
前記蓋部が前記開口部を閉じる位置にあるとき、前記収容部に収容された前記ロール紙の残量を検知する残量検知部と、
を備え、
前記ロール紙ガイドは、前記蓋部が前記開口部を閉じる向きに回動されるとき、前記ロール紙を、前記押圧部に干渉しない場所に向けて移動させる
請求項1に記載のプリンタ。
【請求項3】
前記蓋部の回動を変換して伝達することにより前記ロール紙ガイドを移動させる伝達部を備える
請求項1に記載のプリンタ。
【請求項4】
前記伝達部は、
前記ロール紙ガイドを貫通する支軸と、
前記ロール紙ガイドを移動させる方向に長手方向を沿わせて設けられ、前記支軸の端部を案内するレールと、
前記蓋部の軸の周りに設けられて、前記蓋部の回動により円弧状の軌道で移動するものであって、前記支軸の端部と連結される連結部と、
前記支軸と前記連結部とを連結し、前記連結部の移動を受けて移動することで、前記支軸を前記レールに沿って移動させるリンク部と、
を備える請求項3に記載のプリンタ。
【請求項5】
前記ロール紙ガイドは、駆動源が発する駆動力の伝達により移動される
請求項1に記載のプリンタ。
発明の詳細な説明
【技術分野】
【0001】
本発明の実施形態は、プリンタに関する。
続きを表示(約 1,800 文字)
【背景技術】
【0002】
帯状の用紙が巻かれたロール紙を筐体に収容し、ロール紙から引き出した用紙に印字するプリンタが、従来、用いられている。そのようなプリンタには、例えば横長の筐体を縦長に向けて使用する等、筐体を机上等に載置したときの底面を変更しての使用が想定されたものがある。そのようなプリンタにおいては、底面とする面の選択によって筐体内に収容されたロール紙の位置が変わって適切な位置からずれてしまい、そのために用紙残量が正しく検知できなくなる等の課題がある。
【0003】
ここで、特許文献1が開示するプリンタは、用紙残量を検知するにあたって適切な位置にロール紙が位置するよう、ロール紙を押圧する等の構造を設けている。仮にこのプリンタにおいて底面とする面を変更し、筐体の開口部を上向きではなく横向きに開放した場合、転がり出る方向に移動したロール紙が上記構造に干渉して筐体を再度閉じる際の妨げになるおそれがある。
【発明の概要】
【発明が解決しようとする課題】
【0004】
本発明が解決しようとする課題は、筐体の底となる面が変更されてもロール紙を適切な位置に位置させることができるプリンタを提供することである。
【課題を解決するための手段】
【0005】
実施形態のプリンタは、所定の角度をなして隣り合う2面のいずれかを選択的に底面として載置可能な筐体と、一端部に設けられた軸を中心とした回動に伴い前記筐体の開口部を開閉する蓋部と、前記筐体に内蔵され、帯状の用紙が巻かれたロール紙を収容する収容部と、前記筐体に内蔵され、前記収容部から引き出された前記用紙に印字する印字部と、前記蓋部が前記開口部を閉じる向きに回動されるとき、前記収容部に収容された前記ロール紙を、前記蓋部から離れる向きに移動させるロール紙ガイドと、を備える。
【図面の簡単な説明】
【0006】
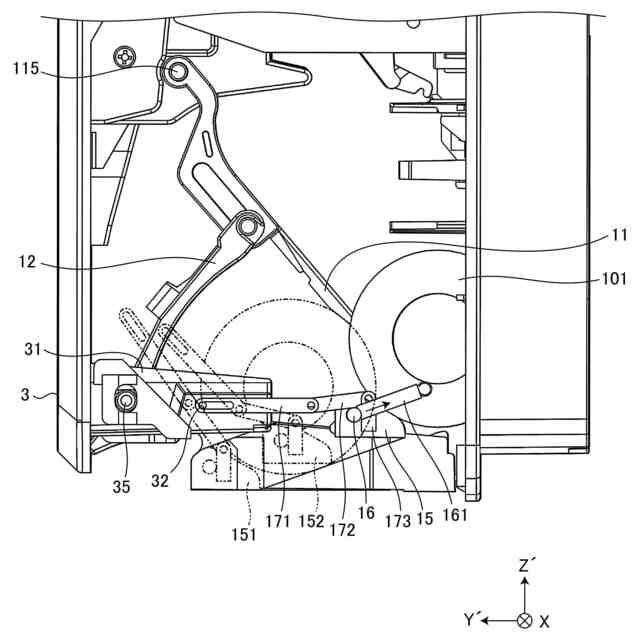
図1は、実施形態のプリンタの外観の一例を示す斜視図である。
図2は、プリンタの内部構造の一例を示す断面図である。
図3は、縦置きで使用されるプリンタの断面図である。
図4は、縦置きで使用されるプリンタの断面図である。
図5は、ロール紙ガイドおよびその周囲の位置関係を概略的に示した図である。
図6は、ロール紙ガイドの、蓋部の開閉に伴う移動について説明する図である。
図7は、収容部の内部を移動するロール紙ガイドやリンク部を示す図である。
【発明を実施するための形態】
【0007】
実施形態について図面を用いて説明する。図1は、実施形態のプリンタ1の外観の一例を示す斜視図である。図2は、プリンタ1の内部構造の一例を示す断面図である。プリンタ1は、筐体2、蓋部3、収容部4、印字ヘッド5、プラテンローラ6、ダンパ7、カッターユニット8などを備える。印字ヘッド5およびプラテンローラ6は、印字部の一例を構成する。
【0008】
筐体2は、蓋部3により開閉される開口部を有し、他の各部(収容部4、印字ヘッド5、プラテンローラ6、ダンパ7、カッターユニット8など)を内蔵する容器である。筐体2は略直方体状の形状を有し、縦長になる置き方および横長になる置き方で載置可能であって、これによりプリンタ1は、横置きおよび縦置きのいずれでも使用可能とされている。
【0009】
図1の斜視図は、横置きにしたプリンタ1の上面、正面および右側面が見え、プリンタ1の底面、背面および左側面が見えない状態を示す。横置きは、蓋部3を上向きした、筐体2が横長になる置き方である。横置きの場合の三次元座標系を、X,Y,Z軸で示す。X軸方向は、プリンタ1の幅方向である。Y軸方向は、横置きのプリンタ1の奥行方向である。Z軸方向は、横置きのプリンタ1の高さ方向である。
【0010】
縦置きは、筐体2が縦長になる置き方である。プリンタ1が縦置きの場合、図1で図中手前の面(正面)が上向きになり、蓋部3が縦になる。縦置きの場合の三次元座標系を、X,Y´,Z´軸で示す。X軸方向は、横置き時と同様に、プリンタ1の幅方向である。Y´軸方向は、縦置きのプリンタ1の奥行方向である。Z´軸方向は、縦置きのプリンタ1の高さ方向である。
(【0011】以降は省略されています)
この特許をJ-PlatPat(特許庁公式サイト)で参照する
関連特許
東芝テック株式会社
光学装置
2日前
東芝テック株式会社
プリンタ
2日前
東芝テック株式会社
プリンタ装置
3日前
東芝テック株式会社
取引処理システム
9日前
東芝テック株式会社
レンズミラーアレイ
2日前
東芝テック株式会社
サーバ及び画像形成装置
4日前
東芝テック株式会社
画像形成装置及びサーバ
3日前
東芝テック株式会社
冷却装置および画像形成装置
2日前
東芝テック株式会社
情報処理装置及びプログラム
9日前
東芝テック株式会社
取引処理装置及びプログラム
9日前
東芝テック株式会社
画像形成装置およびプログラム
9日前
東芝テック株式会社
画像形成装置及びその制御方法
2日前
東芝テック株式会社
画像形成装置及びその調整方法
2日前
東芝テック株式会社
会計装置及び情報処理プログラム
9日前
東芝テック株式会社
スポーツ指導装置およびプログラム
3日前
東芝テック株式会社
棚入出力システムと取引システムとの同期
2日前
東芝テック株式会社
情報処理装置、情報処理プログラム及び情報処理方法
2日前
東芝テック株式会社
コンピュータビジョンを使用するセルフチェックアウトにおける顧客支援
4日前
個人
印鑑
2日前
個人
箔熱転写装置
2か月前
シヤチハタ株式会社
印判
6か月前
東レ株式会社
凸版印刷版原版
12か月前
シヤチハタ株式会社
反転式印判
11か月前
キヤノン株式会社
記録装置
2か月前
三光株式会社
感熱記録材料
8か月前
キヤノン株式会社
電子機器
1か月前
独立行政法人 国立印刷局
印刷物
8か月前
株式会社リコー
印刷システム
2か月前
株式会社リコー
画像形成装置
2か月前
株式会社リコー
液体吐出装置
5か月前
株式会社リコー
画像形成装置
2か月前
株式会社リコー
液体吐出装置
7か月前
独立行政法人 国立印刷局
記録媒体
10か月前
株式会社リコー
液体吐出装置
9か月前
株式会社リコー
液体吐出装置
7か月前
日本製紙株式会社
感熱記録体
9か月前
続きを見る
他の特許を見る