TOP
|
特許
|
意匠
|
商標
特許ウォッチ
Twitter
他の特許を見る
公開番号
2025177796
公報種別
公開特許公報(A)
公開日
2025-12-05
出願番号
2024084902
出願日
2024-05-24
発明の名称
冷却装置および画像形成装置
出願人
東芝テック株式会社
代理人
弁理士法人志賀国際特許事務所
主分類
G03G
21/00 20060101AFI20251128BHJP(写真;映画;光波以外の波を使用する類似技術;電子写真;ホログラフイ)
要約
【課題】熱源の温度上昇を抑制することができる冷却装置および画像形成装置を提供することである。
【解決手段】冷却装置は、熱源と、収容部と、ダクトと、フィルタと、ファンと、連通孔と、を持つ。収容部は、熱源を収容する収容部。ダクトは、収容部の内側に配置されている。ダクトは、収容部の外部と連通する吸引口および排気口を持つ。ダクトは、吸引口および排気口を接続する流路を形成する。フィルタは、流路に配置されている。ファンは、吸引口から排気口に向けて送風する。連通孔は、ダクトに形成されている。連通孔は、収容部の内部におけるダクトの外側空間と流路のうちファンの稼働により外側空間よりも低圧になる箇所とを連通させる。
【選択図】図4
特許請求の範囲
【請求項1】
熱源と、
前記熱源を収容する収容部と、
前記収容部の内側に配置され、前記収容部の外部と連通する吸引口および排気口を有し、前記吸引口および前記排気口を接続する流路を形成するダクトと、
前記流路に配置されたフィルタと、
前記吸引口から前記排気口に向けて送風するファンと、
前記ダクトに形成され、前記収容部の内部における前記ダクトの外側空間と前記流路のうち前記ファンの稼働により前記外側空間よりも低圧になる箇所とを連通させる連通孔と、
を備える冷却装置。
続きを表示(約 590 文字)
【請求項2】
前記ファンは、前記流路のうち前記フィルタよりも下流側の領域に配置され、
前記連通孔は、前記流路のうち前記フィルタおよび前記ファンの間の領域に開口している、
請求項1に記載の冷却装置。
【請求項3】
前記連通孔を開閉する開閉部と、
前記開閉部を駆動する駆動部と、
をさらに備える請求項1または請求項2に記載の冷却装置。
【請求項4】
請求項1または請求項2に記載の冷却装置と、
表面に静電潜像を形成する感光体、および前記感光体の前記静電潜像をトナーにより現像する現像器を有する画像形成ユニットと、
前記画像形成ユニットによって形成された前記トナーの像が転写されるシートを搬送する搬送部と、
前記画像形成ユニットおよび前記搬送部のうち少なくともいずれか一方を駆動するモータと、
を備え、
前記モータが前記熱源である、
画像形成装置。
【請求項5】
前記収容部は、前記現像器と前記熱源との間に配置された仕切り部を有し、
前記吸引口は、前記仕切り部に対する前記現像器が配置された側の空間に開口し、
前記連通孔は、前記仕切り部に対する前記熱源が配置された側の空間に開口している、
請求項4に記載の画像形成装置。
発明の詳細な説明
【技術分野】
【0001】
本発明の実施形態は、冷却装置および画像形成装置に関する。
続きを表示(約 1,500 文字)
【背景技術】
【0002】
画像形成装置は、シートに画像を形成する。画像形成装置は、トナーを収容する現像装置や、トナーをシートに定着させる定着装置、シートを搬送する搬送装置、現像装置から飛散したトナーを捕集する捕集装置などを備える。画像形成装置の筐体の内側には、画像形成装置の可動部を駆動するモータなどの熱源が配置されている。熱源の温度上昇を抑制できる冷却装置の開発が望まれている。
【先行技術文献】
【特許文献】
【0003】
特開2017-090645号公報
【発明の概要】
【発明が解決しようとする課題】
【0004】
本発明が解決しようとする課題は、熱源の温度上昇を抑制することができる冷却装置および画像形成装置を提供することである。
【課題を解決するための手段】
【0005】
冷却装置は、熱源と、収容部と、ダクトと、フィルタと、ファンと、連通孔と、を持つ。収容部は、熱源を収容する収容部。ダクトは、収容部の内側に配置されている。ダクトは、収容部の外部と連通する吸引口および排気口を持つ。ダクトは、吸引口および排気口を接続する流路を形成する。フィルタは、流路に配置されている。ファンは、吸引口から排気口に向けて送風する。連通孔は、ダクトに形成されている。連通孔は、収容部の内部におけるダクトの外側空間と流路のうちファンの稼働により外側空間よりも低圧になる箇所とを連通させる。
【図面の簡単な説明】
【0006】
実施形態の画像形成装置1の概略構成を示す正面図。
実施形態の画像処理装置のハードウエア構成図。
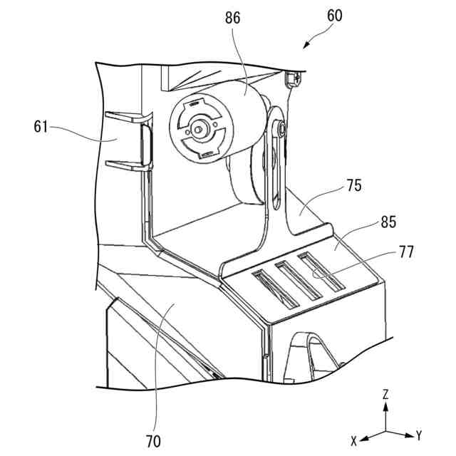
実施形態の画像形成装置の後部を示す斜視図。
図3に示された画像形成装置の内部構造を示す斜視図。
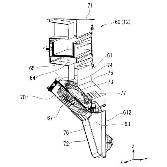
実施形態の捕集装置の斜視図。
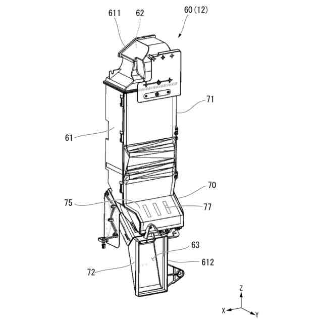
図5に示された捕集装置の内部構造を示す斜視図。
実施形態の変形例の捕集装置の一部を示す斜視図。
【発明を実施するための形態】
【0007】
以下、実施形態の冷却装置および画像形成装置を、図面を参照して説明する。なお以下の説明では、同一または類似の機能を有する構成に同一の符号を付して、それら構成の重複する説明は省略する場合がある。
【0008】
本実施形態の画像形成装置1は、シートSに画像を形成する処理を行う。シートSは、用紙でもよい。本願において、直交座標系のZ方向、X方向およびY方向が以下のように定義される。Z方向は画像形成装置1の上下方向であり、+Z方向は上方向である。X方向は画像形成装置1の左右方向であり、+X方向は右方向である。Y方向は画像形成装置1の前後方向である。例えば、Z方向は鉛直方向であり、X方向およびY方向は水平方向である。
【0009】
図1は、実施形態の画像形成装置1の概略構成を示す正面図である。
図1に示すように、画像形成装置1は、ハウジング10と、スキャナ部2と、画像形成ユニット3と、シート供給部4と、搬送部5と、制御部6と、排紙トレイ7と、反転ユニット9と、コントロールパネル8と、を備える。
【0010】
ハウジング10は、画像形成装置1の外形を形成する外装パネル40を備える。
スキャナ部2は、複写対象物の画像情報を光の明暗として読み取り、画像信号を生成する。スキャナ部2は、生成した画像信号を画像形成ユニット3に出力する。
(【0011】以降は省略されています)
この特許をJ-PlatPat(特許庁公式サイト)で参照する
関連特許
東芝テック株式会社
光学装置
2日前
東芝テック株式会社
プリンタ
2日前
東芝テック株式会社
プリンタ装置
3日前
東芝テック株式会社
プリンタ装置
9日前
東芝テック株式会社
取引処理システム
9日前
東芝テック株式会社
レンズミラーアレイ
2日前
東芝テック株式会社
画像形成装置及びサーバ
3日前
東芝テック株式会社
サーバ及び画像形成装置
4日前
東芝テック株式会社
冷却装置および画像形成装置
2日前
東芝テック株式会社
情報処理装置及びプログラム
9日前
東芝テック株式会社
取引処理装置及びプログラム
9日前
東芝テック株式会社
画像形成装置およびプログラム
9日前
東芝テック株式会社
画像形成装置及びその制御方法
2日前
東芝テック株式会社
画像形成装置及びその調整方法
2日前
東芝テック株式会社
会計装置及び情報処理プログラム
9日前
東芝テック株式会社
スポーツ指導装置およびプログラム
3日前
東芝テック株式会社
無線タグ通信装置、およびプログラム
9日前
東芝テック株式会社
商品販売データ処理装置及びプログラム
9日前
東芝テック株式会社
棚入出力システムと取引システムとの同期
2日前
東芝テック株式会社
情報処理装置、案内システム及びプログラム
9日前
東芝テック株式会社
情報処理装置、情報処理プログラム及び情報処理方法
2日前
東芝テック株式会社
コンピュータビジョンを使用するセルフチェックアウトにおける顧客支援
4日前
個人
表示装置
1か月前
個人
雨用レンズカバー
1か月前
株式会社シグマ
絞りユニット
2か月前
日本精機株式会社
プロジェクタ
2日前
キヤノン株式会社
撮像装置
3か月前
平和精機工業株式会社
雲台
3か月前
日本精機株式会社
車両用投射装置
1か月前
キヤノン株式会社
撮像装置
2か月前
キヤノン株式会社
撮像装置
9日前
キヤノン株式会社
撮像装置
1か月前
キヤノン株式会社
撮像装置
1か月前
キヤノン株式会社
撮像装置
1か月前
キヤノン株式会社
撮像装置
2か月前
株式会社リコー
画像形成装置
1か月前
続きを見る
他の特許を見る