TOP
|
特許
|
意匠
|
商標
特許ウォッチ
Twitter
他の特許を見る
10個以上の画像は省略されています。
公開番号
2025165733
公報種別
公開特許公報(A)
公開日
2025-11-05
出願番号
2024070000
出願日
2024-04-23
発明の名称
情報処理装置及びそのプログラム、情報処理システム
出願人
東芝テック株式会社
代理人
弁理士法人鈴榮特許綜合事務所
主分類
G07G
1/00 20060101AFI20251028BHJP(チェック装置)
要約
【課題】購買者への誤検知通報リスクを低減しつつ効率的で実効性のある不正行為の防止または抑止を図る。
【解決手段】情報処理装置は、検知手段と、通報手段とを備える。検知手段は、取引処理装置に対する購買者の通報を要する行為を検知する。通報手段は、1取引において、検知手段により検知された行為が当該行為に対する判定基準の閾値を超えた場合に通報する。
【選択図】 図4
特許請求の範囲
【請求項1】
取引処理装置に対する購買者の通報を要する行為を検知する検知手段と、
1取引において、前記検知手段により検知された行為が当該行為に対する判定基準の閾値を超えた場合に通報する通報手段と、
を具備する情報処理装置。
続きを表示(約 790 文字)
【請求項2】
前記通報手段は、前記通報を要する行為を行った購買者に対する取引処理装置に対して通報する、請求項1記載の情報処理装置。
【請求項3】
前記通報手段は、前記行為に対する判定基準の閾値を超えた時点で通報する、請求項2記載の情報処理装置。
【請求項4】
前記通報手段は、前記取引処理装置に対する購買者の会計指示を受けた時点で通報する、請求項2記載の情報処理装置。
【請求項5】
前記検知手段により通報を要する行為が検知された時点で、監視者用の端末に通報する第2通報手段、
をさらに具備する請求項1乃至4のうちいずれか一記載の情報処理装置。
【請求項6】
前記検知手段は、前記購買者の行動を検出するセンサの出力に基づいて判別される第1のイベントと、前記取引処理装置から通報される前記購買者の行動内容を示す第2のイベントと、に基づいて、前記通報を要する行為を種別に検知する、請求項1記載の情報処理装置。
【請求項7】
情報処理装置のコンピュータを、
取引処理装置に対する購買者の通報を要する行為を検知する検知手段、及び、
1取引において、前記検知手段により検知された行為が当該行為に対する判定基準の閾値を超えた場合に通報する通報手段、
として機能させるためのプログラム。
【請求項8】
取引処理装置に対する購買者の通報を要する行為を検知するのに必要な情報を出力する出力手段と、
前記出力手段により出力された情報を基に前記購買者の通報を要する行為を検知する検知手段と、
1取引において、前記検知手段により検知された行為が当該行為に対する判定基準の閾値を超えた場合に通報する通報手段と、
を具備する情報処理システム。
発明の詳細な説明
【技術分野】
【0001】
本発明の実施形態は、情報処理装置及びそのプログラム並びに情報処理システムに関する。
続きを表示(約 2,300 文字)
【背景技術】
【0002】
近年、人手不足又は人件費の高騰により、買物を行った購買者が購買商品の登録から取引代金の支払いまでをセルフで行うセルフチェックアウトシステムが普及している。その一方で、セルフチェックアウトシステムは、商品をスキャンせずに袋詰めをするというような不正行為が懸念される。そこで、購買者の行動をカメラで撮影し、その映像の解析をAI(Artificial Intelligence)で行うことにより、不正行為を検知した場合に通報するシステムが開発されている。
【0003】
しかしながら、このようなAIによる映像解析を用いたシステムでは、不正ではない行為を不正行為と誤検知する可能性がある。このため、不正を検知する毎に通報を行うと、誤検知に対して通報が行われるリスクが高まり、購買者からのクレームに繋がる。
【先行技術文献】
【特許文献】
【0004】
特開2021-135620号公報
【発明の概要】
【発明が解決しようとする課題】
【0005】
本発明の実施形態が解決しようとする課題は、購買者への誤検知通報リスクを低減しつつ効率的で実効性のある不正行為の防止または抑止が可能な情報処理装置を提供しようとするものである。
【課題を解決するための手段】
【0006】
一実施形態において、情報処理装置は、検知手段と、通報手段とを備える。検知手段は、取引処理装置に対する購買者の通報を要する行為を検知する。通報手段は、1取引において、検知手段により検知された行為が当該行為に対する判定基準の閾値を超えた場合に通報する。
【図面の簡単な説明】
【0007】
図1は、一実施形態に係るセルフチェックアウトシステムを示す概略構成図である。
図2は、セルフPOS端末の外観構成を示す斜視図である。
図3は、セルフPOS端末の要部回路構成を示すブロック図である。
図4は、検知端末の要部回路構成の一例を示すブロック図である。
図5は、設定テーブルの主要なデータ構造を示す模式図である。
図6は、計数テーブルの主要なデータ構造を示す模式図である。
図7は、検知端末における通報行為の検知及び通報に係る動作を、同一レジシステムのカメラ及びセルフPOS端末の動作と併せて説明するための一連のシーケンス図である。
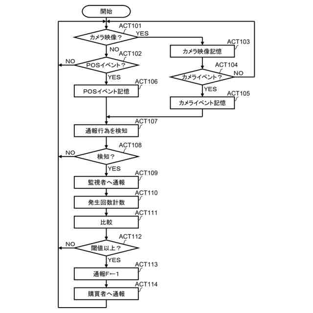
図8は、検知端末のプロセッサが実行する情報処理の要部手順を示す流れ図である。
図9は、通報行為項目「スキャン漏れ」の通報行為検知動作を示す模式図である。
図10は、通報行為項目「重量エラー」の通報行為検知動作を示す模式図である。
図11は、通報行為項目「高額商品エラー」の通報行為検知動作を示す模式図である。
図12は、通報行為項目「カート下商品エラー」の通報行為検知動作を示す模式図である。
図13は、通報行為項目「買上点数:大」の通報行為検知動作を示す模式図である。
図14は、セルフPOS端末のタッチパネルに表示される登録画面の一例である。
図15は、通報行為項目「スキャン漏れ」の通報イベントを受信したセルフPOS端末の登録画面の一例である。
図16は、監視端末のディスプレイに表示される監視画面の一例である。
図17は、第2の実施形態の検知端末における通報行為の検知及び通報に係る動作を、同一レジシステムのカメラ及びセルフPOS端末の動作と併せて説明するための一連のシーケンス図である。
図18は、第2の実施形態において、検知端末のプロセッサが実行する情報処理の要部手順を示す流れ図である。
図19は、他の実施形態におけるセルフPOS端末の外観構成図である。
図20は、他の実施形態におけるセルフPOS端末の購買者ディスプレイに表示される画面の遷移図である。
図21は、他の実施形態に係るセルフチェックアウトシステムを示す概略構成図である。
【発明を実施するための形態】
【0008】
以下、購買者への誤検知通報リスクを低減しつつ効率的で実効性のある不正行為の防止または抑止が可能な情報処理装置の実施形態について、図面を用いて説明する。
【0009】
[第1の実施形態]
始めに、情報処理装置が適用されるセルフチェックアウトシステムの一実施形態について説明する。
【0010】
[セルフチェックアウトシステムの説明]
図1は、一実施形態に係るセルフチェックアウトシステムSYSを示す概略構成図である。セルフチェックアウトシステムSYSは、複数台のセルフPOS端末1と、複数台のカメラ2と、複数台の検知端末3と、監視端末4と、記録装置5と、を含む。具体的には、セルフチェックアウトシステムSYSは、各セルフPOS端末1に対して、それぞれ1台のカメラ2と検知端末3とを対応付けて、レジシステムRSを構成する。各レジシステムRSは、店舗の会計場に設置される。セルフチェックアウトシステムSYSは、各レジシステムRSのセルフPOS(Point of Sales)端末1、カメラ2及び検知端末3と、監視端末4及び記録装置5とを、LAN(Local Area Network)等の通信ネットワーク6で接続する。本実施形態において、検知端末3は、購買者への誤検知通報リスクを低減しつつ効率的で実効性のある不正行為の防止または抑止が可能な情報処理装置として機能する。
(【0011】以降は省略されています)
この特許をJ-PlatPat(特許庁公式サイト)で参照する
関連特許
東芝テック株式会社
プリンタ装置
5日前
東芝テック株式会社
取引処理システム
5日前
東芝テック株式会社
情報処理装置及び方法
13日前
東芝テック株式会社
サーバ及び画像形成装置
今日
東芝テック株式会社
取引処理装置及びプログラム
5日前
東芝テック株式会社
情報処理装置及びプログラム
5日前
東芝テック株式会社
画像形成装置およびプログラム
5日前
東芝テック株式会社
会計装置及び情報処理プログラム
5日前
東芝テック株式会社
無線タグ通信装置、およびプログラム
5日前
東芝テック株式会社
商品販売データ処理装置及びプログラム
5日前
東芝テック株式会社
情報処理装置、案内システム及びプログラム
5日前
東芝テック株式会社
コンピュータビジョンを使用するセルフチェックアウトにおける顧客支援
今日
東芝テック株式会社
情報通信端末及び情報処理プログラム
13日前
個人
自動販売機
6日前
株式会社イシダ
商品処理装置
2か月前
株式会社タムラ製作所
自動販売機
21日前
富士電機株式会社
通貨識別装置
4か月前
沖電気工業株式会社
媒体処理装置
今日
沖電気工業株式会社
媒体処理装置
今日
沖電気工業株式会社
媒体処理装置
今日
沖電気工業株式会社
媒体処理装置
3か月前
沖電気工業株式会社
媒体処理装置
3か月前
沖電気工業株式会社
施錠開閉装置
1か月前
アサヒ飲料株式会社
遠隔決済方法
26日前
沖電気工業株式会社
媒体処理装置
3か月前
沖電気工業株式会社
紙幣処理装置
3か月前
沖電気工業株式会社
媒体処理装置
今日
株式会社ライト
情報処理装置
4か月前
株式会社ライト
情報処理装置
3か月前
株式会社ライト
情報処理装置
3か月前
富士電機株式会社
自動販売機
3か月前
富士電機株式会社
金銭処理装置
4か月前
株式会社デンソー
車載器
2か月前
グローリー株式会社
貨幣処理装置
26日前
グローリー株式会社
物品投出装置
2か月前
株式会社寺岡精工
商品登録システム
1か月前
続きを見る
他の特許を見る