TOP
|
特許
|
意匠
|
商標
特許ウォッチ
Twitter
他の特許を見る
10個以上の画像は省略されています。
公開番号
2025168495
公報種別
公開特許公報(A)
公開日
2025-11-07
出願番号
2025146192,2021126663
出願日
2025-09-03,2021-08-02
発明の名称
画像読取装置
出願人
東芝テック株式会社
代理人
弁理士法人鈴榮特許綜合事務所
主分類
H04N
1/00 20060101AFI20251030BHJP(電気通信技術)
要約
【課題】 スキャン処理の速度を可変できる画像読取装置および画像形成装置を提供する。
【解決手段】 実施形態によれば、画像読取装置は、スキャナと操作パネルと記憶部とプロセッサとを有する。スキャナは、設定されたスキャン速度で原稿の画像を読み取る。操作パネルは、原稿の画像を読み取るスキャン処理の動作速度の指示を入力する。記憶部は、スキャナを用いて原稿から読み取った画像のページ数のカウント値をスキャン速度ごとに格納するスキャンカウンタを備える。プロセッサは、操作パネルに指示された動作速度に応じたスキャン速度を設定し、設定したスキャン速度でスキャン処理を実行し、設定したスキャン速度で読み取った画像のページ数に応じてスキャンカウンタを更新する。
【選択図】図3
特許請求の範囲
【請求項1】
設定されたスキャン速度で原稿の画像を読み取るスキャナと、
前記原稿の画像を読み取るスキャン処理の動作速度の指示が入力される操作パネルと、 前記スキャナを用いて原稿から読み取った画像のページ数のカウント値をスキャン速度ごとに格納するスキャンカウンタを備える記憶部と、
前記操作パネルに指示入力された動作速度に応じたスキャン速度を設定し、前記設定したスキャン速度でスキャン処理を実行し、前記設定したスキャン速度で読み取った画像のページ数に応じて前記スキャンカウンタを更新するプロセッサと、
を有する画像読取装置。
続きを表示(約 810 文字)
【請求項2】
前記スキャンカウンタは、スキャンモードおよびスキャン速度ごとにカウント値を格納する、
請求項1に記載の画像読取装置。
【請求項3】
前記操作パネルは、前記スキャナを用いて原稿の画像を読み取るスキャン処理を高速化する指示を受け付け、
前記プロセッサは、前記操作パネルにスキャン処理を高速化する指示が入力された場合、前記操作パネルにおける指示内容に応じて前記スキャン速度をデフォルト値よりも高速に設定する、
請求項1又は2の何れか1項に記載の画像読取装置。
【請求項4】
設定されたスキャン速度で原稿の画像を読み取るスキャナと、
設定されたプリント速度で画像を用紙に印刷するプリンタと、
前記原稿の画像を用紙に印刷するコピー処理の動作速度の指示が入力される操作パネルと、
前記スキャナを用いて原稿から読み取った画像のページ数のカウント値をスキャン速度ごとに格納するスキャンカウンタと前記プリンタを用いて用紙に印刷した画像のページ数のカウント値をプリント速度ごとに格納するプリントカウンタとを備える記憶部と、
前記操作パネルに指示入力された動作速度に応じたスキャン速度およびプリント速度を設定し、前記設定したスキャン速度およびプリント速度でコピー処理を実行し、前記設定した読取速度で画像のページ数に応じて前記スキャンカウンタを更新し、前記設定した印刷速度で用紙に印刷した画像のページ数に応じて前記プリントカウンタを更新するプロセッサと、
を有する画像形成装置。
【請求項5】
前記スキャンカウンタは、スキャンモードおよびスキャン速度ごとにカウント値を格納し、
前記プリントカウンタは、プリントモードおよびプリント速度ごとにカウント値を格納する、
請求項4に記載の画像形成装置。
発明の詳細な説明
【技術分野】
【0001】
本発明の実施形態は、画像読取装置および画像形成装置に関する。
続きを表示(約 2,300 文字)
【背景技術】
【0002】
従来、デジタル複合機に搭載されるスキャナなどの画像読取装置は、工場又はセットアップ時に設定されたスキャン速度および処理速度で動作する。従来の画像読取装置は、ユーザが使用する前に設定されたスキャン速度および処理速度を変更できない。通常、スキャン速度および処理速度は、画像形成装置の価格に反映されることが多い。このため、コストを重視するユーザは低速機を購入し、処理速度を重視するユーザは高速機を購入するという選択をせざるを得ない。
【0003】
しかしながら、実際の運用において、デジタル複合機が備えるスキャナなどの画像読取装置は、コストを重視した低速処理で問題がない場合と高速処理が必要な場合とがある。従来の画像読取装置は、デフォルト設定で低速のスキャン処理でコストを抑えつつ、一時的にコストかけて高速なスキャン処理を実行するような運用ができない。近年では、ペーパーレス化の要求の高まりに応じて、デジタル複合機が備えるスキャナなどの画像読取装置によるスキャン処理の生産性の向上が重視されている。このため、ユーザの要求に応じたスキャン処理が実行でき、スキャナの生産性を向上させることができる画像読取装置およびシステムが要望されている。
【先行技術文献】
【特許文献】
【0004】
特開2006-240103号公報
【発明の概要】
【発明が解決しようとする課題】
【0005】
本発明は、上記した課題を解決するために、スキャン処理の速度を可変できる画像読取装置および画像形成装置を提供することを目的とする。
【課題を解決するための手段】
【0006】
実施形態によれば、画像読取装置は、スキャナと操作パネルと記憶部とプロセッサとを有する。スキャナは、設定されたスキャン速度で原稿の画像を読み取る。操作パネルは、原稿の画像を読み取るスキャン処理の動作速度の指示を入力する。記憶部は、スキャナを用いて原稿から読み取った画像のページ数のカウント値をスキャン速度ごとに格納するスキャンカウンタを備える。プロセッサは、操作パネルに指示された動作速度に応じたスキャン速度を設定し、設定したスキャン速度でスキャン処理を実行し、設定したスキャン速度で読み取った画像のページ数に応じてスキャンカウンタを更新する。
【図面の簡単な説明】
【0007】
図1は、実施形態に係る画像読取装置および画像形成装置としてのデジタル複合機の構成例を外観図である。
図2は、実施形態に係る画像読取装置および画像形成装置としてのデジタル複合機の構成例を示す断面図である。
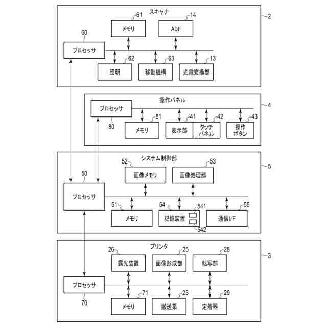
図3は、実施形態に係る画像読取装置および画像形成装置としてのデジタル複合機における制御系の構成例を示すブロック図である。
図4は、実施形態に係る画像読取装置としてのデジタル複合機が備えるスキャンカウンタの構成例を示す図である。
図5は、実施形態に係る画像形成装置としてのデジタル複合機が備えるプリントカウンタの構成例を示す図である。
図6は、実施形態に係る画像読取装置および画像形成装置としてのデジタル複合機が表示する操作画面の例を示す図である。
図7は、実施形態に係る画像読取装置および画像形成装置としてのデジタル複合機が表示する操作画面の例を示す図である。
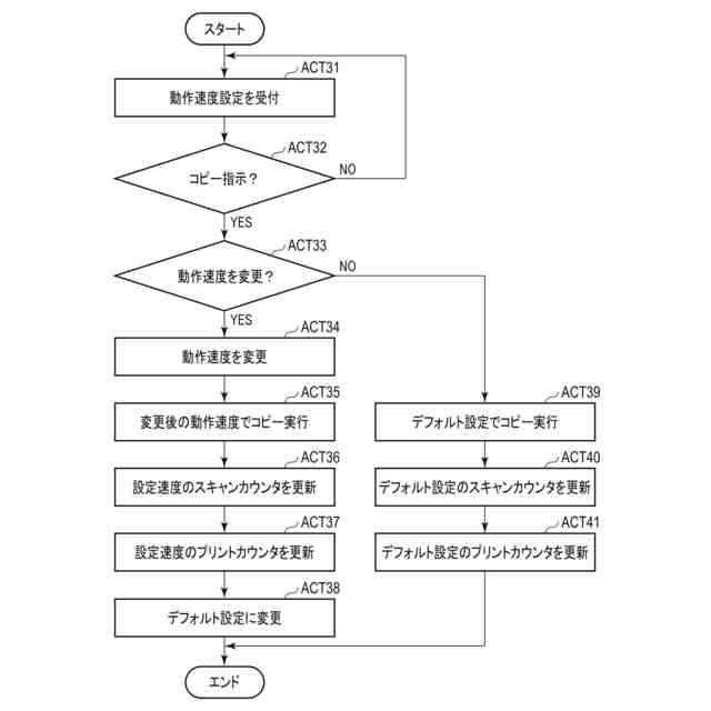
図8は、実施形態に係る画像読取装置としてのデジタル複合機におけるスキャン処理の動作例を説明するためのフローチャートである。
図9は、実施形態に係る画像形成装置としてのデジタル複合機におけるコピー処理の動作例を説明するためのフローチャートである。
【発明を実施するための形態】
【0008】
以下、本実施形態について、図面を参照しながら説明する。
まず、実施形態に係る画像形成装置としてのデジタル複合機(MFP;Multi-Functional Peripheral)1の構成について説明する。
図1は、実施形態に係る画像形成装置としてのデジタル複合機1の外観構成例を示す斜視図である。また、図2は、デジタル複合機1における制御系の構成例を概略的に示す断面図である。
【0009】
図1に示すように、デジタル複合機1は、スキャナ2、プリンタ3、操作パネル4を有する。
スキャナ2は、デジタル複合機の本体上部に設置する。スキャナ2は、原稿の画像を光学的に読み取る装置である。スキャナ2は、スキャンする原稿を載置する原稿台ガラス11を有する。スキャナ2は、原稿台ガラス11のガラスを介して原稿台ガラス11上の原稿をスキャンする画像読取機構を有する。
【0010】
スキャナ2は、キャリッジ12および光電変換部13などを有する。キャリッジ12および光電変換部13などは、原稿台ガラス11の下方に設置される。キャリッジ12は、照明62(図3参照)およびミラーなどの光学系を搭載する。照明62は、発光する光が原稿台ガラス11における読取位置を照明するようにキャリッジ12に設置する。照明62が光を照射する原稿台ガラス11上の読取位置は、主走査方向における1ライン分(又は複数ライン分)の画像となる。キャリッジ12に搭載されたミラー等の光学系は、照明62が光を照射した読取位置からの光(反射光)を光電変換部13へ導く。
(【0011】以降は省略されています)
この特許をJ-PlatPat(特許庁公式サイト)で参照する
関連特許
東芝テック株式会社
プリンタ
1か月前
東芝テック株式会社
画像形成装置
1か月前
東芝テック株式会社
プリンタ装置
4日前
東芝テック株式会社
取引処理システム
4日前
東芝テック株式会社
取引処理システム
1か月前
東芝テック株式会社
ショッピングカート
1か月前
東芝テック株式会社
情報処理装置及び方法
12日前
東芝テック株式会社
チェックアウトシステム
18日前
東芝テック株式会社
取引処理装置及びプログラム
4日前
東芝テック株式会社
制御装置、及び画像形成装置
1か月前
東芝テック株式会社
情報処理装置及びプログラム
1か月前
東芝テック株式会社
情報処理装置及びプログラム
1か月前
東芝テック株式会社
情報処理装置及びプログラム
1か月前
東芝テック株式会社
情報処理装置及びプログラム
1か月前
東芝テック株式会社
情報処理装置及びプログラム
1か月前
東芝テック株式会社
情報処理装置及びプログラム
4日前
東芝テック株式会社
商品登録装置およびプログラム
1か月前
東芝テック株式会社
情報処理装置及び情報処理方法
1か月前
東芝テック株式会社
インターロックおよびプリンタ
1か月前
東芝テック株式会社
画像形成装置およびプログラム
4日前
東芝テック株式会社
情報処理装置およびプログラム
1か月前
東芝テック株式会社
会計装置及び情報処理プログラム
4日前
東芝テック株式会社
データ処理装置及びデータ処理方法
1か月前
東芝テック株式会社
情報処理装置及び情報処理プログラム
1か月前
東芝テック株式会社
情報処理装置及び情報処理プログラム
1か月前
東芝テック株式会社
情報処理装置、及び商品登録システム
27日前
東芝テック株式会社
販売データ処理装置およびプログラム
1か月前
東芝テック株式会社
無線タグ通信装置、およびプログラム
4日前
東芝テック株式会社
商品販売データ処理装置及びプログラム
1か月前
東芝テック株式会社
来店時間案内システムおよびプログラム
1か月前
東芝テック株式会社
商品販売データ処理装置及びプログラム
4日前
東芝テック株式会社
移動体システムおよび移動体収納システム
1か月前
東芝テック株式会社
デバイス管理装置及び情報処理プログラム
1か月前
東芝テック株式会社
デバイス管理装置及び情報処理プログラム
1か月前
東芝テック株式会社
セルフチェックアウト装置およびプログラム
1か月前
東芝テック株式会社
システム、情報処理装置、およびプログラム
1か月前
続きを見る
他の特許を見る