TOP
|
特許
|
意匠
|
商標
特許ウォッチ
Twitter
他の特許を見る
10個以上の画像は省略されています。
公開番号
2025170166
公報種別
公開特許公報(A)
公開日
2025-11-14
出願番号
2025153986,2021147584
出願日
2025-09-17,2021-09-10
発明の名称
会計機及びそのプログラム、会計機の処理方法
出願人
東芝テック株式会社
代理人
弁理士法人鈴榮特許綜合事務所
主分類
G07G
1/12 20060101AFI20251107BHJP(チェック装置)
要約
【課題】セミセルフ方式の会計機のみならず、端末入力方式又はフルセルフ方式の会計機として使用できるようにする。
【解決手段】会計機は、第1処理手段と、第2処理手段と、切替手段とを備える。第1処理手段は、登録機で入力された第1の購買商品に係るデータを基に当該第1の購買商品の代金支払いを処理する。第2処理手段は、登録機以外の端末又はデバイスで入力された第2の購買商品に係るデータを基に当該第2の購買商品の代金支払いを処理する。切替手段は、操作子の操作入力に応じて、第1処理手段による代金支払いの処理を有効にするか、第2処理手段による代金支払いの処理を有効にするかを切り替える。
【選択図】 図2
特許請求の範囲
【請求項1】
購買商品に係るデータを入力する登録機とシステムを構成し、前記購買商品の代金支払いを処理する会計機であって、
前記登録機で入力された第1の購買商品に係るデータを基に当該第1の購買商品の代金支払いを処理する第1処理手段と、
前記登録機以外の端末又はデバイスで入力された第2の購買商品に係るデータを基に当該第2の購買商品の代金支払いを処理する第2処理手段と、
操作子の操作入力に応じて、前記第1処理手段による代金支払いの処理を有効にするか、前記第2処理手段による代金支払いの処理を有効にするかを切り替える切替手段と、
を具備する会計機。
続きを表示(約 1,200 文字)
【請求項2】
前記システムは、複数の前記会計機を含み、
前記登録機は、入力された前記第1の購買商品に係るデータをいずれか1台の前記会計機に送信するものであり、
前記第2処理手段による代金支払いの処理が有効であるとき、前記登録機からの前記第1の購買商品に係るデータの送信を受け付けない旨を応答する応答手段、
をさらに具備する請求項1記載の会計機。
【請求項3】
前記システムは、複数の前記会計機を含み、
前記登録機は、入力された前記第1の購買商品に係るデータをいずれか1台の前記会計機に送信するものであり、
前記第2処理手段による代金支払いの処理が有効であるとき、前記登録機から受信した前記第1の購買商品に係るデータを他の会計機に転送する転送手段、
をさらに具備する請求項1記載の会計機。
【請求項4】
前記第2処理手段により代金支払いが処理される前記第2の購買商品に係るデータは、売場において客が操作する端末で入力された購買商品に係るデータである、請求項1乃至3のうちいずれか1項記載の会計機。
【請求項5】
前記第2処理手段により代金支払いが処理される前記第2の購買商品に係るデータは、当該会計機が有する入力デバイスから入力された購買商品に係るデータである、請求項1乃至3のうちいずれか1項記載の会計機。
【請求項6】
購買商品に係るデータを入力する登録機とシステムを構成し、前記購買商品の代金支払いを処理する会計機のコンピュータを、
前記登録機で入力された第1の購買商品に係るデータを基に当該第1の購買商品の代金支払いを処理する第1処理手段、
前記登録機以外の端末又はデバイスで入力された第2の購買商品に係るデータを基に当該第2の購買商品の代金支払いを処理する第2処理手段、及び、
操作子の操作入力に応じて、前記第1処理手段による代金支払いの処理を有効にするか、前記第2処理手段による代金支払いの処理を有効にするかを切り替える切替手段、
として機能させるためのプログラム。
【請求項7】
購買商品に係るデータを入力する登録機とシステムを構成し、前記購買商品の代金支払いを処理する会計機が、
前記登録機で入力された第1の購買商品に係るデータを基に当該第1の購買商品の代金支払いを処理する第1処理手段と、
前記登録機以外の端末又はデバイスで入力された第2の購買商品に係るデータを基に当該第2の購買商品の代金支払いを処理する第2処理手段と、
を有し、
操作子の操作入力に応じて、前記第1処理手段による代金支払いの処理を有効にするか、前記第2処理手段による代金支払いの処理を有効にするかを切り替える、会計機の処理方法。
発明の詳細な説明
【技術分野】
【0001】
本発明の実施形態は、会計機及びそのプログラム、並びに会計機の処理方法に関する。
続きを表示(約 2,400 文字)
【背景技術】
【0002】
近年、量販店向けの取引処理システムとして、セミセルフ方式の取引処理システムが知られている。セミセルフ方式の取引処理システムは、取引毎に購買商品に係るデータを入力する登録機と、購買商品の代金支払いを処理する会計機とを分離する。そして、店員が登録機を操作し、客が会計機を操作するように配置する。
【0003】
セミセルフ方式の取引処理システムは、購買商品に係るデータの入力操作を店員が行うため、客が自身で入力操作を行うフルセルフ方式の取引処理システムよりもデータ入力に要する時間が短縮される。
【0004】
その一方で、商品が陳列されている売場において、客がスマートフォン、タブレット端末等の通信端末を自ら操作して購買商品に係るデータをセルフで入力し、その購買商品の代金支払いも客が専用の会計機を操作してセルフで行うようにした端末入力方式の取引処理システムもすでに知られている。端末入力方式の取引処理システムは、購買商品に係るデータの入力を客が売場において行うため、店員が操作していた登録機を不要にできる。
【0005】
ところで、セミセルフ方式の取引処理システムにおける会計機と、端末入力方式の取引処理システムにおける会計機は、通常、ハードウェア構成が同一である。また、これらの会計機は、フルセルフ方式の会計機として利用することも可能である。そこで、例えば客が混雑する繁忙時は、客裁きを早くするためセミセルフ方式の会計機として使用するが、客の少ない閑散時は、従業員を減らすために端末入力方式又はフルセルフ方式の会計機として使用する運用が望まれている。
【先行技術文献】
【特許文献】
【0006】
特開2017-016413号公報
【発明の概要】
【発明が解決しようとする課題】
【0007】
本発明の実施形態が解決しようとする課題は、セミセルフ方式の会計機のみならず、端末入力方式又はフルセルフ方式の会計機として使用することができる会計機及びそのプログラム、並びに会計機の処理方法を提供しようとするものである。
【課題を解決するための手段】
【0008】
一実施形態において、購買商品に係るデータを入力する登録機とシステムを構成し、購買商品の代金支払いを処理する会計機は、第1処理手段と、第2処理手段と、切替手段とを備える。第1処理手段は、登録機で入力された第1の購買商品に係るデータを基に当該第1の購買商品の代金支払いを処理する。第2処理手段は、登録機以外の端末又はデバイスで入力された第2の購買商品に係るデータを基に当該第2の購買商品の代金支払いを処理する。切替手段は、操作子の操作入力に応じて、第1処理手段による代金支払いの処理を有効にするか、第2処理手段による代金支払いの処理を有効にするかを切り替える。
【図面の簡単な説明】
【0009】
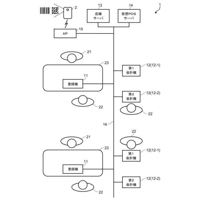
図1は、取引処理システムの概略構成を示す模式図である。
図2は、会計機の要部回路構成を示すブロック図である。
図3は、会計機が有する主要なプログラム構造を示す模式図である。
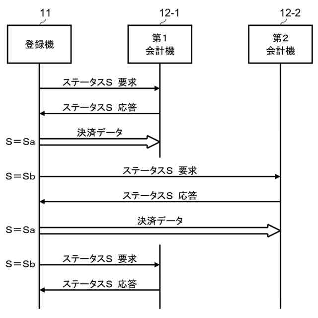
図4は、セミセルフ方式の取引処理システムに係る通信の一例を示すシーケンス図である。
図5は、個別入力方式の取引処理システムに係る通信の一例を示すシーケンス図である。
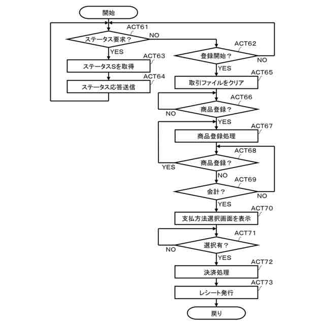
図6は、会計機のプロセッサがモード設定プログラムに従って実行する情報処理の手順を示す流れ図である。
図7は、会計機のプロセッサが第1決済エンジンプログラムに従って実行する情報処理の手順を示す流れ図である。
図8は、会計機のプロセッサが第2決済エンジンプログラムに従って実行する情報処理の手順を示す流れ図である。
図9は、会計機のプロセッサが第3決済エンジンプログラムに従って実行する情報処理の手順を示す流れ図である。
図10は、第2の実施形態において、セミセルフ方式の取引処理システムに係る通信の一例を示すシーケンス図である。
図11は、第2の実施形態において、会計機の要部回路構成を示すブロック図である。
図12は、第2の実施形態において、会計機のプロセッサが第1決済エンジンプログラムに従って実行する情報処理の手順を示す流れ図である。
図13は、第2の実施形態において、会計機のプロセッサが第2決済エンジンプログラムに従って実行する情報処理の手順を示す流れ図である。
図14は、第2の実施形態において、会計機のプロセッサが第3決済エンジンプログラムに従って実行する情報処理の手順を示す流れ図である。
【発明を実施するための形態】
【0010】
以下、会計機の実施形態について、図面を用いて説明する。
本実施形態は、一店舗において、セミセルフ方式の取引処理システムと、端末入力方式の取引処理システムと、フルセルフ方式の取引処理システムとを併用する場合を例示する。セミセルフ方式の取引処理システムは、購買商品に係るデータの入力を店員が登録機で行い、その購買商品の代金支払いを客が会計機で行う方式の取引処理システムである。端末入力方式の取引処理システムは、商品が陳列されている売場において、客がスマートフォン又はタブレット端末等の移動可能な通信端末を利用して購買商品に係るデータの入力を行い、その購買商品の代金支払いも客が会計機で行う方式の取引処理システムである。フルセルフ方式の取引処理システムは、購買商品に係るデータの入力とその購買商品の代金支払いとを、客が一台の会計機で行う方式である。そして、いずれも取引処理システムで使用される会計機のハードウェア構成は同一である。
(【0011】以降は省略されています)
この特許をJ-PlatPat(特許庁公式サイト)で参照する
関連特許
東芝テック株式会社
プリンタ装置
4日前
東芝テック株式会社
取引処理システム
4日前
東芝テック株式会社
情報処理装置及び方法
12日前
東芝テック株式会社
チェックアウトシステム
18日前
東芝テック株式会社
取引処理装置及びプログラム
4日前
東芝テック株式会社
情報処理装置及びプログラム
4日前
東芝テック株式会社
画像形成装置およびプログラム
4日前
東芝テック株式会社
会計装置及び情報処理プログラム
4日前
東芝テック株式会社
情報処理装置、及び商品登録システム
27日前
東芝テック株式会社
無線タグ通信装置、およびプログラム
4日前
東芝テック株式会社
商品販売データ処理装置及びプログラム
4日前
東芝テック株式会社
情報処理装置、案内システム及びプログラム
4日前
東芝テック株式会社
画像読取装置
25日前
東芝テック株式会社
取引処理装置及びその制御プログラム
18日前
東芝テック株式会社
情報通信端末及び情報処理プログラム
12日前
東芝テック株式会社
決済装置及びそのプログラム、決済方法
20日前
東芝テック株式会社
商品販売データ処理装置及びプログラム
25日前
東芝テック株式会社
会計機及びそのプログラム、会計機の処理方法
18日前
個人
自動販売機
5日前
株式会社イシダ
商品処理装置
2か月前
株式会社タムラ製作所
自動販売機
20日前
沖電気工業株式会社
媒体処理装置
3か月前
沖電気工業株式会社
施錠開閉装置
1か月前
沖電気工業株式会社
媒体処理装置
3か月前
アサヒ飲料株式会社
遠隔決済方法
25日前
沖電気工業株式会社
媒体処理装置
3か月前
沖電気工業株式会社
紙幣処理装置
3か月前
富士電機株式会社
自動販売機
3か月前
株式会社ライト
情報処理装置
3か月前
株式会社ライト
情報処理装置
3か月前
株式会社デンソー
車載器
2か月前
富士電機株式会社
金銭処理装置
4か月前
グローリー株式会社
貨幣処理装置
25日前
グローリー株式会社
物品投出装置
2か月前
アサヒ飲料株式会社
自動販売機の決済方法
25日前
株式会社寺岡精工
商品登録システム
1か月前
続きを見る
他の特許を見る