TOP
|
特許
|
意匠
|
商標
特許ウォッチ
Twitter
他の特許を見る
10個以上の画像は省略されています。
公開番号
2025179002
公報種別
公開特許公報(A)
公開日
2025-12-09
出願番号
2025029751
出願日
2025-02-27
発明の名称
表示装置及びヘッドアップディスプレイ装置
出願人
日本精機株式会社
代理人
主分類
G02B
27/01 20060101AFI20251202BHJP(光学)
要約
【課題】より均斉度を高めることができる表示装置及びヘッドアップディスプレイ装置を提供する。
【解決手段】画像を表す表示光Lを出射する表示装置10は、照明光ILを発する光源19と、光源19からの照明光ILを平行光化する第3レンズ53と、第3レンズ53により平行光化された照明光ILを配光し、平行光化された照明光ILの光軸上に並べられる面51i,51o,52i,52oと、面51i,51o,52i,52oにより配光された照明光ILを受けて表示光Lを出射し、この出射した表示光Lの光軸に対して傾斜する向きに設けられる表示面18aと、を備える。面51i,51o,52i,52oのうち何れかは、表示面18aに沿う向きに設けられるフレネルレンズ面である。面51i,51o,52i,52oのうちフレネルレンズ面以外の何れかは、シリンドリカルレンズ面又はバイコーニックレンズアレイ面である。
【選択図】図2
特許請求の範囲
【請求項1】
画像を表す表示光を出射する表示装置であって、
光を発する光源と、
前記光源からの光を平行光化するコリメート手段と、
前記コリメート手段により平行光化された光を配光し、前記平行光化された光の光軸上に並べられる複数の配光光学面と、
前記複数の配光光学面により配光された光を受けて前記表示光を出射し、この出射した前記表示光の光軸に対して傾斜する向きに設けられる表示面と、を備え、
前記複数の配光光学面のうち何れかの第1配光光学面は、前記表示面に沿う向きに設けられるフレネルレンズ面であり、
前記複数の配光光学面のうち第2配光光学面は、レンチキュラレンズ面又はバイコーニックレンズアレイ面である、
表示装置。
続きを表示(約 720 文字)
【請求項2】
前記第2配光光学面は、2つあり、
2つの前記第2配光光学面のうち一方は、縦方向に光を配光する第1レンチキュラレンズ面であり、
2つの前記第2配光光学面のうち他方は、横方向に光を配光する第2レンチキュラレンズ面であり、
前記第1レンチキュラレンズ面は、前記平行光化された光の光軸に対して直交する向きに設けられ、
前記縦方向と前記横方向は、それぞれ前記光軸に対して直交しつつ、互いに直交する方向に設定されている、
請求項1に記載の表示装置。
【請求項3】
前記第2配光光学面は、2つあり、
2つの前記第2配光光学面のうち一方の第1レンチキュラレンズ面の曲率半径の絶対値は、前記第1レンチキュラレンズ面よりも前記表示面から遠い位置にある2つの前記第2配光光学面のうち他方の第2レンチキュラレンズ面の曲率半径の絶対値以上に設定される、
請求項1に記載の表示装置。
【請求項4】
請求項1~3の何れか1項に記載の表示装置と、
前記表示装置からの前記表示光を反射するミラーと、を備え、
前記ミラーは、縦方向の両端である前記表示光の上端と下端を交差させるように前記表示光を反射し、
前記第1配光光学面である前記フレネルレンズ面は、横方向において曲率ゼロで直線的に延び、前記縦方向において凸状をなす凸レンズをフレネルレンズ化したリニアフレネルレンズ面であり、
前記縦方向と前記横方向は、それぞれ前記平行光化された光の光軸に対して直交しつつ、互いに直交する方向に設定されている、
ヘッドアップディスプレイ装置。
発明の詳細な説明
【技術分野】
【0001】
本開示は、表示装置及びヘッドアップディスプレイ装置に関する。
続きを表示(約 2,600 文字)
【背景技術】
【0002】
例えば、特許文献1に記載のヘッドアップディスプレイ装置は、光源と、光源からの光が透過する第1~第3レンズと、第1~第3レンズを経た光を受けて表示光を出射する液晶表示パネルと、液晶表示パネルからの表示光をフロントガラス等の被投射部材に向けて反射させることにより虚像を表示する凹面鏡と、を備える。第1レンズは、光源からの光を略平行化する。第2レンズ及び第3レンズは、液晶表示パネルや虚像可視範囲に合わせて光を拡散及び配光する。
【先行技術文献】
【特許文献】
【0003】
特開2020-160293号公報
【発明の概要】
【発明が解決しようとする課題】
【0004】
上記特許文献1に記載の構成では、各レンズの配置や種類において、液晶表示パネルに対する照明の均斉度の観点から改善の余地があった。
【0005】
本開示は、上記実状を鑑みてなされたものであり、より均斉度を高めることができる表示装置及びヘッドアップディスプレイ装置を提供することを目的とする。
【課題を解決するための手段】
【0006】
上記目的を達成するため、本開示の第1の観点に係る表示装置は、
画像を表す表示光を出射する表示装置であって、
光を発する光源と、
前記光源からの光を平行光化するコリメート手段と、
前記コリメート手段により平行光化された光を配光し、前記平行光化された光の光軸上に並べられる複数の配光光学面と、
前記複数の配光光学面により配光された光を受けて前記表示光を出射し、この出射した前記表示光の光軸に対して傾斜する向きに設けられる表示面と、を備え、
前記複数の配光光学面のうち何れかの第1配光光学面は、前記表示面に沿う向きに設けられるフレネルレンズ面であり、
前記複数の配光光学面のうち第2配光光学面は、レンチキュラレンズ面又はバイコーニックレンズアレイ面である。
【0007】
上記目的を達成するため、本開示の第2の観点に係るヘッドアップディスプレイ装置は、
前記表示装置と、
前記表示装置からの前記表示光を反射するミラーと、を備え、
前記ミラーは、縦方向の両端である前記表示光の上端と下端を交差させるように前記表示光を反射し、
前記第1配光光学面である前記フレネルレンズ面は、横方向において曲率ゼロで直線的に延び、前記縦方向において凸状をなす凸レンズをフレネルレンズ化したリニアフレネルレンズ面であり、
前記縦方向と前記横方向は、それぞれ前記平行光化された光の光軸に対して直交しつつ、互いに直交する方向に設定されている。
【発明の効果】
【0008】
本開示によれば、より均斉度を高めることができる。
【図面の簡単な説明】
【0009】
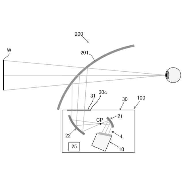
本開示の一実施形態に係るクロス光学系でのヘッドアップディスプレイ装置の概略断面図である。
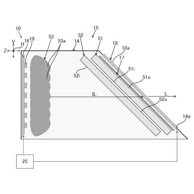
本開示の一実施形態に係る横方向から見た表示装置の概略断面図である。
本開示の一実施形態に係るシリンドリカルレンズ面の斜視図である。
本開示の一実施形態に係る同心円フレネルレンズ面の斜視図である。
本開示の一実施形態に係る同心円フレネルレンズ面の断面図である。
本開示の一実施形態の変形例に係る横方向から見た表示装置の概略断面図である。
本開示の一実施形態に係る横配光リニアフレネルレンズ面の斜視図である。
本開示の一実施形態に係る横配光リニアフレネルレンズ面の正面図である。
本開示の一実施形態に係る縦配光リニアフレネルレンズ面の斜視図である。
本開示の一実施形態に係る縦配光リニアフレネルレンズ面の正面図である。
本開示の一実施形態に係るバイコーニックレンズアレイ面の斜視図である。
本開示の一実施形態に係る上段はシリンドリカルレンズ面が表示面に平行な構成での縦方向の光強度分布を示す図であり、シリンドリカルレンズ面が平行光進行方向に直交する構成での縦方向の光強度分布を示す図である。
本開示の一実施形態に係る条件B1での各レンズパターンでの各レンズ面の構成を示す表である。
本開示の一実施形態に係る条件B2での各レンズパターンでの各レンズ面の構成を示す表である。
本開示の一実施形態に係る条件B3での各レンズパターンでの各レンズ面の構成を示す表である。
本開示の一実施形態に係る条件B4での各レンズパターンでの各レンズ面の構成を示す表である。
本開示の一実施形態に係る上段は表示面での画像表示領域を示す模式図であり、下段は光源とディミングゾーンを示す模式図である。
本開示の一実施形態に係るフレネルレンズ面の一部を示す概略断面図である。
本開示の変形例に係る非クロス光学系でのヘッドアップディスプレイ装置の模式的な断面図である。
本開示の変形例に係る横方向から見た表示装置の概略断面図である。
本開示の一実施形態に係る同心円フレネルレンズ面を有するレンズの斜視図である。
本開示の一実施形態に係る横方向から見たときのヘッドアップディスプレイ装置の光路を示す模式図である。
本開示の一実施形態に係る縦方向から見たときのヘッドアップディスプレイ装置の光路を示す模式図である。
【発明を実施するための形態】
【0010】
本開示の一実施形態に係るヘッドアップディスプレイ装置について、図面を参照して説明する。
図1に示すように、ヘッドアップディスプレイ装置100は、例えば、車両200のダッシュボード内に設置される。ヘッドアップディスプレイ装置100は、車両200の被投射部材であるウインドシールド201に向けて画像を表す表示光Lを射出し、ウインドシールド201で反射した表示光Lによって虚像Wを表示する。虚像Wは、視認者から見て、左右方向に長く、上下方向に短い長方形の表示領域に表示される。
(【0011】以降は省略されています)
この特許をJ-PlatPat(特許庁公式サイト)で参照する
関連特許
日本精機株式会社
検出装置
1か月前
日本精機株式会社
回路基板
今日
日本精機株式会社
表示装置
1か月前
日本精機株式会社
照明装置
1か月前
日本精機株式会社
発光表示装置
12日前
日本精機株式会社
プロジェクタ
4日前
日本精機株式会社
運転支援装置
1か月前
日本精機株式会社
車載表示装置
1か月前
日本精機株式会社
車載表示装置
1か月前
日本精機株式会社
ミラーユニット
1か月前
日本精機株式会社
車両用報知装置
1か月前
日本精機株式会社
車両用表示装置
1か月前
日本精機株式会社
車両用表示装置
4日前
日本精機株式会社
交通保安用投影装置
今日
日本精機株式会社
照明装置及び表示装置
11日前
日本精機株式会社
鞍乗型車両用表示装置
5日前
日本精機株式会社
鞍乗型車両用表示装置
1か月前
日本精機株式会社
車両表示装置用回路基板
4日前
日本精機株式会社
ヘッドアップディスプレイ
1か月前
日本精機株式会社
ヘッドアップディスプレイ
1か月前
日本精機株式会社
表示装置及びその製造方法
1か月前
日本精機株式会社
スクリーン反射型表示装置
1か月前
日本精機株式会社
ヘッドアップディスプレイ装置
1か月前
日本精機株式会社
ヘッドアップディスプレイ装置
1か月前
日本精機株式会社
表示装置及びヘッドアップディスプレイ装置
今日
日本精機株式会社
表示制御装置、表示装置、及び表示制御方法
1か月前
日本精機株式会社
表示制御装置、表示装置、及び表示制御方法
4日前
日本精機株式会社
ヘッドアップディスプレイ装置及び表示制御装置
1か月前
日本精機株式会社
ヘッドアップディスプレイ装置、及び画像回転角度設定方法
4日前
日本精機株式会社
嚥下異常検出システム、嚥下異常検出装置および嚥下異常検出用プログラム
1か月前
日本精機株式会社
表示制御装置、ヘッドアップディスプレイ装置、表示制御方法、表示制御プログラム、及び車両用表示システム
12日前
日本精機株式会社
表示制御装置、ヘッドアップディスプレイ装置、表示制御方法、表示制御プログラム、および車両用表示システム
1か月前
日本精機株式会社
車両用表示制御装置、ヘッドアップディスプレイ装置、表示制御方法、表示制御プログラム、および車両用表示システム
1か月前
株式会社シグマ
結像光学系
1か月前
日本精機株式会社
ミラーユニット
1か月前
アイカ工業株式会社
反射防止フィルム
6日前
続きを見る
他の特許を見る