TOP
|
特許
|
意匠
|
商標
特許ウォッチ
Twitter
他の特許を見る
公開番号
2025080195
公報種別
公開特許公報(A)
公開日
2025-05-23
出願番号
2023193296
出願日
2023-11-13
発明の名称
照明器具
出願人
トキコーポレーション株式会社
代理人
主分類
F21S
8/02 20060101AFI20250516BHJP(照明)
要約
【課題】器具内部の間接グレアと、リングなどの意図しない内部反射光の双方を大幅に抑えるダウンライトを安価に提供する。
【解決手段】スポットライト型ダウンライトの形状とし、前記スポットライト形状の筒状体内部に、内筒を2段に筒を重ねる構造とし、光源に近い根元側の内部を黒色艶消しの拡散面とし、小口に近い側の内部をを黒色鏡面の反射面とすることで、視認される発光部と、設計照射面以外の予期しない発光部の出現を抑制した。
【選択図】図1
特許請求の範囲
【請求項1】
基部と、光源を内蔵した筒状の光源部とを有し、前記筒状の光源部は、基部に近い側に光源と、前記筒状の光源部の内部に内面が拡散面である第1の筒体を光源に近い側に有し、前記筒状の光源部の内部に内面が反射面である第2の筒体を光源に遠い小口側に有することを特徴とする照明器具。
続きを表示(約 250 文字)
【請求項2】
前記第1の筒体の内面が、黒色の吸光面である請求項1の照明器具。
【請求項3】
前記基部が天井埋め込み型である請求項1または2の照明器具。
【請求項4】
第1の筒体の内部は低温黒色クロム仕上げである請求項1から3のいずれかに記載の照明器具。
【請求項5】
第2の筒体の内部は塗装仕上げである請求項1から4のいずれかに記載のの照明器具。
【請求項6】
第2の筒体の長さは、内径以内である、請求項5の照明器具。
発明の詳細な説明
【技術分野】
【0001】
本発明は、光源部分が筒状で構成される照明器具。特にスポットライト形状のダウンライトに関する。
続きを表示(約 1,400 文字)
【背景技術】
【0002】
ダウンライトでは光の取り出し口である小口のグレアを軽減することが重要である。
最近では求められるグレアの質も変わってきており、UGR(Unified Glare Rating)などの評価指数において許容であっても、広い面積が光っているさま自体を嫌う風潮がある。
そこで、筒状であるスポットライト形状のダウンライトが開発され、さらにグレアを嫌う場合には、スポットライトで用いられる遮光用フードを装着するような場合もある。
【先行技術文献】
【特許文献】
【0003】
特開2020ー4545号公報
【発明の概要】
【発明が解決しようとする課題】
【0004】
しかしながら、こういったフードなどにより極力光を反射しないような処理を施すとしても、完全に光を吸収できるものは少なく、拡散度合いを強めた黒色の拡散面であることが多い。したがって、光が当たると薄っすらとまんべんなく光を発することになる。
その一方で、黒色の鏡面仕上げによるグレア対策手法が知られている。この場合、強い反射グレアの原因となるが、ごく一部に限られるため、拡散面を用いたときのように広い面積が光る不快グレアの原因になることは無い。しかしながら、反射面であることから意図せぬ屈折光が発生し、必要なスポット光の周りに不必要なリング状の光などの高輝度部分が発生することになる。
【課題を解決するための手段】
【0005】
筒状スポットライトの内筒を2段に筒を重ねる構造とし、光源に近い根元側の内部を黒色艶消しの拡散面とし、小口に近い側の内部をを黒色鏡面の反射面とする。
【発明の効果】
【0006】
器具内部の間接グレアと、リングなどの意図しない内部反射光の双方を大幅に抑えるダウンライトを安価に提供する。
【図面の簡単な説明】
【0007】
本発明の照明装置の簡略構造図
筒体内部がすべて拡散面だった場合の発光概念図
筒体内部がすべて鏡面だった場合の発光概念図
本発明における照明器具の発光概念図
【発明を実施するための形態】
【0008】
このように、より良質なダウンライトの設計においては、グレアの回避すること、意図せぬ屈折光による不必要なリング状の光の発生を回避すること、という2つの課題があった。
これらを避けるには、意図しない屈折光が発生しないよう厳密な光学設計が必要となり、根本的な設計から構築し直す必要に迫られる。したがって、狭い範囲のグレアと、漏れ光の無い照射面の両立は解決困難であった。
【0009】
本発明の照明器具はこの2つの方式の双方の利点を採用するものである。
【0010】
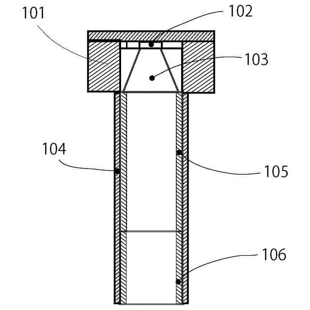
図1は、本発明の照明器具の構造を簡略的に示す図である。
本実施例では光源部にLEDを採用した。
基部101には、発光部となるLED102が設置され、LED102に対応したレンズ103が装着されている。ダウンライトの外装部となる外筒104の内部には、2段に重なるように内筒2本が設置されている。光源に近い側の内筒105の内面は、つや消し黒の拡散面としている。光源に遠い、小口側の内筒106の内面は、鏡面黒の反射面としている。
(【0011】以降は省略されています)
この特許をJ-PlatPat(特許庁公式サイト)で参照する
関連特許
個人
照明装置
15日前
個人
室外機器
5か月前
個人
照明システム
4か月前
個人
車載機器の通気構造
2か月前
個人
消火器設置表示装置
26日前
個人
気泡を用いた遊具。
7か月前
株式会社遠藤照明
照明装置
2か月前
株式会社遠藤照明
照明器具
6か月前
個人
LEDライト
4か月前
株式会社小糸製作所
車両用灯具
1か月前
株式会社小糸製作所
車両用灯具
1か月前
デンカ株式会社
照明装置
5か月前
能美防災株式会社
表示灯
2か月前
デンカ株式会社
道路用照明
5か月前
株式会社小糸製作所
投光装置
2か月前
アクア株式会社
冷蔵庫
3か月前
株式会社小糸製作所
誘導装置
1か月前
株式会社小糸製作所
投光装置
2か月前
フルトラム株式会社
光学機器
1か月前
スタンレー電気株式会社
照射用光源
1か月前
株式会社小糸製作所
車両用灯具
1か月前
株式会社小糸製作所
車両用灯具
7か月前
株式会社小糸製作所
車両用灯具
29日前
株式会社小糸製作所
車両用灯具
5か月前
株式会社小糸製作所
車両用灯具
5か月前
株式会社小糸製作所
車両用灯具
6か月前
株式会社小糸製作所
車両用灯具
7か月前
株式会社小糸製作所
車両用灯具
29日前
株式会社小糸製作所
車両用灯具
1か月前
株式会社小糸製作所
車両用灯具
7か月前
株式会社小糸製作所
車両用灯具
4か月前
株式会社小糸製作所
車両用灯具
7か月前
株式会社小糸製作所
表示用灯具
1か月前
株式会社小糸製作所
車両用灯具
4か月前
株式会社小糸製作所
表示用灯具
1か月前
株式会社小糸製作所
車両用灯具
5か月前
続きを見る
他の特許を見る