TOP
|
特許
|
意匠
|
商標
特許ウォッチ
Twitter
他の特許を見る
公開番号
2025173560
公報種別
公開特許公報(A)
公開日
2025-11-28
出願番号
2024079127
出願日
2024-05-15
発明の名称
スライドドア用給電装置
出願人
矢崎総業株式会社
代理人
弁理士法人虎ノ門知的財産事務所
主分類
H02G
11/00 20060101AFI20251120BHJP(電力の発電,変換,配電)
要約
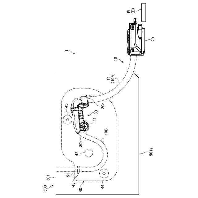
【課題】小型化や軽量化を図ること。
【解決手段】渡り部10Aのドア側端部を一端で支持し、ドア側電線配索部10Bを筒内に通して他端の電線引出口30bから筒外に引き出させる筒状のアーム30と、アームの他端を回転軸41の軸周りに回転させ得るよう軸支するドア側プロテクタ40と、を備え、回転軸41は、ドア全閉時に、車両上方を向く電線引出口に対してドア開方向側で隣設させ、かつ、スライドドアが全閉状態から開かれることによって、電線引出口を反時計回りに回転させ、ドア側プロテクタには、回転軸よりもドア開方向側に配置した軸部42と、軸部よりもドア開方向側に配置したハーネス固定部43と、が設けられ、ドア側電線配索部は、ドア全閉時に、電線引出口から引き出された後で回転軸と軸部の間を通し、ハーネス固定部までS字状に引き回してハーネス固定部に固定すること。
【選択図】図1
特許請求の範囲
【請求項1】
車体とスライドドアとの間で渡される渡り部、前記渡り部の車体側端部の先で配索される車体側電線配索部及び前記渡り部のドア側端部の先で配索されるドア側電線配索部を有するワイヤハーネスと、
前記車体に固定され、かつ、前記渡り部の前記車体側端部を保持し、かつ、前記スライドドアの開閉動作に連動して前記渡り部を揺動させる車体側プロテクタと、
前記渡り部の前記ドア側端部を一端で支持し、前記ドア側電線配索部を筒内に通して他端の電線引出口から筒外に引き出させる筒状のアームと、
前記スライドドアのドアインナパネルに固定され、かつ、前記アームの前記他端を回転軸の軸周りに回転させ得るよう軸支し、かつ、前記電線引出口から引き出された前記ドア側電線配索部を引き回すドア側プロテクタと、
を備え、
前記回転軸は、前記スライドドアのドア全閉時に、車両上方を向く前記電線引出口に対して前記スライドドアのドア開方向側で隣設させ、かつ、前記スライドドアが全閉状態から開かれることによって、前記電線引出口を反時計回りに回転させ、
前記ドア側プロテクタには、前記回転軸よりも前記ドア開方向側に配置した軸部と、前記軸部よりも前記ドア開方向側に配置したハーネス固定部と、が設けられ、
前記ドア側電線配索部は、前記ドア全閉時に、前記電線引出口から引き出された後で前記回転軸と前記軸部の間を通し、前記ハーネス固定部までS字状に引き回して前記ハーネス固定部に固定することを特徴としたスライドドア用給電装置。
続きを表示(約 360 文字)
【請求項2】
前記ワイヤハーネスは、前記ドア側電線配索部における前記電線引出口から前記ハーネス固定部までの間で前記スライドドアのドア開閉時の余長を吸収することを特徴とした請求項1に記載のスライドドア用給電装置。
【請求項3】
前記軸部は、前記回転軸よりも前記ドア開方向側で且つ車両下方に設け、
前記ハーネス固定部は、前記軸部よりも前記ドア開方向側で且つ車両上方に設けることを特徴とした請求項1又は2に記載のスライドドア用給電装置。
【請求項4】
前記ドア全閉時の前記ドア側電線配索部は、S字形状におけるそれぞれの湾曲部の内側に前記回転軸と前記軸部を置いた状態で最短となるようにして、前記ハーネス固定部で固定することを特徴とした請求項1又は2に記載のスライドドア用給電装置。
発明の詳細な説明
【技術分野】
【0001】
本発明は、スライドドア用給電装置に関する。
続きを表示(約 2,200 文字)
【背景技術】
【0002】
従来、自動車等の車両には、車体側の電源(二次電池等)をスライドドア側のスイッチや電装部品などに電気接続させるスライドドア用給電装置が搭載されている。このスライドドア用給電装置においては、その電気接続をワイヤハーネスが担っている。このワイヤハーネスにおいては、車体とスライドドアとの間を渡り部で渡し、この渡り部のドア側端部の先に配索されるドア側電線配索部を介してスライドドア500側の電気接続対象物に給電する。例えば、下記の特許文献1から3には、2本のアームの一端部同士がアーム間回転軸で繋がれて、その内の一方のアームの他端部に渡り部のドア側端部を保持させたリンクアームと、スライドドアに固定され、かつ、他方のアームの他端部を主回転軸の軸周りに回転させることで、リンクアームをスライドドアに対して相対回転させるドア側プロテクタと、を備えたスライドドア用給電装置が開示されている。
【先行技術文献】
【特許文献】
【0003】
特開2015-074431号公報
特開2014-023248号公報
特開2010-228705号公報
【発明の概要】
【発明が解決しようとする課題】
【0004】
ところで、上記従来のスライドドア用給電装置のドア側電線配索部は、アーム間回転軸と主回転軸の間を通した先でドア側プロテクタの固定部に固定され、更にその先で電気接続対象物側に接続される。スライドドア用給電装置は、スライドドア側で小型化や軽量化が求められているが、この観点で従来の構造には改善の余地がある。
【0005】
そこで、本発明は、小型化や軽量化が可能なスライドドア用給電装置を提供することを、その目的とする。
【課題を解決するための手段】
【0006】
本発明は、車体とスライドドアとの間で渡される渡り部、前記渡り部の車体側端部の先で配索される車体側電線配索部及び前記渡り部のドア側端部の先で配索されるドア側電線配索部を有するワイヤハーネスと、前記車体に固定され、かつ、前記渡り部の前記車体側端部を保持し、かつ、前記スライドドアの開閉動作に連動して前記渡り部を揺動させる車体側プロテクタと、前記渡り部の前記ドア側端部を一端で支持し、前記ドア側電線配索部を筒内に通して他端の電線引出口から筒外に引き出させる筒状のアームと、前記スライドドアのドアインナパネルに固定され、かつ、前記アームの前記他端を回転軸の軸周りに回転させ得るよう軸支し、かつ、前記電線引出口から引き出された前記ドア側電線配索部を引き回すドア側プロテクタと、を備え、前記回転軸は、前記スライドドアのドア全閉時に、車両上方を向く前記電線引出口に対して前記スライドドアのドア開方向側で隣設させ、かつ、前記スライドドアが全閉状態から開かれることによって、前記電線引出口を反時計回りに回転させ、前記ドア側プロテクタには、前記回転軸よりも前記ドア開方向側に配置した軸部と、前記軸部よりも前記ドア開方向側に配置したハーネス固定部と、が設けられ、前記ドア側電線配索部は、前記ドア全閉時に、前記電線引出口から引き出された後で前記回転軸と前記軸部の間を通し、前記ハーネス固定部までS字状に引き回して前記ハーネス固定部に固定することを特徴とする。
【発明の効果】
【0007】
本発明に係るスライドドア用給電装置は、渡り部の配索経路の変化に合わせて、1本のアームを回転軸の軸周りに回転させるだけの簡素な構造となっている。よって、このスライドドア用給電装置は、小型化や軽量化、原価の低減に寄与するものとなっている。そして、本発明に係るスライドドア用給電装置は、スライドドアのドア全閉時に、電線引出口とハーネス固定部の間でドア側電線配索部をS字状に引き回し、スライドドアが全閉状態から全開状態まで開かれた際に、その間のドア側電線配索部を弛ませて余長を吸収する。よって、このスライドドア用給電装置は、このような簡素な構造でスライドドアの開閉時にワイヤハーネスの余長を吸収することができるので、この点でも小型化や軽量化、原価の低減に寄与するものとなっている。
【図面の簡単な説明】
【0008】
図1は、実施形態のスライドドア用給電装置を車室内から見た平面図であり、スライドドアが全閉位置のときを表している。
図2は、実施形態のスライドドア用給電装置を車室内から見た平面図であり、スライドドアが全開位置のときを表している。
図3は、スライドドアが全閉位置のときのドア側プロテクタとアームの位置関係を示す平面図である。
図4は、スライドドアが全開位置のときのドア側プロテクタとアームの位置関係を示す平面図である。
【発明を実施するための形態】
【0009】
以下に、本発明に係るスライドドア用給電装置の実施形態を図面に基づいて詳細に説明する。尚、この実施形態によりこの発明が限定されるものではない。
【0010】
[実施形態]
本発明に係るスライドドア用給電装置の実施形態の1つを図1から図4に基づいて説明する。
(【0011】以降は省略されています)
この特許をJ-PlatPat(特許庁公式サイト)で参照する
関連特許
矢崎総業株式会社
端子
今日
矢崎総業株式会社
端子
1か月前
矢崎総業株式会社
箱状体
24日前
矢崎総業株式会社
箱状体
1か月前
矢崎総業株式会社
箱状体
24日前
矢崎総業株式会社
箱状体
24日前
矢崎総業株式会社
箱状体
1か月前
矢崎総業株式会社
バスバー
1か月前
矢崎総業株式会社
コネクタ
8日前
矢崎総業株式会社
電源回路
8日前
矢崎総業株式会社
コネクタ
8日前
矢崎総業株式会社
コネクタ
23日前
矢崎総業株式会社
報知装置
1か月前
矢崎総業株式会社
コネクタ
23日前
矢崎総業株式会社
照明装置
1か月前
矢崎総業株式会社
コネクタ
1か月前
矢崎総業株式会社
コネクタ
1か月前
矢崎総業株式会社
コネクタ
1か月前
矢崎総業株式会社
コネクタ
1か月前
矢崎総業株式会社
コネクタ
1日前
矢崎総業株式会社
コネクタ
1か月前
矢崎総業株式会社
コネクタ
1か月前
矢崎総業株式会社
止水部材
1か月前
矢崎総業株式会社
照明装置
1か月前
矢崎総業株式会社
コネクタ
1か月前
矢崎総業株式会社
コネクタ
1か月前
矢崎総業株式会社
コネクタ
今日
矢崎総業株式会社
コネクタ
今日
矢崎総業株式会社
照明装置
1か月前
矢崎総業株式会社
照明構造
1か月前
矢崎総業株式会社
コネクタ
1か月前
矢崎総業株式会社
照明装置
1か月前
矢崎総業株式会社
コネクタ
1か月前
矢崎総業株式会社
コネクタ
1か月前
矢崎総業株式会社
給電装置
1日前
矢崎総業株式会社
接続構造
24日前
続きを見る
他の特許を見る