TOP
|
特許
|
意匠
|
商標
特許ウォッチ
Twitter
他の特許を見る
公開番号
2025173547
公報種別
公開特許公報(A)
公開日
2025-11-28
出願番号
2024079105
出願日
2024-05-15
発明の名称
スライドドア用給電装置
出願人
矢崎総業株式会社
代理人
弁理士法人虎ノ門知的財産事務所
主分類
H02G
11/00 20060101AFI20251120BHJP(電力の発電,変換,配電)
要約
【課題】簡素化を図りつつ円滑に作動させること。
【解決手段】車体Bとスライドドア500との間で渡され且つ電線がコルゲートチューブ11で覆われた渡り部10Aを有するワイヤハーネス10と、コルゲートチューブを軸周りに相対回転させ得るよう一端で支持する筒状で且つ直線形状のアーム30と、アームの他端を回転軸41の軸周りに回転させ得るよう軸支するドア側プロテクタ40と、を備え、アームの一端には、半円弧の内周面31aを有する第1保持部31と、半円弧の内周面32aを有する第2保持部32と、を設け、第1保持部と第2保持部を組み付けることで、それぞれの内周面によって円形の内周面が形成され、第1保持部の内周面と第2保持部の内周面には、それぞれに、コルゲートチューブの凹部12aに嵌め入れて、コルゲートチューブを軸周りに相対回転させる半円弧状のリブ36a,36bを複数の凹部毎に設けること。
【選択図】図5
特許請求の範囲
【請求項1】
車体とスライドドアとの間で渡され且つ電線がコルゲートチューブで覆われた渡り部、前記渡り部の車体側端部の先で配索される車体側電線配索部及び前記渡り部のドア側端部の先で配索されるドア側電線配索部を有するワイヤハーネスと、
前記車体に固定され、かつ、前記渡り部の前記車体側端部における前記コルゲートチューブの一端を保持し、かつ、前記スライドドアの開閉動作に連動して前記渡り部を揺動させる車体側プロテクタと、
前記渡り部の前記ドア側端部における前記コルゲートチューブの他端を軸周りに相対回転させ得るよう一端で支持し、前記ドア側電線配索部を筒内に通して他端の電線引出口から筒外に引き出させる筒状で且つ直線形状のアームと、
前記スライドドアのドアインナパネルに固定され、かつ、前記アームの前記他端を回転軸の軸周りに回転させ得るよう軸支するドア側プロテクタと、
を備え、
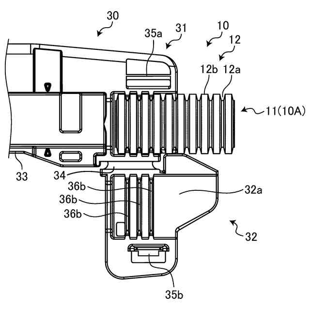
前記コルゲートチューブは、円筒状に成形され、その外周面に円環状の凹部と円環状の凸部とが軸方向に交互に配置された蛇腹部を有し、
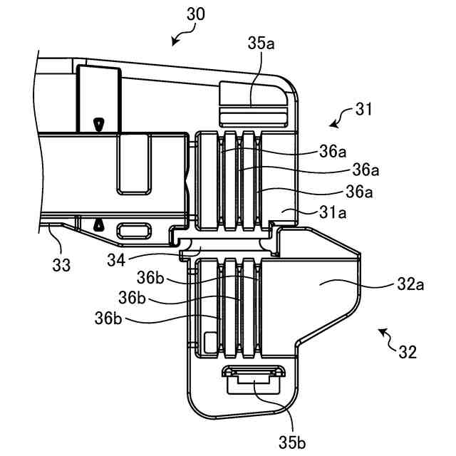
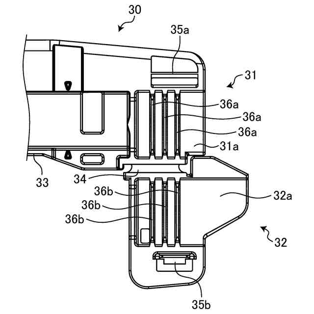
前記アームの前記一端には、半円弧の内周面を有する第1保持部と、半円弧の内周面を有する第2保持部と、を設け、前記第1保持部と前記第2保持部を組み付けることで、それぞれの前記内周面によって円形の内周面が形成され、
前記第1保持部の前記内周面と前記第2保持部の前記内周面には、それぞれに、前記コルゲートチューブの前記凹部に嵌め入れて、前記コルゲートチューブを軸周りに相対回転させる半円弧状のリブを複数の前記凹部毎に設けることを特徴としたスライドドア用給電装置。
続きを表示(約 330 文字)
【請求項2】
前記アームは、前記スライドドアのドア全閉時に、前記一端の電線導入口をドア開方向で且つ車両下方に向けて開口させると共に、前記他端の前記電線引出口をドア閉方向で且つ車両上方に向けて開口させ、前記スライドドアのドア全開時に、前記一端の前記電線導入口をドア閉方向で且つ車両下方に向けて開口させると共に、前記他端の前記電線引出口をドア開方向で且つ車両上方に向けて開口させることを特徴とした請求項1に記載のスライドドア用給電装置。
【請求項3】
前記電線引出口は、前記スライドドアのドア全閉時にドア開閉方向における前記回転軸の軸中心の変位線よりも下方に配置されることを特徴とした請求項1又は2に記載のスライドドア用給電装置。
発明の詳細な説明
【技術分野】
【0001】
本発明は、スライドドア用給電装置に関する。
続きを表示(約 2,800 文字)
【背景技術】
【0002】
従来、自動車等の車両には、車体側の電源(二次電池等)をスライドドア側のスイッチや電装部品などに電気接続させるスライドドア用給電装置が搭載されている。このスライドドア用給電装置においては、その電気接続をワイヤハーネスが担っており、このワイヤハーネスの渡り部が車体とスライドドアとの間で渡されている。例えば、下記の特許文献1には、ドア側の固定部に回転可能に支持される1本のL字の支持アームを備え、その支持アームで渡り部におけるコルゲートチューブの端部を支持する技術が開示されている。また、下記の特許文献2には、回転軸で繋がれたドア側の2本のアームを備え、その内の車体側のアームで渡り部におけるコルゲートチューブの端部を支持する技術が開示されている。
【先行技術文献】
【特許文献】
【0003】
特開2023-081625号公報
特開2015-074431号公報
【発明の概要】
【発明が解決しようとする課題】
【0004】
ところで、スライドドア用給電装置においては、ドア側のアーム等の簡素化による小型化や軽量化が求められているが、その簡素化によって、ドア開閉時のアームの円滑な回転動作が阻害されたり、ドア開閉時の渡り部の円滑な捻れ動作が阻害されたりしてしまう可能性がある。
【0005】
そこで、本発明は、簡素化を図りつつ円滑に作動させ得るスライドドア用給電装置を提供することを、その目的とする。
【課題を解決するための手段】
【0006】
本発明は、車体とスライドドアとの間で渡され且つ電線がコルゲートチューブで覆われた渡り部、前記渡り部の車体側端部の先で配索される車体側電線配索部及び前記渡り部のドア側端部の先で配索されるドア側電線配索部を有するワイヤハーネスと、前記車体に固定され、かつ、前記渡り部の前記車体側端部における前記コルゲートチューブの一端を保持し、かつ、前記スライドドアの開閉動作に連動して前記渡り部を揺動させる車体側プロテクタと、前記渡り部の前記ドア側端部における前記コルゲートチューブの他端を軸周りに相対回転させ得るよう一端で支持し、前記ドア側電線配索部を筒内に通して他端の電線引出口から筒外に引き出させる筒状で且つ直線形状のアームと、前記スライドドアのドアインナパネルに固定され、かつ、前記アームの前記他端を回転軸の軸周りに回転させ得るよう軸支するドア側プロテクタと、を備え、前記コルゲートチューブは、円筒状に成形され、その外周面に円環状の凹部と円環状の凸部とが軸方向に交互に配置された蛇腹部を有し、前記アームの前記一端には、半円弧の内周面を有する第1保持部と、半円弧の内周面を有する第2保持部と、を設け、前記第1保持部と前記第2保持部を組み付けることで、それぞれの前記内周面によって円形の内周面が形成され、前記第1保持部の前記内周面と前記第2保持部の前記内周面には、それぞれに、前記コルゲートチューブの前記凹部に嵌め入れて、前記コルゲートチューブを軸周りに相対回転させる半円弧状のリブを複数の前記凹部毎に設けることを特徴とする。
【発明の効果】
【0007】
本発明に係るスライドドア用給電装置において、コルゲートチューブの他端は、一対のリブ(円環状のリブ)に対して同心上で軸周りに相対回転させることができる。よって、スライドドア用給電装置においては、スライドドアがドア全閉時とドア全開時との間で開閉する際に、渡り部の配索経路を変化させながら、アームの一端に対してコルゲートチューブの他端を軸周りに相対回転させることによって、このアームの一端の電線導入口の前後でワイヤハーネスに発生した捻れを緩和させることができる。従って、このスライドドア用給電装置においては、ワイヤハーネスの捻れが抗力となってアームの回転を阻害させないので、そのアームを回転軸の軸周りに円滑に回転させることができる。また、この本発明に係るスライドドア用給電装置においては、一対のリブで円環状のリブを形成し、かつ、この円環状のリブを軸線方向に複数並べているので、アームの一端における円柱形状の内部空間の軸線にコルゲートチューブの他端の筒軸を合わせて、その内部空間にコルゲートチューブの他端を配置することができる。そして、このスライドドア用給電装置においては、アームの一端における円柱形状の内部空間とコルゲートチューブの他端とを同軸上で配置して、その配置状態を保つことができるので、過大な摩擦抵抗を発生させることなく円環状のリブと円環状の凹部を軸周りに相対回転させることができる。従って、このスライドドア用給電装置においては、アームの一端の電線導入口の前後でワイヤハーネスに発生した捻れを引っ掛かりなく緩和させることができるので、そのアームを回転軸の軸周りでより円滑に回転させることができる。更に、本発明に係るスライドドア用給電装置は、渡り部の配索経路の変化に合わせて、直線形状の1本のアームを回転軸の軸周りに回転させ、かつ、コルゲートチューブの他端をアームに対して同心上で軸周りに相対回転させるだけの簡素な構造となっている。このように、本発明に係るスライドドア用給電装置は、簡素化を図ってはいるが、アームを回転軸の軸周りに円滑に回転させることができる。従って、本発明に係るスライドドア用給電装置は、は、簡素化を図りつつも円滑に作動させることができる。
【図面の簡単な説明】
【0008】
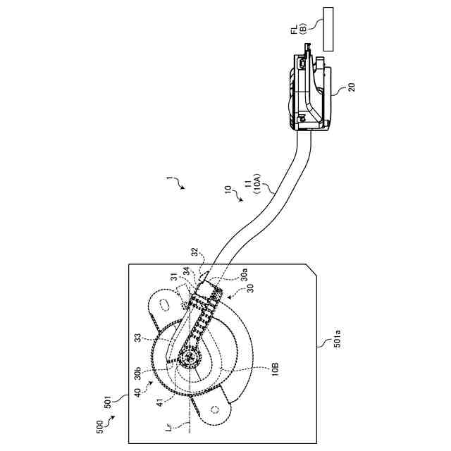
図1は、実施形態のスライドドア用給電装置を車室内から見た平面図であり、スライドドアが全閉位置のときを表している。
図2は、実施形態のスライドドア用給電装置を車室内から見た平面図であり、スライドドアが全開位置のときを表している。
図3は、スライドドアが全閉位置のときのアームを示す平面図である。
図4は、スライドドアが全開位置のときのアームを示す平面図である。
図5は、アームの一端を示す図であり、第1保持部と第2保持部が開状態のときを表している。
図6は、アームの一端をコルゲートチューブと共に示す図であり、第1保持部と第2保持部が開状態のときを表している。
【発明を実施するための形態】
【0009】
以下に、本発明に係るスライドドア用給電装置の実施形態を図面に基づいて詳細に説明する。尚、この実施形態によりこの発明が限定されるものではない。
【0010】
[実施形態]
本発明に係るスライドドア用給電装置の実施形態の1つを図1から図6に基づいて説明する。
(【0011】以降は省略されています)
この特許をJ-PlatPat(特許庁公式サイト)で参照する
関連特許
矢崎総業株式会社
端子
1か月前
矢崎総業株式会社
端子
今日
矢崎総業株式会社
箱状体
24日前
矢崎総業株式会社
箱状体
24日前
矢崎総業株式会社
箱状体
24日前
矢崎総業株式会社
箱状体
1か月前
矢崎総業株式会社
箱状体
1か月前
矢崎総業株式会社
照明装置
1か月前
矢崎総業株式会社
コネクタ
1か月前
矢崎総業株式会社
電源回路
8日前
矢崎総業株式会社
コネクタ
8日前
矢崎総業株式会社
コネクタ
1か月前
矢崎総業株式会社
コネクタ
8日前
矢崎総業株式会社
報知装置
1か月前
矢崎総業株式会社
コネクタ
1か月前
矢崎総業株式会社
バスバー
1か月前
矢崎総業株式会社
コネクタ
9日前
矢崎総業株式会社
コネクタ
23日前
矢崎総業株式会社
照明装置
1か月前
矢崎総業株式会社
照明装置
1か月前
矢崎総業株式会社
照明装置
1か月前
矢崎総業株式会社
接続構造
24日前
矢崎総業株式会社
コネクタ
1か月前
矢崎総業株式会社
コネクタ
1か月前
矢崎総業株式会社
コネクタ
1か月前
矢崎総業株式会社
コネクタ
1か月前
矢崎総業株式会社
コネクタ
2か月前
矢崎総業株式会社
コネクタ
2か月前
矢崎総業株式会社
コネクタ
2か月前
矢崎総業株式会社
コネクタ
2か月前
矢崎総業株式会社
コネクタ
今日
矢崎総業株式会社
コネクタ
今日
矢崎総業株式会社
コネクタ
2か月前
矢崎総業株式会社
コネクタ
2か月前
矢崎総業株式会社
コネクタ
1か月前
矢崎総業株式会社
コネクタ
1か月前
続きを見る
他の特許を見る