TOP
|
特許
|
意匠
|
商標
特許ウォッチ
Twitter
他の特許を見る
公開番号
2025173552
公報種別
公開特許公報(A)
公開日
2025-11-28
出願番号
2024079112
出願日
2024-05-15
発明の名称
スライドドア用給電装置
出願人
矢崎総業株式会社
代理人
弁理士法人虎ノ門知的財産事務所
主分類
H02G
11/00 20060101AFI20251120BHJP(電力の発電,変換,配電)
要約
【課題】小型化や軽量化を図ること。
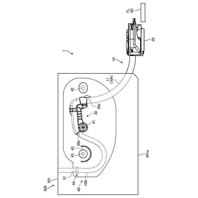
【解決手段】車体Bとスライドドア500との間で渡される渡り部10A及び渡り部のドア側端部の先で配索されるドア側電線配索部10Bを有するワイヤハーネス10と、渡り部のドア側端部を一端で支持し、ドア側電線配索部を筒内に通して他端の電線引出口30bから筒外に引き出させる筒状のアーム30と、スライドドアのドアインナパネルに対して第1固定部42と第2固定部43とで固定され、かつ、アームの他端を回転軸41の軸周りに回転させ得るよう軸支し、かつ、電線引出口から引き出されたドア側電線配索部を引き回すドア側プロテクタ40と、を備え、回転軸は、第1固定部と第2固定部の間に配置され、第1固定部の中心位置と第2固定部の中心位置と回転軸の軸心とが直線上で且つ水平に配置されること。
【選択図】図1
特許請求の範囲
【請求項1】
車体とスライドドアとの間で渡される渡り部、前記渡り部の車体側端部の先で配索される車体側電線配索部及び前記渡り部のドア側端部の先で配索されるドア側電線配索部を有するワイヤハーネスと、
前記車体に固定され、かつ、前記渡り部の前記車体側端部を保持し、かつ、前記スライドドアの開閉動作に連動して前記渡り部を揺動させる車体側プロテクタと、
前記渡り部の前記ドア側端部を一端で支持し、前記ドア側電線配索部を筒内に通して他端の電線引出口から筒外に引き出させる筒状のアームと、
前記スライドドアのドアインナパネルに対して第1固定部と第2固定部とで固定され、かつ、前記アームの前記他端を回転軸の軸周りに回転させ得るよう軸支し、かつ、前記電線引出口から引き出された前記ドア側電線配索部を引き回すドア側プロテクタと、
を備え、
前記回転軸は、前記第1固定部と前記第2固定部の間に配置され、
前記第1固定部の中心位置と前記第2固定部の中心位置と前記回転軸の軸心とが直線上で且つ水平に配置されることを特徴としたスライドドア用給電装置。
発明の詳細な説明
【技術分野】
【0001】
本発明は、スライドドア用給電装置に関する。
続きを表示(約 1,800 文字)
【背景技術】
【0002】
従来、自動車等の車両には、車体側の電源(二次電池等)をスライドドア側のスイッチや電装部品などに電気接続させるスライドドア用給電装置が搭載されている。このスライドドア用給電装置においては、その電気接続をワイヤハーネスが担っており、このワイヤハーネスの渡り部が車体とスライドドアとの間で渡されている。例えば、下記の特許文献1には、2本のアームの一端部同士がヒンジ軸で繋がれて、その内の一方のアームの他端部に渡り部の端部を保持させたリンクアームと、スライドドアに固定され、かつ、他方のアームの他端部を回転軸の軸周りに回転させるドア側プロテクタと、を備えたスライドドア用給電装置が開示されている。ドア側プロテクタは、その回転軸を間に置いて略直線上に配置された一対の固定部においてスライドドアに固定される。その一対の固定部は、回転軸から見て、その内の一方が車両上方に配置され、その内の他方が車両下方に配置されている。
【先行技術文献】
【特許文献】
【0003】
特開2010-228705号公報
【発明の概要】
【発明が解決しようとする課題】
【0004】
ところで、スライドドア用給電装置においては、スライドドア側で小型化や軽量化が求められている。従来のスライドドア用給電装置は、この観点で改善の余地がある。
【0005】
そこで、本発明は、小型化や軽量化が可能なスライドドア用給電装置を提供することを、その目的とする。
【課題を解決するための手段】
【0006】
本発明は、車体とスライドドアとの間で渡される渡り部、前記渡り部の車体側端部の先で配索される車体側電線配索部及び前記渡り部のドア側端部の先で配索されるドア側電線配索部を有するワイヤハーネスと、前記車体に固定され、かつ、前記渡り部の前記車体側端部を保持し、かつ、前記スライドドアの開閉動作に連動して前記渡り部を揺動させる車体側プロテクタと、前記渡り部の前記ドア側端部を一端で支持し、前記ドア側電線配索部を筒内に通して他端の電線引出口から筒外に引き出させる筒状のアームと、前記スライドドアのドアインナパネルに対して第1固定部と第2固定部とで固定され、かつ、前記アームの前記他端を回転軸の軸周りに回転させ得るよう軸支し、かつ、前記電線引出口から引き出された前記ドア側電線配索部を引き回すドア側プロテクタと、を備え、前記回転軸は、前記第1固定部と前記第2固定部の間に配置され、前記第1固定部の中心位置と前記第2固定部の中心位置と前記回転軸の軸心とが直線上で且つ水平に配置されることを特徴とする。
【発明の効果】
【0007】
本発明に係るスライドドア用給電装置においては、ドア側プロテクタの第1固定部とドア側プロテクタの第2固定部との間にアームの回転軸を配置して、この第1固定部の中心位置と第2固定部の中心位置と回転軸の軸心とを直線上で且つ水平に配置している。よって、本発明に係るスライドドア用給電装置は、ドア側プロテクタの車両上下方向の体格の小型化が図れ、これに伴いドア側プロテクタの軽量化を図ることができる。
【図面の簡単な説明】
【0008】
図1は、実施形態のスライドドア用給電装置を車室内から見た平面図であり、スライドドアが全閉位置のときを表している。
図2は、実施形態のスライドドア用給電装置を車室内から見た平面図であり、スライドドアが全開位置のときを表している。
図3は、スライドドアが全閉位置のときのドア側プロテクタとアームの位置関係を示す平面図である。
図4は、スライドドアが全開位置のときのドア側プロテクタとアームの位置関係を示す平面図である。
【発明を実施するための形態】
【0009】
以下に、本発明に係るスライドドア用給電装置の実施形態を図面に基づいて詳細に説明する。尚、この実施形態によりこの発明が限定されるものではない。
【0010】
[実施形態]
本発明に係るスライドドア用給電装置の実施形態の1つを図1から図4に基づいて説明する。
(【0011】以降は省略されています)
この特許をJ-PlatPat(特許庁公式サイト)で参照する
関連特許
矢崎総業株式会社
端子
1か月前
矢崎総業株式会社
端子
2日前
矢崎総業株式会社
箱状体
26日前
矢崎総業株式会社
箱状体
26日前
矢崎総業株式会社
箱状体
26日前
矢崎総業株式会社
コネクタ
10日前
矢崎総業株式会社
コネクタ
10日前
矢崎総業株式会社
コネクタ
11日前
矢崎総業株式会社
コネクタ
25日前
矢崎総業株式会社
コネクタ
25日前
矢崎総業株式会社
照明装置
1か月前
矢崎総業株式会社
接続構造
26日前
矢崎総業株式会社
コネクタ
3日前
矢崎総業株式会社
照明装置
1か月前
矢崎総業株式会社
照明装置
1か月前
矢崎総業株式会社
照明装置
1か月前
矢崎総業株式会社
報知装置
1か月前
矢崎総業株式会社
バスバー
1か月前
矢崎総業株式会社
電源回路
10日前
矢崎総業株式会社
コネクタ
1か月前
矢崎総業株式会社
コネクタ
2日前
矢崎総業株式会社
コネクタ
2日前
矢崎総業株式会社
給電装置
3日前
矢崎総業株式会社
カバー構造
1か月前
矢崎総業株式会社
バスバー電線
3日前
矢崎総業株式会社
スイッチ装置
23日前
矢崎総業株式会社
車両用室内灯
23日前
矢崎総業株式会社
車両用室内灯
23日前
矢崎総業株式会社
連結コネクタ
10日前
矢崎総業株式会社
画像表示装置
1か月前
矢崎総業株式会社
画像表示装置
1か月前
矢崎総業株式会社
スイッチ装置
23日前
矢崎総業株式会社
スイッチ装置
23日前
矢崎総業株式会社
コネクタ構造
1か月前
矢崎総業株式会社
コネクタ構造
1か月前
矢崎総業株式会社
コネクタ構造
1か月前
続きを見る
他の特許を見る