TOP
|
特許
|
意匠
|
商標
特許ウォッチ
Twitter
他の特許を見る
公開番号
2025174489
公報種別
公開特許公報(A)
公開日
2025-11-28
出願番号
2024080896
出願日
2024-05-17
発明の名称
ツイスト矯正装置及びツイスト矯正方法
出願人
矢崎総業株式会社
代理人
個人
,
個人
,
個人
主分類
H01B
13/00 20060101AFI20251120BHJP(基本的電気素子)
要約
【課題】撚り解しの根本側における負荷を抑制しつつツイスト線の撚り解しを行なうツイスト矯正装置及びツイスト矯正方法を提供する。
【解決手段】ツイスト矯正装置1が、一対の把持部材121に多芯ツイスト線W11を把持させ、撚り解し方向D16について一対の把持部材121に相対的な往復位置ずれ動作を行わせつつ、一対の把持部材121を多芯ツイスト線W11の先端側へと一緒にスライドさせることで撚り解しを行う撚り解し機構12と、一対の把持部材121が露出側端部側に位置しているときには、先端側に位置しているときよりもツイスト把持方向D15の把持力、及び往復位置ずれ動作における動作力と位置ずれ量が小さくなるように動作制御を行う制御部13と、を備えたことを特徴とする。
【選択図】図2
特許請求の範囲
【請求項1】
ツイスト線を、一端側の先端から所定距離だけ離れた撚り解しの根本よりも前記先端から更に離れた位置で保持する電線保持部と、
前記電線保持部で保持された前記ツイスト線を前記根本から前記先端の間で把持する一対の把持部材を有し、当該一対の把持部材に前記ツイスト線を、前記ツイスト線の延出方向と交差するツイスト把持方向に把持させ、前記延出方向及び前記ツイスト把持方向の双方と交差する撚り解し方向について前記一対の把持部材に相対的な往復位置ずれ動作を行わせつつ、前記一対の把持部材を前記根本側から前記先端側へと一緒にスライドさせることで前記ツイスト線の撚り解しを行う撚り解し機構と、
前記撚り解し機構の動作制御を行う部位であって、前記一対の把持部材が前記根本側に位置しているときには、前記先端側に位置しているときよりも前記ツイスト把持方向の把持力、及び前記往復位置ずれ動作における動作力と位置ずれ量が小さくなるように前記動作制御を行う制御部と、
を備えたことを特徴とするツイスト線矯正装置。
続きを表示(約 2,000 文字)
【請求項2】
前記撚り解し機構が、前記一対の把持部材に加えて、
前記一対の把持部材のうちの少なくとも一方を前記ツイスト把持方向に駆動するとともに、その駆動力を変更可能な第1アクチュエータと、
前記一対の把持部材のうちの少なくとも一方を前記撚り解し方向に駆動するとともに、その駆動力及駆動量を変更可能な第2アクチュエータと、
前記一対の把持部材の双方を前記延出方向の前後にまとめて駆動する第3アクチュエータと、を有し、
前記制御部が、前記動作制御として、前記第1アクチュエータ、前記第2アクチュエータ、及び前記第3アクチュエータの制御を行うことを特徴とする請求項1に記載のツイスト線矯正装置。
【請求項3】
前記一対の把持部材は、当該一対の把持部材のうちの第1把持部材のみが第2把持部材に向かって前記ツイスト把持方向に動かされることで前記ツイスト線を把持し、前記第2把持部材のみが前記撚り解し方向に動かされることで前記往復位置ずれ動作を行うことを特徴とする請求項1に記載のツイスト線矯正装置。
【請求項4】
前記制御部は、前記往復位置ずれ動作において前記根本側で行われる初回の位置ずれ動作が、前記ツイスト線のツイスト方向に応じた移動方向へと前記一対の把持部材のうちの少なくとも一方が動かされる動作となるように前記動作制御を行うことを特徴とする請求項1に記載のツイスト線矯正装置。
【請求項5】
前記制御部は、前記ツイスト線の撚り解しに先立って、前記一対の把持部材を所定距離だけ前記先端側へと一緒にスライドさせることで前記ツイスト線に前記延出方向のテンションが付与されるように前記動作制御を行うことを特徴とする請求項1に記載のツイスト線矯正装置。
【請求項6】
前記一対の把持部材それぞれが、相手側を向くとともに滑止めシートが貼付された平坦面を有しており、一対の前記平坦面の相互間に前記ツイスト線を、前記滑止めシートを介して把持することを特徴とする請求項1に記載のツイスト線矯正装置。
【請求項7】
一対の前記平坦面による前記ツイスト線の、前記延出方向についての把持幅が、前記ツイスト線の撚りピッチ以下となっており、
少なくとも一方の前記平坦面の前記滑止めシートが、前記撚り解し方向に、前記把持幅に応じたシート幅で帯状に貼付されていることを特徴とする請求項6に記載のツイスト線矯正装置。
【請求項8】
前記一対の把持部材は、第1把持部材に、前記滑止めシート付きの前記平坦面が、前記撚り解し方向に帯状に延在するように1列だけ設けられ、第2把持部材に、前記滑止めシート付きの前記平坦面が、前記撚り解し方向に帯状に延在するとともに前記延出方向に複数列で配列されて設けられており、
前記撚り解しの際には、前記第1把持部材における前記滑止めシート付きの前記平坦面と、前記第2把持部材における複数列の前記滑止めシート付きの前記平坦面から選択された1本の前記滑止めシート付きの前記平坦面とで前記ツイスト線が把持されることを特徴とする請求項6に記載のツイスト線矯正装置。
【請求項9】
前記一対の把持部材のうちの第1把持部材が、前記撚り解し方向と直交する回転軸回りに回転可能に設けられて周面に環状滑止めシートが貼付されたローラ部材であり、第2把持部材が、滑止めシートが貼付された平坦面を有する部材であって、
前記一対の把持部材は、前記第1把持部材としての前記ローラ部材の前記環状滑止めシート付きの前記周面と前記第2把持部材における前記滑止めシート付きの前記平坦面とで前記ツイスト線を把持し、前記往復位置ずれ動作の際には、前記ローラ部材が前記平坦面の上を前記回転軸回りに回転しながら転動することを特徴とする請求項1に記載のツイスト線矯正装置。
【請求項10】
ツイスト線を、一端側の先端から所定距離だけ離れた撚り解しの根本よりも前記先端から更に離れた位置で保持する電線保持工程と、
前記電線保持工程で保持された前記ツイスト線を一対の把持部材に、前記ツイスト線の延出方向と交差するツイスト把持方向に把持させ、前記延出方向及び前記ツイスト把持方向の双方と交差する撚り解し方向について前記一対の把持部材に相対的な往復位置ずれ動作を行わせつつ、前記一対の把持部材を前記根本側から前記先端側へと一緒にスライドさせることで前記ツイスト線の撚り解しを行う工程であって、前記一対の把持部材が前記根本側に位置しているときには、前記先端側に位置しているときよりも前記ツイスト把持方向の把持力、前記往復位置ずれ動作における動作力と位置ずれ量が小さくなるように前記撚り解しを行う撚り解し工程と、
を備えたことを特徴とするツイスト線矯正方法。
発明の詳細な説明
【技術分野】
【0001】
本発明は、ツイスト線を撚り解すツイスト矯正装置及びツイスト矯正方法に関するものとなっている。
続きを表示(約 2,100 文字)
【背景技術】
【0002】
近年、高速通信ケーブルの需要拡大が見込まれているが、この高速通信ケーブルの多くは、ツイスト線が設けられた構成を有している。ツイスト線に対し、例えば端子接続等といった端末加工を行う際には、ツイスト線の端部についてツイストを矯正して撚り解しを行う必要がある。そして、従来、そのようなツイスト矯正を行う装置が提案されている(例えば、特許文献1参照。)。この特許文献1に記載のツイスト矯正装置は、ツイスト線を、撚り解しの根本側から先端側に掛けてしごくことや、端部を掴んでツイスト方向と逆方向に回すこと等により撚り解しが行われることとなっている。
【先行技術文献】
【特許文献】
【0003】
特開2018-185983号公報
【発明の概要】
【発明が解決しようとする課題】
【0004】
ここで、上述のツイスト矯正装置では、撚り解しの際に、ツイスト線における撚り解しの根本側に負荷が掛かり勝ちとなる。このような根本側における負荷は、過剰となった場合にツイスト線に強度上の負担となることから望ましいものではない。
【0005】
従って、本発明は、上記のような問題に着目し、撚り解しの根本側における負荷を抑制しつつツイスト線の撚り解しを行なうことができるツイスト矯正装置及びツイスト矯正方法を提供することを目的とする。
【課題を解決するための手段】
【0006】
上記課題を解決するために、ツイスト矯正装置は、ツイスト線を、一端側の先端から所定距離だけ離れた撚り解しの根本よりも前記先端から更に離れた位置で保持する電線保持部と、前記電線保持部で保持された前記ツイスト線を前記根本から前記先端の間で把持する一対の把持部材を有し、当該一対の把持部材に前記ツイスト線を、前記ツイスト線の延出方向と交差するツイスト把持方向に把持させ、前記延出方向及び前記ツイスト把持方向の双方と交差する撚り解し方向について前記一対の把持部材に相対的な往復位置ずれ動作を行わせつつ、前記一対の把持部材を前記根本側から前記先端側へと一緒にスライドさせることで前記ツイスト線の撚り解しを行う撚り解し機構と、前記撚り解し機構の動作制御を行う部位であって、前記一対の把持部材が前記根本側に位置しているときには、前記先端側に位置しているときよりも前記ツイスト把持方向の把持力、及び前記往復位置ずれ動作における動作力と位置ずれ量が小さくなるように前記動作制御を行う制御部と、を備えたことを特徴とする。
【0007】
また、上記課題を解決するために、ツイスト矯正方法は、ツイスト線を、一端側の先端から所定距離だけ離れた撚り解しの根本よりも前記先端から更に離れた位置で保持する電線保持工程と、前記電線保持部で保持された前記ツイスト線を一対の把持部材に、前記ツイスト線の延出方向と交差するツイスト把持方向に把持させ、前記延出方向及び前記ツイスト把持方向の双方と交差する撚り解し方向について前記一対の把持部材に相対的な往復位置ずれ動作を行わせつつ、前記一対の把持部材を前記根本側から前記先端側へと一緒にスライドさせることで前記ツイスト線の撚り解しを行う工程であって、前記一対の把持部材が前記根本側に位置しているときには、前記先端側に位置しているときよりも前記ツイスト把持方向の把持力、前記往復位置ずれ動作における動作力と位置ずれ量が小さくなるように前記撚り解しを行う撚り解し工程と、を備えたことを特徴とする。
【発明の効果】
【0008】
上述のツイスト矯正装置及びツイスト矯正方法によれば、撚り解しの根本側における負荷を抑制しつつツイスト線の撚り解しを行なうことができる。
【図面の簡単な説明】
【0009】
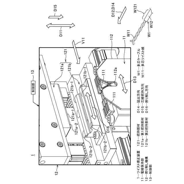
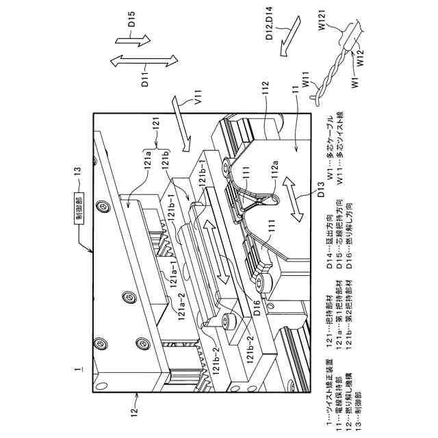
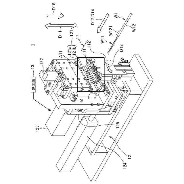
第1実施形態に係るツイスト矯正装置を示す斜視図である。
図1に示されている領域A11の拡大図である。
図2に示されている一対の把持部材を、把持対象の多芯ツイスト線とともに、図2中の矢印V11方向から見て示した側面図である。
図1~図3に示されているツイスト線矯正装置で実行されるツイスト線矯正方法の処理の流れのうちステップS1~ステップS4について示した図である。
図5は、図1~図3に示されているツイスト線矯正装置で実行されるツイスト線矯正方法の処理の流れのうちステップS5~ステップS8について示した図である。
図1~図3に示されているツイスト線矯正装置で実行されるツイスト線矯正方法の処理の流れのうちステップS9~ステップS10について示した図である。
第2実施形態に係るツイスト矯正装置を、第1実施形態との相違点である多芯ツイスト線の把持構成について示した斜視図である。
【発明を実施するための形態】
【0010】
以下、ツイスト矯正装置及びツイスト矯正方法の一実施形態について説明する。まず、第1実施形態について説明する。
(【0011】以降は省略されています)
この特許をJ-PlatPat(特許庁公式サイト)で参照する
関連特許
矢崎総業株式会社
端子
1か月前
矢崎総業株式会社
端子
今日
矢崎総業株式会社
箱状体
1か月前
矢崎総業株式会社
箱状体
24日前
矢崎総業株式会社
箱状体
1か月前
矢崎総業株式会社
箱状体
24日前
矢崎総業株式会社
箱状体
24日前
矢崎総業株式会社
コネクタ
23日前
矢崎総業株式会社
照明装置
1か月前
矢崎総業株式会社
コネクタ
23日前
矢崎総業株式会社
コネクタ
2か月前
矢崎総業株式会社
接続構造
24日前
矢崎総業株式会社
コネクタ
1か月前
矢崎総業株式会社
コネクタ
1か月前
矢崎総業株式会社
照明装置
1か月前
矢崎総業株式会社
コネクタ
9日前
矢崎総業株式会社
照明装置
1か月前
矢崎総業株式会社
止水部材
1か月前
矢崎総業株式会社
コネクタ
8日前
矢崎総業株式会社
照明装置
1か月前
矢崎総業株式会社
照明構造
1か月前
矢崎総業株式会社
報知装置
1か月前
矢崎総業株式会社
コネクタ
1か月前
矢崎総業株式会社
コネクタ
1か月前
矢崎総業株式会社
コネクタ
1か月前
矢崎総業株式会社
コネクタ
1か月前
矢崎総業株式会社
バスバー
1か月前
矢崎総業株式会社
コネクタ
1か月前
矢崎総業株式会社
コネクタ
1か月前
矢崎総業株式会社
コネクタ
1か月前
矢崎総業株式会社
コネクタ
1か月前
矢崎総業株式会社
コネクタ
1か月前
矢崎総業株式会社
コネクタ
1か月前
矢崎総業株式会社
コネクタ
2か月前
矢崎総業株式会社
コネクタ
2か月前
矢崎総業株式会社
給電装置
1日前
続きを見る
他の特許を見る