TOP
|
特許
|
意匠
|
商標
特許ウォッチ
Twitter
他の特許を見る
公開番号
2025181218
公報種別
公開特許公報(A)
公開日
2025-12-11
出願番号
2024089066
出願日
2024-05-31
発明の名称
水栓装置
出願人
TOTO株式会社
代理人
弁理士法人酒井国際特許事務所
主分類
E03C
1/044 20060101AFI20251204BHJP(上水;下水)
要約
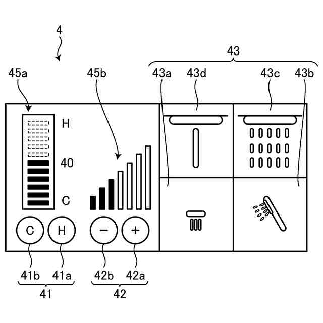
【課題】使用者による湯水の設定温度の操作性を向上させること。
【解決手段】実施形態に係る水栓装置は、浴室内に向けて吐水する吐水部と、吐水部に供給する湯水を混合する湯水混合部と、湯水混合部のアクチュエータの動作を制御する制御装置と、使用者による湯水の設定温度の操作を受け付け、設定温度の操作に応じた操作信号を制御装置に送信する操作部とを備える。操作部は、設定温度を表示する表示部を備える。制御装置は、基準使用温度域を起点に、高温側の高温設定温度域の設定温度を、低温側の低温設定温度域の設定温度よりも密にする。
【選択図】図3
特許請求の範囲
【請求項1】
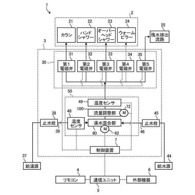
浴室内に向けて吐水する吐水部と、
前記吐水部に供給する湯水を混合する湯水混合部と、
前記湯水混合部のアクチュエータの動作を制御する制御装置と、
使用者による湯水の設定温度の操作を受け付け、前記設定温度の操作に応じた操作信号を前記制御装置に送信する操作部と
を備え、
前記操作部は、前記設定温度を表示する表示部
を備え、
前記制御装置は、基準使用温度域を起点に、高温側の高温設定温度域の設定温度を、低温側の低温設定温度域の設定温度よりも密にする、水栓装置。
続きを表示(約 900 文字)
【請求項2】
前記表示部は、前記設定温度をレベル表示する、請求項1に記載の水栓装置。
【請求項3】
前記表示部は、使用者による1回の前記設定温度の操作に対し、1段階のレベルを変更する、請求項2に記載の水栓装置。
【請求項4】
前記基準使用温度域と、前記高温設定温度域とにおける温度間隔は、同一であり、
前記低温設定温度域における温度間隔は、前記基準使用温度域、および、前記高温設定温度域における温度間隔よりも大きい、請求項1に記載の水栓装置。
【請求項5】
前記高温設定温度域における温度間隔は、前記基準使用温度域における温度間隔よりも小さく、
前記低温設定温度域における温度間隔は、前記基準使用温度域における温度間隔よりも大きい、請求項1に記載の水栓装置。
【請求項6】
前記湯水混合部は、
水流入口、湯流入口、および、混合湯水流出口が形成される本体ケーシングと、
混合された湯水の温度に応じて変化し、前記湯流入口、および、前記水流入口の開度を調整可能とする感温付勢部と、
前記本体ケーシング内に、前記本体ケーシングの軸線方向に沿って摺動自在に設けられ、前記湯流入口、および、前記水流入口の開度を調整可能な弁体と
を備える、請求項1に記載の水栓装置。
【請求項7】
前記基準使用温度域は、39℃以上、かつ、41℃以下であり、
前記高温設定温度域は、41℃よりも高く、かつ、45℃以下であり、
前記低温設定温度域は、35℃以上、かつ、39℃未満である、請求項1に記載の水栓装置。
【請求項8】
湯水の設定可能な温度は、35℃と水設定との間に1段階の温度を有する、請求項7に記載の水栓装置。
【請求項9】
前記基準使用温度域の中間温度のレベルは、前記レベル表示の中央のレベルであり、
前記レベル表示は、前記中間温度のレベルに対して、高温側、および、低温側に均等に割り振られる、請求項2に記載の水栓装置。
発明の詳細な説明
【技術分野】
【0001】
開示の実施形態は、水栓装置に関する。
続きを表示(約 1,300 文字)
【背景技術】
【0002】
従来、湯水の設定温度域において、使用温度域の温度分解能を密にし、使用温度域外の温度分解能を粗にする湯水混合装置が知られている(たとえば、特許文献1参照)。
【先行技術文献】
【特許文献】
【0003】
特許第2633589号
【発明の概要】
【発明が解決しようとする課題】
【0004】
従来の技術では、使用温度域は、使用温度域外よりも、目標温度に対する制御分解能が高くなる。しかしながら、従来の技術では、使用者による湯水の設定温度の変更操作については考慮されておらず、湯水の設定温度を変更する際の使用者の操作性について、改善の余地がある。
【0005】
実施形態の一態様は、使用者による湯水の設定温度の操作性を向上させる水栓装置を提供することを目的とする。
【課題を解決するための手段】
【0006】
実施形態の一態様に係る水栓装置は、浴室内に向けて吐水する吐水部と、吐水部に供給する湯水を混合する湯水混合部と、湯水混合部のアクチュエータの動作を制御する制御装置と、使用者による湯水の設定温度の操作を受け付け、設定温度の操作に応じた操作信号を制御装置に送信する操作部とを備える。操作部は、設定温度を表示する表示部を備える。制御装置は、基準使用温度域を起点に、高温側の高温設定温度域の設定温度を、低温側の低温設定温度域の設定温度よりも密にする。
【0007】
これにより、使用者は、低温設定温度域で湯水の温度を変更する場合、少ない操作によって湯水の温度を素早く変更することができる。また、使用者は、基準使用温度域、および、高温設定温度域で湯水の温度を変更する場合、湯水の温度を詳細に変更することができる。すなわち、使用者は、基準使用温度域、および、高温設定温度域で湯水の温度を変更する場合、使用者が好む湯水の温度に調整することができる。このように、水栓装置は、使用者による湯水の設定温度の操作性を向上させることができる。
【0008】
また、表示部は、設定温度をレベル表示する。
【0009】
これにより、使用者は、湯水に対する自己の温度感覚に基づいて相対的な温度設定を行うことができる。たとえば、設定温度が数字(たとえば、摂氏)で表示され、吐水部から吐水される湯水に対して、使用者の温度感覚に差がある場合、使用者に違和感を与えるおそれがある。水栓装置は、設定温度を、表示部にレベル表示することで、吐水部から吐水される湯水の温度に対する違和感を使用者に与えることを抑制することができる。また、使用者は、吐水部から吐水される湯水に対して、自己の温度感覚に基づいて操作部を操作して、レベル表示を変更し湯水の温度を調整することができる。そのため、水栓装置は、湯水の温度調整に対する操作性を向上させることができる。
【0010】
また、表示部は、使用者による1回の設定温度の操作に対し、1段階のレベルを変更する。
(【0011】以降は省略されています)
この特許をJ-PlatPat(特許庁公式サイト)で参照する
関連特許
他の特許を見る