TOP
|
特許
|
意匠
|
商標
特許ウォッチ
Twitter
他の特許を見る
公開番号
2025172177
公報種別
公開特許公報(A)
公開日
2025-11-20
出願番号
2025154256,2024029027
出願日
2025-09-17,2024-02-28
発明の名称
静電チャック
出願人
TOTO株式会社
代理人
個人
,
個人
,
個人
主分類
H01L
21/683 20060101AFI20251113BHJP(基本的電気素子)
要約
【課題】処理中における基板の面内温度分布のばらつきを抑制することのできる静電チャック、を提供する。
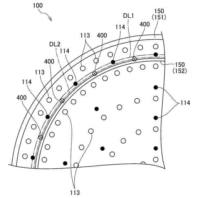
【解決手段】静電チャック10は、誘電体基板100と、誘電体基板100の内部に設けられたRF電極140と、金属により形成され、誘電体基板100に接合されたたベースプレート200と、RF電極140とベースプレート200との間を電気的に接続する複数の接続部材400と、を備える。上面視において、誘電体基板100には複数のガス穴114が形成されており、接続部材400とガス穴114とが、周方向において交互に並ぶように配置されている。
【選択図】図2
特許請求の範囲
【請求項1】
被吸着物が載置される載置面を有する誘電体基板と、
前記誘電体基板の内部に設けられたRF電極と、
金属により形成され、前記誘電体基板に接合されたベースプレートと、
前記RF電極と前記ベースプレートとの間を電気的に接続する複数の接続部材と、を備え、
前記載置面に対し垂直な方向から見た場合において、
前記誘電体基板には複数のガス穴が形成されており、
前記接続部材と前記ガス穴とが、周方向において交互に並ぶように配置されていることを特徴とする静電チャック。
続きを表示(約 100 文字)
【請求項2】
前記載置面に対し垂直な方向から見た場合において、
前記接続部材と前記ガス穴とが、環状に且つ一列に並ぶように配置されていることを特徴とする、請求項1に記載の静電チャック。
発明の詳細な説明
【技術分野】
【0001】
本発明は静電チャックに関する。
続きを表示(約 1,600 文字)
【背景技術】
【0002】
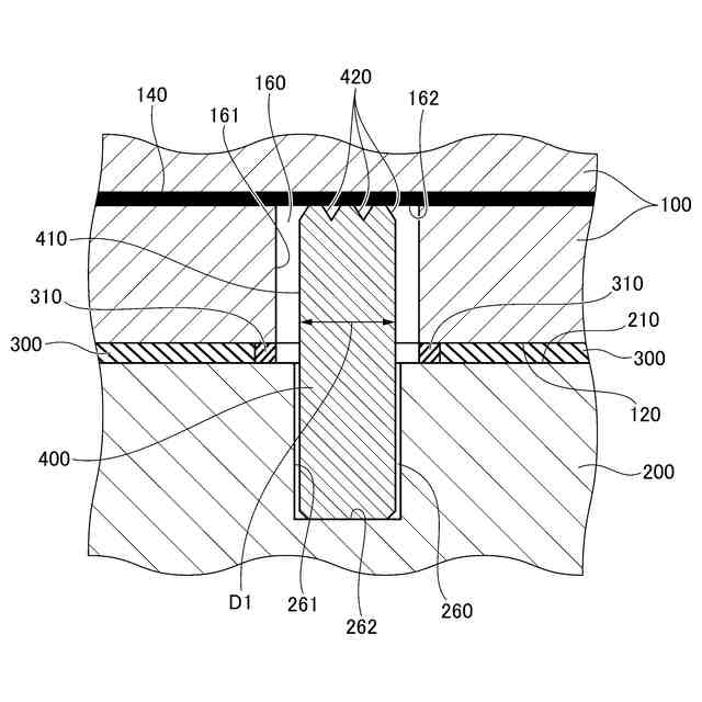
例えばエッチング装置等の半導体製造装置には、処理の対象となるシリコンウェハ等の基板を吸着し保持するための装置として、静電チャックが設けられる。静電チャックは、吸着電極が設けられた誘電体基板と、誘電体基板を支持するベースプレートと、を備え、これらが互いに接合された構成を有する。吸着電極に電圧が印加されると静電力が生じ、誘電体基板上に載置された基板が吸着され保持される。
【0003】
下記特許文献1に記載されているように、誘電体基板には、半導体製造装置においてプラズマを発生させるための一対の対向電極のうちの1つ、であるRF電極が内蔵されることもある。この場合、RF電極とベースプレートとの間は、導電性を有する接続部材を介して電気的に接続される。これにより、基板の処理中におけるRF電極の電位は、ベースプレートの電位(例えば接地電位)に保たれる。
【先行技術文献】
【特許文献】
【0004】
国際公開第2022/255118号
【発明の概要】
【発明が解決しようとする課題】
【0005】
上記の接続部材とRF電極との間を電気的に接続するためには、例えば、誘電体基板のうちベースプレート側の面に凹部を形成し、その底面においてRF電極を露出させた上で、凹部の内側に接続部材を収容すればよい。当該接続部材を介してRF電極とベースプレートとの間を電気的に接続するためには、例えば、ベースプレートのうち誘電体基板側の面にも凹部を形成し、当該凹部の内側に接続部材を収容すればよい。接続部材は、誘電体基板とベースプレートとの間に挟み込まれた状態となる。
【0006】
ところで、半導体製造装置で基板の処理が行われているときには、RF電極に対する交流電圧の印可に伴って、接続部材ではジュール熱が生じる。接続部材の発熱量によっては、誘電体基板のうち接続部材の直上の部分が、接続部材からの熱によって局所的に加熱され過ぎてしまう可能性がある。
【0007】
このように、接続部材は、誘電体基板や被吸着物に対する加熱源となり得る。従って、接続部材の位置によっては、処理中における基板の面内温度分布のばらつきが大きくなり過ぎてしまう可能性がある。
【0008】
本発明はこのような課題に鑑みてなされたものであり、その目的は、処理中における基板の面内温度分布のばらつきを抑制することのできる静電チャック、を提供することにある。
【課題を解決するための手段】
【0009】
上記課題を解決するために、本発明に係る静電チャックは、被吸着物が載置される載置面を有する誘電体基板と、誘電体基板の内部に設けられたRF電極と、金属により形成され、誘電体基板に接合されたベースプレートと、RF電極とベースプレートとの間を電気的に接続する複数の接続部材と、を備える。載置面に対し垂直な方向から見た場合において、誘電体基板には複数のガス穴が形成されており、接続部材とガス穴とが、周方向において交互に並ぶように配置されている。
【0010】
ガス穴は、被吸着物と誘電体基板との間に、温度調整用の不活性ガス(例えばヘリウムガス)を供給するためのものである。このため、ガス穴は、処理中の被吸着物に対する冷却源となり得る。上記構成の静電チャックでは、加熱源となり得る接続部材と、冷却源となり得るガス穴とが、周方向において交互に並ぶように配置されている。その結果、両者間の距離が小さくなっており、局所的な温度上昇が生じにくくなっているので、処理中における被吸着物の面内温度分布のばらつきを抑制することができる。
【発明の効果】
(【0011】以降は省略されています)
この特許をJ-PlatPat(特許庁公式サイト)で参照する
関連特許
TOTO株式会社
浴室
2か月前
TOTO株式会社
浴室
2か月前
TOTO株式会社
洗面器
1か月前
TOTO株式会社
洗面器
1か月前
TOTO株式会社
構造部材
1か月前
TOTO株式会社
構造部材
1か月前
TOTO株式会社
構造部材
1か月前
TOTO株式会社
構造部材
1か月前
TOTO株式会社
吐水装置
1か月前
TOTO株式会社
吐水装置
1か月前
TOTO株式会社
水栓装置
2か月前
TOTO株式会社
水栓装置
2か月前
TOTO株式会社
水栓装置
2か月前
TOTO株式会社
水栓装置
2か月前
TOTO株式会社
水栓装置
2か月前
TOTO株式会社
水栓装置
2か月前
TOTO株式会社
水栓装置
2日前
TOTO株式会社
水栓装置
2か月前
TOTO株式会社
水栓装置
2か月前
TOTO株式会社
水栓装置
2か月前
TOTO株式会社
複合材料
2か月前
TOTO株式会社
吐水装置
1か月前
TOTO株式会社
便器装置
2か月前
TOTO株式会社
トイレ装置
1か月前
TOTO株式会社
トイレ装置
1か月前
TOTO株式会社
水洗大便器
2か月前
TOTO株式会社
水洗大便器
1か月前
TOTO株式会社
水洗大便器
1か月前
TOTO株式会社
水洗大便器
1か月前
TOTO株式会社
水洗大便器
2か月前
TOTO株式会社
水洗大便器
1か月前
TOTO株式会社
静電チャック
1か月前
TOTO株式会社
浴室システム
2か月前
TOTO株式会社
浴室システム
1か月前
TOTO株式会社
静電チャック
1か月前
TOTO株式会社
静電チャック
1か月前
続きを見る
他の特許を見る