TOP
|
特許
|
意匠
|
商標
特許ウォッチ
Twitter
他の特許を見る
公開番号
2025171588
公報種別
公開特許公報(A)
公開日
2025-11-20
出願番号
2024077083
出願日
2024-05-10
発明の名称
マット調表面及び防汚性表面を備えた水洗大便器
出願人
TOTO株式会社
代理人
個人
,
個人
,
個人
,
個人
主分類
E03D
11/02 20060101AFI20251113BHJP(上水;下水)
要約
【課題】 マット調表面及び防汚性表面を備えた水洗大便器であって、外観が良好で、かつ汚れ難い大便器の提供の提供。
【解決手段】
水洗大便器においてマット調の表面と防汚性の釉薬層を形成する際に、その境界位置を、見た目に加えて、その機能に着目して設定することで、大便器に付加価値を付す。使用者後方の防汚性釉薬層とマット調釉薬層との境界を下方に設けることで、便器のマット調の外観に影響を与えず、使用者が立って小便するときの小便駆け上がりが効率的に抑制され、汚れ難い便器となる。
【選択図】 図5
特許請求の範囲
【請求項1】
陶器素地と、表面に釉薬層を備える水洗大便器であって、
前記水洗大便器が、
-汚物を受けるボウル形状の汚物受け面と、
-前記汚物受け面の上縁部において上方へ延びているリム部と
を有するボウル部を備えてなり、
前記釉薬層が防汚性釉薬層とマット調釉薬層とを備え、該防汚性釉薬層と該マット調釉薬層とは接して境界を形成して設けられており、
前記防汚性釉薬層が、少なくとも前記汚物受け面および前記リム部に設けられ、
前記マット調の釉薬層が、少なくとも前記リム部に設けられてなる、水洗大便器において、
使用者が当該水洗大便器に座った時、使用者の前面となる方向を前方、背面となる方向を後方としたとき、
前記リム部における前記防汚性釉薬層と前記マット調釉薬層とが、前記リム部の最も前方となる位置における前記リム部上端から両者の前記境界までの距離が、前記リム部の最も後方となる位置における前記リム部上端から両者の前記境界までの距離よりも、小となるように形成されてなる
ことを特徴とする、水洗大便器。
続きを表示(約 1,400 文字)
【請求項2】
陶器素地と、表面に釉薬層を備える水洗大便器であって、
前記水洗大便器が、
-汚物を受けるボウル形状の汚物受け面と、
-前記汚物受け面の上縁部において上方へ延びているリム部と
を有するボウル部を備えてなり、
前記釉薬層が防汚性釉薬層とマット調釉薬層とを備え、該防汚性釉薬層と該マット調釉薬層とは接して境界を形成して設けられており、
前記防汚性釉薬層が、少なくとも前記汚物受け面および前記リム部に設けられ、
前記マット調の釉薬層が、少なくとも前記リム部に設けられてなる、水洗大便器において、
使用者が当該水洗大便器に座った時、使用者の前面となる方向を前方、背面となる方向を後方とし、かつ当該水洗大便器が設置された場所の平面を基準に高低を定めるとしたとき、
前記リム部における前記防汚性釉薬層と前記マット調釉薬層とが、最も後方となる位置における両者の前記境界が、最も前方となる位置における両者の前記境界よりも低くなるように形成されてなる
ことを特徴とする、水洗大便器。
【請求項3】
陶器素地と、表面に釉薬層を備える水洗大便器であって、
前記水洗大便器が、
-汚物を受けるボウル形状の汚物受け面と、
-前記汚物受け面の上縁部において上方へ延びているリム部と
を有するボウル部を備えてなり、
前記釉薬層が防汚性釉薬層とマット調釉薬層とを備え、該防汚性釉薬層と該マット調釉薬層とは接して境界を形成して設けられており、
前記防汚性釉薬層が、少なくとも前記汚物受け面および前記リム部に設けられ、
前記マット調の釉薬層が、少なくとも前記リム部に設けられてなる、水洗大便器において、
使用者が当該水洗大便器に座った時、使用者の前面となる方向を前方、背面となる方向を後方としたとき、
前記リム部の少なくとも後方端部において、前記リム部の上縁部に、前記ボウル部内側に向かって突出するオーバハング部を備えてなり、前記境界の最も後方となる位置が、最も前方となる位置よりも、ボウル部内側の中心側に設けられている
ことを特徴とする、水洗大便器。
【請求項4】
前記境界が、その高さが略一定となる部分を含む、請求項2又は3に記載の水洗大便器。
【請求項5】
後方の領域において、前記境界の高さが変化する、請求項2又は3に記載の水洗大便器。
【請求項6】
前記リム部における前記防汚性釉薬層の領域の面積が、前記マット調釉薬層の領域の面積に対して大である、請求項2又は3に記載の水洗大便器。
【請求項7】
前記リム部の前方端部および後方端部において、前記リム部の上縁部に、前記ボウル部内側に向かって突出するオーバハング部を備えてなり、前記境界の最も後方となる位置が、最も前方となる位置よりも、ボウル部内側の中心側に設けられている、請求項2に記載の水洗大便器。
【請求項8】
当該水洗大便器が設置された場所の平面を基準に高低を定めるとしたとき、
前記リム部における前記防汚性釉薬層と前記マット調釉薬層とが、最も後方となる位置における両者の前記境界が、最も前方となる位置における両者の前記境界よりも低くなるように形成されてなる、請求項3に記載の水洗大便器。
発明の詳細な説明
【技術分野】
【0001】
本発明は、マット調表面及び防汚性表面を備えた水洗大便器に関する。
続きを表示(約 2,900 文字)
【背景技術】
【0002】
衛生陶器の外観は、一般的には、艶のある光沢調とされ、高級感や清潔感を想起させる質感とされている。これに対して、光沢調とは反対に艶のないマット調の衛生陶器が市場において評価されている。マット調とすることで、製品の外観(意匠性)を高め、また、同じ空間にある壁や器具類の質感と調和させることが可能となり、デザインのバリエーションを広げることが出来るからである。
【0003】
衛生陶器の一つである水洗大便器にあっては、外観はマット調の表面としても、汚物を
受けるボウル形状の領域は防汚性の釉薬層を形成する(特開2012-046364号公報(特許文献1))。そのため、マット調の釉薬表面と防汚性の釉薬表面の境界が生じる。この境界が大便器の外観、デザインを損ねないようにする提案もなされている(特開2023-034495号公報(特許文献3)。
【先行技術文献】
【特許文献】
【0004】
特開2012-046364号公報
特開2022-062798号公報
特開2023-034495号公報
【発明の概要】
【発明が解決しようとする課題】
【0005】
本発明者らは、今般、水洗大便器においてマット調の表面と防汚性の釉薬層を形成する際に、その境界位置を、見た目に加えて、その機能に着目して設定することで、大便器に付加価値を付すことができるとの知見を得た。具体的には、外観が良好で、かつ汚れ難い大便器が実現できた。本発明はかかる知見に基づくものである。
【0006】
したがって、本発明は、マット調表面及び防汚性表面を備えた水洗大便器であって、外観が良好で、かつ汚れ難い大便器の提供をその目的としている。
【課題を解決するための手段】
【0007】
本発明による水洗大便器は、
陶器素地と、表面に釉薬層を備える水洗大便器であって、
前記水洗大便器が、
-汚物を受けるボウル形状の汚物受け面と、
-前記汚物受け面の上縁部において上方へ延びているリム部と
を有するボウル部を備えてなり、
前記釉薬層が防汚性釉薬層とマット調釉薬層とを備え、該防汚性釉薬層と該マット調釉薬層とは接して境界を形成して設けられており、
前記防汚性釉薬層が、少なくとも前記汚物受け面および前記リム部に設けられ、
前記マット調の釉薬層が、少なくとも前記リム部に設けられてなる、水洗大便器において、
使用者が当該水洗大便器に座った時、使用者の前面となる方向を前方、背面となる方向を後方としたとき、
前記リム部における前記防汚性釉薬層と前記マット調釉薬層とが、前記リム部の最も前方となる位置における前記リム部上端から両者の前記境界までの距離が、前記リム部の最も後方となる位置における前記リム部上端から両者の前記境界までの距離よりも、小となるように形成されてなる
ことを特徴とするものである。
【0008】
さらに、本発明の一つの態様による水洗大便器は、
陶器素地と、表面に釉薬層を備える水洗大便器であって、
前記水洗大便器が、
-汚物を受けるボウル形状の汚物受け面と、
-前記汚物受け面の上縁部において上方へ延びているリム部と
を有するボウル部を備えてなり、
前記釉薬層が防汚性釉薬層とマット調釉薬層とを備え、該防汚性釉薬層と該マット調釉薬層とは接して境界を形成して設けられており、
前記防汚性釉薬層が、少なくとも前記汚物受け面および前記リム部に設けられ、
前記マット調の釉薬層が、少なくとも前記リム部に設けられてなる、水洗大便器において、
使用者が当該水洗大便器に座った時、使用者の前面となる方向を前方、背面となる方向を後方とし、かつ当該水洗大便器が設置された場所における平面を基準に高低を定めるとしたとき、
前記リム部における前記防汚性釉薬層と前記マット調釉薬層とが、最も後方となる位置における両者の前記境界が、最も前方となる位置における両者の前記境界よりも低くなるように形成されてなる
ことを特徴とするものである。
【0009】
また、本発明の別の態様による水洗大便器は、
陶器素地と、表面に釉薬層を備える水洗大便器であって、
前記水洗大便器が、
-汚物を受けるボウル形状の汚物受け面と、
-前記汚物受け面の上縁部において上方へ延びているリム部と
を有するボウル部を備えてなり、
前記釉薬層が防汚性釉薬層とマット調釉薬層とを備え、該防汚性釉薬層と該マット調釉薬層とは接して境界を形成して設けられており、
前記防汚性釉薬層が、少なくとも前記汚物受け面および前記リム部に設けられ、
前記マット調の釉薬層が、少なくとも前記リム部に設けられてなる、水洗大便器において、
使用者が当該水洗大便器に座った時、使用者の前面となる方向を前方、背面となる方向を後方としたとき、
前記リム部の少なくとも後方端部において、前記リム部の上縁部に、前記ボウル部内側に向かって突出するオーバハング部を備えてなり、前記境界の最も後方となる位置が、最も前方となる位置よりも、ボウル部内側の中心側に設けられている
ことを特徴とするものである。
【図面の簡単な説明】
【0010】
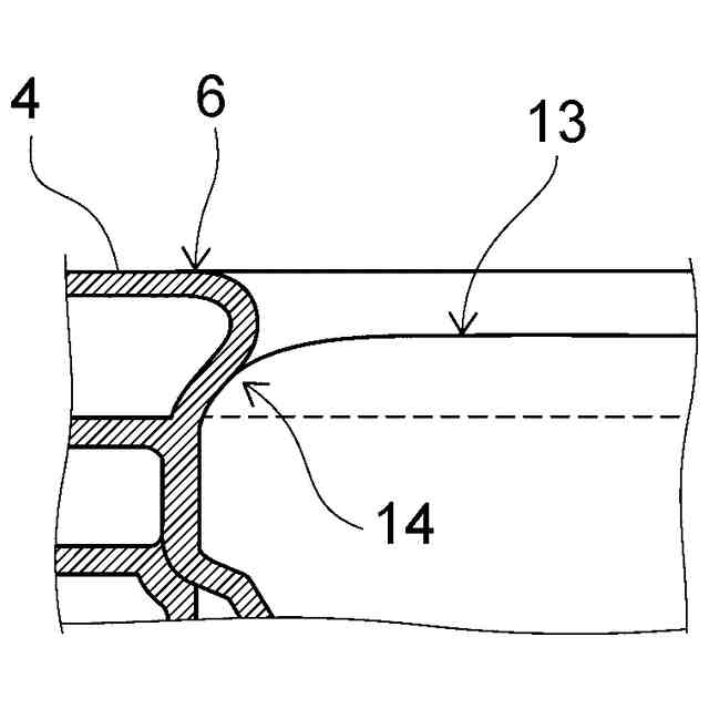
本発明による水洗大便器1の断面模式図であり、水洗大便器1は、ボウル部2を備え、このボウル部2は、汚物を受けるボウル形状の汚物受け面3と、この汚物受け面の上縁部において上方へ延びているリム部4を有している。
本発明による水洗大便器1が、ボウル部の下部5と、リム部を含むボウル部の上部6とを焼成前素地の段階で接いで製造されることを説明する図である。実施例2の釉薬表面のSEM画像である。
本発明による、防汚性の釉薬層とマット調釉薬層とを設けた水洗大便器の概念図であり、破線11で示す表面にマット調釉薬層を付し、汚物受け面12に点線12で示す防汚性釉薬層を設ける。
本発明における、防汚性の釉薬層とマット調釉薬層の境界位置を説明する図である。
リム部4において、線13を境界にして、破線11で示すマット調釉薬層が設けられ、汚物受け面12側に点線12で示す防汚性釉薬層を設けられることを示す図である。
最も後方となる位置14の拡大図である。
最も前方となる位置15の拡大図である。
線13の最も後方となる位置14と、最も前方となる位置15の位置関係を説明する図である。
【発明を実施するための形態】
(【0011】以降は省略されています)
この特許をJ-PlatPat(特許庁公式サイト)で参照する
関連特許
TOTO株式会社
洗面器
1か月前
TOTO株式会社
洗面器
1か月前
TOTO株式会社
吐水装置
1か月前
TOTO株式会社
水栓装置
2か月前
TOTO株式会社
構造部材
1か月前
TOTO株式会社
構造部材
1か月前
TOTO株式会社
水栓装置
2か月前
TOTO株式会社
水栓装置
2か月前
TOTO株式会社
水栓装置
2か月前
TOTO株式会社
複合材料
2か月前
TOTO株式会社
構造部材
1か月前
TOTO株式会社
構造部材
1か月前
TOTO株式会社
吐水装置
1か月前
TOTO株式会社
水栓装置
2日前
TOTO株式会社
吐水装置
1か月前
TOTO株式会社
水栓装置
2か月前
TOTO株式会社
水栓装置
2か月前
TOTO株式会社
水栓装置
2か月前
TOTO株式会社
水栓装置
2か月前
TOTO株式会社
水栓装置
2か月前
TOTO株式会社
トイレ装置
1か月前
TOTO株式会社
トイレ装置
1か月前
TOTO株式会社
水洗大便器
1か月前
TOTO株式会社
水洗大便器
1か月前
TOTO株式会社
水洗大便器
1か月前
TOTO株式会社
水洗大便器
1か月前
TOTO株式会社
浴室システム
1か月前
TOTO株式会社
静電チャック
1か月前
TOTO株式会社
水まわり部材
1か月前
TOTO株式会社
静電チャック
1か月前
TOTO株式会社
静電チャック
1か月前
TOTO株式会社
浴室システム
17日前
TOTO株式会社
浴室システム
17日前
TOTO株式会社
排水システム
1か月前
TOTO株式会社
排水システム
1か月前
TOTO株式会社
浴室システム
24日前
続きを見る
他の特許を見る