TOP
|
特許
|
意匠
|
商標
特許ウォッチ
Twitter
他の特許を見る
公開番号
2025170556
公報種別
公開特許公報(A)
公開日
2025-11-19
出願番号
2024075227
出願日
2024-05-07
発明の名称
排水配管部材
出願人
丸一株式会社
代理人
主分類
E03C
1/30 20060101AFI20251112BHJP(上水;下水)
要約
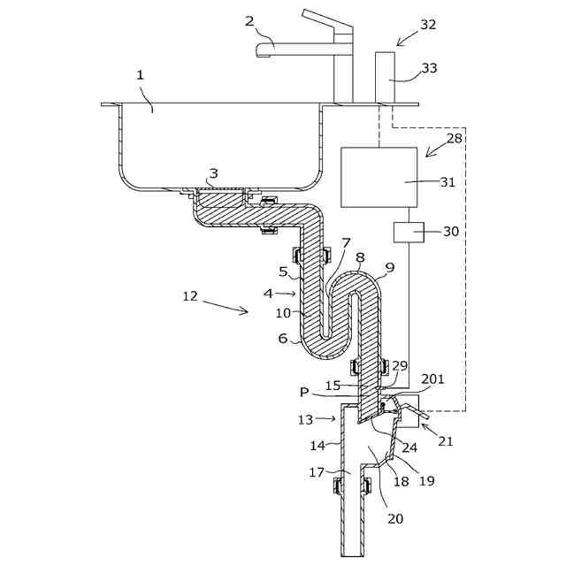
【課題】排水トラップの貯留部及び配管を洗浄すること、且つ付着した汚れを洗浄可能な排水配管部材を提供すること。
【解決手段】排水配管部材12は、槽体1から連続する排水トラップ4の下流側に接続される。排水配管部材12は排水トラップ4の貯留部10よりも下流側の流路を開閉するバルブ13と、洗浄水を吐水する洗浄ノズル29と、を備えている。バルブ13は、貯留部10からの配管に接続される流入口15と下流側の配管に接続される排出口17とを有し、内部に流路Pを形成するバルブ本体14と、流路Pの開閉時に回動する弁部27と弁部27を回動させる機構部21とを有している。弁部27と機構部21とはバルブ本体14の内部において、流路Pの外側に配置される。
【選択図】図1
特許請求の範囲
【請求項1】
封水を貯留する貯留部を有する排水トラップを洗浄する排水配管部材であって、
前記貯留部よりも下流側の流路を開閉するバルブと、
洗浄水を吐水する洗浄ノズルと、を備え、
前記バルブは、前記貯留部からの配管に接続される流入口と下流側の配管に接続される排出口とを有する内部に流路を形成するバルブ本体と、前記流路の開閉時に回動する弁部と前記弁部を回動させる機構部とを有し、
前記弁部と、前記機構部と、を前記バルブ本体の内部に設け、
前記機構部は、前記流路の外側に配置されることを特徴とする排水配管部材。
続きを表示(約 450 文字)
【請求項2】
前記洗浄ノズルは、
前記バルブ本体に接続されることを特徴とする請求項1に記載の排水配管部材。
【請求項3】
封水を貯留する貯留部を有する排水トラップを洗浄する排水配管部材であって、
前記貯留部よりも下流側の流路を開閉するバルブと、
洗浄水を吐出する洗浄ノズルと、を備え、
前記バルブは、前記貯留部からの配管に接続される流入口と、下流側の配管に接続される排出口とを有する内部に流路を形成するバルブ本体と、前記流路を閉塞する弁部とを有し、
前記弁部を前記バルブ本体の内部に設け、
前記洗浄ノズルは前記バルブ本体に接続されることを特徴とする排水配管部材。
【請求項4】
前記機構部は、電気信号に基づいて動作し、
前記流路を閉塞することで前記排水トラップ内に洗浄水を浸漬するとともに、配管洗浄後に前記流路を開口し、洗浄水を下流側の配管へと排出することを特徴とする請求項1又は請求項2に記載の排水配管部材。
発明の詳細な説明
【技術分野】
【0001】
本発明は、槽体からの流路に取り付けられる排水配管部材に関するものであって、更に詳しくは排水トラップの配管内に洗浄水を浸漬することで、配管を洗浄する排水配管部材に関するものである。
続きを表示(約 1,500 文字)
【背景技術】
【0002】
洗面台や流し台、浴槽等、排水機器には使用した排水を下水側に処理するため、配管を組み合わせた排水配管が備えられる。これら排水配管は、漏水を防止するため部材同士の接続箇所は水密且つ気密的に接続されると共に、下水側から臭気が屋内側に逆流することを防止する。そのため、排水トラップと呼ばれる、貯留部に封水を貯留することで下流側からの臭気や害虫の逆流を不可能にする構成を備えている。
【0003】
上記のように、排水配管は常時水密且つ気密的に接続されているため、清掃が困難である。また、槽体から排出される汚れが配管中に蓄積された場合に、当該汚れを洗浄するための装置として、高圧水による洗浄装置等が知られている。特に、上記排水トラップは内部に封水を貯留することから、特に汚れが蓄積されやすい。
【0004】
特許文献1には排水トラップの洗浄を行う洗浄ノズルを備えた排水配管部材が記載されている。該洗浄ノズルは給水源である水道管に連結して排水トラップの貯留部内に向け、洗浄水を噴出する構造となっている。この排水配管部材は付属物を全く取外すことなく貯留部内に水を勢いよく噴出して封水を撹拌し、厨芥垢類を除去して排水トラップの外部に汚れを排出し、貯留部内を洗浄する。
【先行技術文献】
【特許文献】
【0005】
実開平06-049568号
【発明の概要】
【発明が解決しようとする課題】
【0006】
この発明は、上記のような従来技術を背景としてなされたものであり、この発明の1つの目的は、排水トラップの貯留部及び配管を洗浄すること、且つ付着した汚れを洗浄可能な排水配管部材を提供することである。
【課題を解決するための手段】
【0007】
本発明の第1特徴構成は、封水を貯留する貯留部を有する排水トラップを洗浄する排水配管部材であって、
前記貯留部よりも下流側の流路を開閉するバルブと、
洗浄水を吐水する洗浄ノズルと、を備え、
前記バルブは、前記貯留部からの配管に接続される流入口と下流側の配管に接続される排出口とを有する内部に流路を形成するバルブ本体と、前記流路の開閉時に回動する弁部と前記弁部を回動させる機構部とを有し、
前記弁部と、前記機構部と、を前記バルブ本体の内部に設け、
前記機構部は、前記流路の外側に配置されることを特徴とする。
【0008】
本構成によれば、弁体は機構部によって回動することでバルブから上流側の流路を確実に開閉し、洗浄ノズルからの洗浄水によって排水トラップを含む配管を洗浄することができる。
また、機構部が流路の外側に配置されていることから、排水の汚れが機構部に付着することによるバルブの動作不良及び故障を防止することができる。
【0009】
本発明の第2特徴構成は、前記洗浄ノズルは、
前記バルブ本体に接続されることを特徴とする。
【0010】
本発明の第2特徴構成は、封水を貯留する貯留部を有する排水トラップを洗浄する排水配管部材であって、
前記貯留部よりも下流側の流路を開閉するバルブと、
洗浄水を吐出する洗浄ノズルと、を備え、
前記バルブは、前記貯留部からの配管に接続される流入口と、下流側の配管に接続される排出口とを有する内部に流路を形成するバルブ本体と、前記流路を閉塞する弁部とを有し、
前記弁部を前記バルブ本体の内部に設け、
前記洗浄ノズルは前記バルブ本体に接続されることを特徴とする。
(【0011】以降は省略されています)
この特許をJ-PlatPat(特許庁公式サイト)で参照する
関連特許
丸一株式会社
排水配管部材
2日前
因幡電機産業株式会社
排水トラップ
1か月前
因幡電機産業株式会社
排水トラップ
1か月前
丸一株式会社
排水配管部材
2日前
株式会社田中設備
蓋体
1か月前
個人
ドクター中まミズつクル
2か月前
TOTO株式会社
トイレ装置
1か月前
一文機工株式会社
トイレ装置
7日前
TOTO株式会社
排水システム
1か月前
TOTO株式会社
排水システム
1か月前
株式会社タカギ
水栓装置
4か月前
ミサワホーム株式会社
外構
1か月前
株式会社KVK
水栓
2か月前
株式会社KVK
水栓
2か月前
株式会社KVK
水栓
1か月前
TOTO株式会社
便座装置
2か月前
株式会社KVK
水栓
2か月前
タイガースポリマー株式会社
側溝
2か月前
TOTO株式会社
トイレ装置
2か月前
TOTO株式会社
トイレ装置
2か月前
TOTO株式会社
トイレ装置
2か月前
株式会社タカギ
水栓装置
4か月前
ホーコス株式会社
床置型グリース阻集器
2か月前
クリナップ株式会社
キッチン
1か月前
TOTO株式会社
浴室床
3か月前
TOTO株式会社
洗面器及び洗面台
2か月前
TOTO株式会社
洗面器及び洗面台
2か月前
TOTO株式会社
洗い場床
3か月前
株式会社Deto
吐水器
1か月前
三興建設株式会社
下水道バイパス装置
3か月前
TOTO株式会社
排水管継手
3か月前
共立製薬株式会社
小便器用排水システム
1日前
TOTO株式会社
トイレ装置
3か月前
TOTO株式会社
排水管継手
3か月前
TOTO株式会社
トイレ装置
3か月前
株式会社LIXIL
便器装置
1か月前
続きを見る
他の特許を見る