TOP
|
特許
|
意匠
|
商標
特許ウォッチ
Twitter
他の特許を見る
公開番号
2025157524
公報種別
公開特許公報(A)
公開日
2025-10-15
出願番号
2025124376
出願日
2025-07-24
発明の名称
蓋体
出願人
株式会社田中設備
代理人
個人
主分類
E03B
11/00 20060101AFI20251007BHJP(上水;下水)
要約
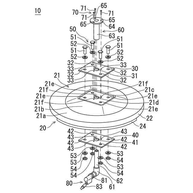
【課題】蓋本体が破損することを抑制しつつタンクの内部にボールタップを設けることができる蓋体を提供することを目的とする。
【解決手段】蓋体10は、蓋本体20よりも剛性が高く、蓋本体20に固定される補強板30と、ボールタップ80と連通するように一端部がボールタップ80に接続され、補強板30を介して蓋本体20に固定され、供給管2と連通するように他端部が供給管2に接続され、接続管60と供給管2とが接続されて構成される配管が蓋本体20を貫通してタンク1の内部まで延びるように設けられる接続管60とを備え、ボールタップ80は、蓋本体20がタンク1に取り付けられた状態において、液体の液位が所定の液位A未満である場合には、接続管60を介して供給管2から供給される液体をタンク1に供給し、液体の液位が所定の液位Aである場合には、接続管60を介して供給管2から供給される液体をタンク1に供給しない。
【選択図】図2
特許請求の範囲
【請求項1】
タンクの開口部を塞ぐように、前記タンクに取り付けられる蓋本体と、
前記蓋本体よりも剛性が高く、前記蓋本体に固定される補強板と、
前記蓋本体が前記タンクに取り付けられた状態において、前記タンクの内部に位置するように設けられるボールタップと、
前記ボールタップと連通するように一端部が前記ボールタップに接続されかつ前記補強板を介して前記蓋本体に固定される接続管であって、前記蓋本体が前記タンクに取り付けられた状態において、前記タンクに液体を供給するために前記タンクの外部に設けられる供給管と連通するように他端部が前記供給管に接続されかつ前記接続管と前記供給管とが接続されて構成される配管が前記蓋本体を貫通して前記タンクの外部から前記タンクの内部まで延びるように設けられる接続管とを備え、
前記ボールタップは、前記蓋本体が前記タンクに取り付けられた状態において、前記タンクに貯留されている前記液体の液位が所定の液位未満である場合には前記接続管を介して前記供給管から供給される前記液体を前記タンクに供給し、前記タンクに貯留されている前記液体の液位が前記所定の液位である場合には前記接続管を介して前記供給管から供給される前記液体を前記タンクに供給しないことを特徴とする蓋体。
続きを表示(約 330 文字)
【請求項2】
前記蓋本体は、天板部を有し、
前記天板部は、前記天板部の中央部において平板部を有し、
前記補強板は、前記平板部と平行に設けられ、前記平板部に固定されることを特徴とする請求項1に記載の蓋体。
【請求項3】
前記天板部の天面部は、凹部を有し、
前記平板部は、前記凹部の底面を形成していることを特徴とする請求項2に記載の蓋体。
【請求項4】
前記平板部を挟んで設けられる2つの前記補強板を備えることを特徴とする請求項2または3に記載の蓋体。
【請求項5】
前記接続管は、前記平板部と前記補強板とを貫通するように設けられることを特徴とする請求項2または3に記載の蓋体。
発明の詳細な説明
【技術分野】
【0001】
本発明は、蓋体に関する。
続きを表示(約 1,300 文字)
【背景技術】
【0002】
たとえば、特許文献1には、ボールタップをタンクの中に入れ蓋からホースの接続口を出し、交互に閉めたゴムパッキングとナットで防水し、水道の蛇口からホースでボールタップに繋ぐことが開示されている。
【先行技術文献】
【特許文献】
【0003】
実用新案登録第3118105号公報
【発明の概要】
【発明が解決しようとする課題】
【0004】
ところで、蓋本体が破損することを抑制しつつタンクの内部にボールタップを設けることが望まれている。
【0005】
そこで、本発明は、蓋本体が破損することを抑制しつつタンクの内部にボールタップを設けることができる蓋体を提供することを目的とする。
【課題を解決するための手段】
【0006】
(1) 本発明の蓋体は、タンクの開口部を塞ぐように、前記タンクに取り付けられる蓋本体と、前記蓋本体よりも剛性が高く、前記蓋本体に固定される補強板と、前記蓋本体が前記タンクに取り付けられた状態において、前記タンクの内部に位置するように設けられるボールタップと、前記ボールタップと連通するように一端部が前記ボールタップに接続されかつ前記補強板を介して前記蓋本体に固定される接続管であって、前記蓋本体が前記タンクに取り付けられた状態において、前記タンクに液体を供給するために前記タンクの外部に設けられる供給管と連通するように他端部が前記供給管に接続されかつ前記接続管と前記供給管とが接続されて構成される配管が前記蓋本体を貫通して前記タンクの外部から前記タンクの内部まで延びるように設けられる接続管とを備え、前記ボールタップは、前記蓋本体が前記タンクに取り付けられた状態において、前記タンクに貯留されている前記液体の液位が所定の液位未満である場合には前記接続管を介して前記供給管から供給される前記液体を前記タンクに供給し、前記タンクに貯留されている前記液体の液位が前記所定の液位である場合には前記接続管を介して前記供給管から供給される前記液体を前記タンクに供給しないことを特徴とする。
【0007】
(2) 上記(1)の蓋体においては、天板部を有し、前記天板部は、前記天板部の中央部において平板部を有し、前記補強板は、前記平板部と平行に設けられ、前記平板部に固定されることが好ましい。
【0008】
(3) 上記(2)の蓋体においては、前記天板部の天面部は、凹部を有し、前記平板部は、前記凹部の底面を形成していることが好ましい。
【0009】
(4) 上記(2)または(3)の蓋体においては、前記平板部を挟んで設けられる2つの前記補強板を備えることが好ましい。
【0010】
(5) 上記(2)または(3)の蓋体においては、前記接続管は、前記平板部と前記補強板とを貫通するように設けられることが好ましい。
【発明の効果】
(【0011】以降は省略されています)
この特許をJ-PlatPat(特許庁公式サイト)で参照する
関連特許
株式会社田中設備
蓋体
1か月前
丸一株式会社
排水配管部材
9日前
一文機工株式会社
トイレ装置
14日前
TOTO株式会社
トイレ装置
1か月前
個人
ドクター中まミズつクル
2か月前
株式会社田中設備
蓋体
1か月前
TOTO株式会社
排水システム
1か月前
TOTO株式会社
排水システム
1か月前
ミサワホーム株式会社
外構
1か月前
タイガースポリマー株式会社
側溝
2か月前
株式会社KVK
水栓
1か月前
TOTO株式会社
便座装置
2か月前
株式会社KVK
水栓
2か月前
株式会社KVK
水栓
3か月前
株式会社KVK
水栓
3か月前
TOTO株式会社
トイレ装置
2か月前
TOTO株式会社
トイレ装置
2か月前
TOTO株式会社
トイレ装置
2か月前
ホーコス株式会社
床置型グリース阻集器
2か月前
TOTO株式会社
洗面器及び洗面台
3か月前
TOTO株式会社
浴室床
3か月前
クリナップ株式会社
キッチン
1か月前
TOTO株式会社
洗面器及び洗面台
3か月前
三興建設株式会社
下水道バイパス装置
3か月前
株式会社Deto
吐水器
1か月前
TOTO株式会社
洗い場床
4か月前
TOTO株式会社
排水管継手
3か月前
共立製薬株式会社
小便器用排水システム
8日前
TOTO株式会社
排水管継手
3か月前
飛島建設株式会社
仮設壁の構築方法
1か月前
株式会社LIXIL
便器装置
2か月前
株式会社LIXIL
便器装置
1か月前
株式会社タカギ
水栓
1か月前
株式会社タカギ
水栓
1か月前
TOTO株式会社
トイレシステム
3か月前
積水化学工業株式会社
継手
2か月前
続きを見る
他の特許を見る