TOP
|
特許
|
意匠
|
商標
特許ウォッチ
Twitter
他の特許を見る
10個以上の画像は省略されています。
公開番号
2025125687
公報種別
公開特許公報(A)
公開日
2025-08-28
出願番号
2024021781
出願日
2024-02-16
発明の名称
水栓
出願人
株式会社KVK
代理人
個人
,
個人
主分類
E03C
1/042 20060101AFI20250821BHJP(上水;下水)
要約
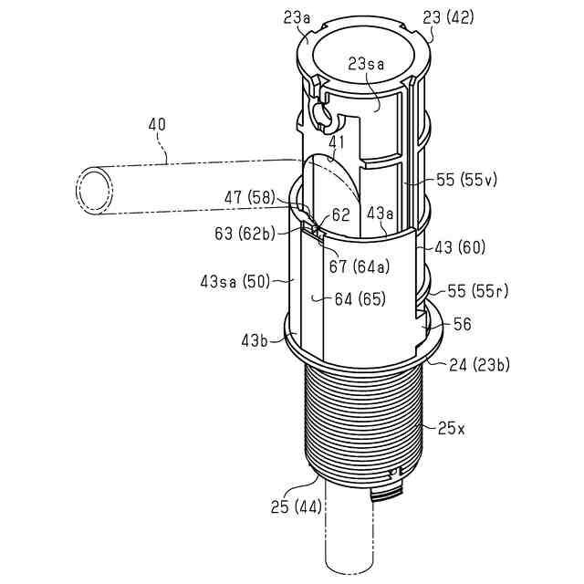
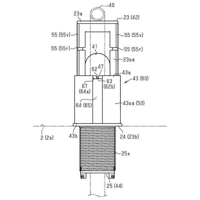
【課題】送水ホースを伝って主管部内に浸入した湯水を除去する。
【解決手段】水栓1は、上下方向に延在する主管部5と、この主管部5から分岐した枝管部6と、この枝管部6の先端6aに対して着脱可能に保持される吐水ヘッド7と、を備える。また、水栓1は、吐水ヘッド7に対して第1端部40aが接続されるとともに、枝管部6に挿通されることにより主管部5の下端5bから第2端部40b側が下方に引き出された送水ホース40を備える。そして、水栓1は、主管部5内に配置される送水ホース40との摺接部47を有して、その主管部5内に収容される水切り部材60としての機能を有したホースガイド43を備える。
【選択図】図2
特許請求の範囲
【請求項1】
上下方向に延在する主管部と、
前記主管部から分岐した枝管部と、
前記枝管部の先端に対して着脱可能に保持される吐水ヘッドと、
前記吐水ヘッドに対して第1端部が接続されるとともに前記枝管部に挿通されることにより前記主管部の下端から第2端部側が下方に引き出された送水ホースと、
前記主管部内に配置される前記送水ホースとの摺接部を有して前記主管部内に収容される水切り部材と、を備える水栓。
続きを表示(約 490 文字)
【請求項2】
前記主管部の径方向内側から外側に向かって下方に延びる外向きの下り勾配を有して、前記摺接部に付着した湯水を前記主管部の内周面に対向する前記水切り部材の外側面に導く斜面を備える請求項1に記載の水栓。
【請求項3】
前記水切り部材の外側面に設けられた排水路を備える請求項2に記載の水栓。
【請求項4】
前記水切り部材の外側面が前記主管部の内周面に沿った湾曲面であるとともに、前記湾曲面を切り欠いて上下方向に延在する前記外側面に設けられた切欠き部が前記排水路を構成する請求項3に記載の水栓。
【請求項5】
前記排水路の上端部に設けられた水溜り部を備える
請求項3又は請求項4に記載の水栓。
【請求項6】
前記摺接部が前記主管部から分岐した前記枝管部の下縁に連接する位置に配置されている請求項1~請求項4の何れか一項に記載の水栓。
【請求項7】
前記摺接部が該摺接部に対して湾曲状態で摺接する前記送水ホースの湾曲形状に沿った曲面形状を有する請求項1~請求項4の何れか一項に記載の水栓。
発明の詳細な説明
【技術分野】
【0001】
本発明は、水栓に関するものである。
続きを表示(約 1,800 文字)
【背景技術】
【0002】
従来、例えば、特許文献1に示すように、上下方向に延在する主管部と、この主管部から分岐した枝管部と、この枝管部の先端に保持される吐水ヘッドと、この吐水ヘッドに接続された状態で枝管部に挿通される送水ホースと、を備えた水栓がある。このような水栓において、枝管部に挿通された送水ホースは、主管部の下端から下方に引き出される。また、吐水ヘッドは、その枝管部の先端に対して着脱可能に構成される。更に、送水ホースもまた、枝管部から取り外された吐水ヘッドと一体に、その枝管部の先端から引き出し可能に構成される。そして、これにより、その吐水ヘッドを把持する利用者が、この吐水ヘッドから流れ出る湯水を自在に操ることのできる構成となっている。
【0003】
また、このような吐水ヘッド及び送水ホースの引き出し機能を備えた水栓においては、その送水ホースを伝って枝管部内に湯水が浸入するおそれがある。この点を踏まえ、例えば、特許文献2に記載の水栓は、その主管部から分岐した枝管部の下側位置に、この枝管部内に浸入した湯水を排出するための排出口を備えている。更に、この従来技術の水栓は、枝管部内において、この枝管部に挿通された送水ホースに摺接する水切り部材を備えている。即ち、この水切り部材は、吐水ヘッドの着脱操作に基づき枝管部内を摺動する送水ホースに当接することにより、この送水ホースに付着した湯水を扱き落とす機能を有している。更に、この水切り部材は、併せて、その送水ホースから除去した湯水を排出口に導く機能を有している。そして、この従来技術の水栓は、これにより、効果的に、その枝管部内に浸入した湯水を外部に排出することのできる構成となっている。
【先行技術文献】
【特許文献】
【0004】
特開2019-100049号公報
特開2002-364036号公報
【発明の概要】
【発明が解決しようとする課題】
【0005】
しかしながら、上記従来技術のような枝管部に浸入水の排出構造を有する構成においてもなお、その送水ホースに付着した湯水が枝管部から主管部内に浸入する可能性がある。そして、この主管部内に浸入した湯水が、その送水ホースを伝って、例えば、洗面キャビネット等、その水栓の設置面よりも下方の空間に浸入するおそれがある。
【課題を解決するための手段】
【0006】
上記課題を解決する水栓の各態様を記載する。
態様1は、上下方向に延在する主管部と、前記主管部から分岐した枝管部と、前記枝管部の先端に対して着脱可能に保持される吐水ヘッドと、前記吐水ヘッドに対して第1端部が接続されるとともに前記枝管部に挿通されることにより前記主管部の下端から第2端部側が下方に引き出された送水ホースと、前記主管部内に配置される前記送水ホースとの摺接部を有して前記主管部内に収容される水切り部材と、を備える水栓である。
【0007】
上記構成によれば、水切り部材の摺接部に対する送水ホースの摺接により、主管部内において、その送水ホースに付着した湯水を扱き落とすことができる。そして、これにより、その送水ホースを伝って枝管部から主管部内に浸入した湯水を効果的に除去することができる。
【0008】
態様2は、前記主管部の径方向内側から外側に向かって下方に延びる外向きの下り勾配を有して、前記摺接部に付着した湯水を前記主管部の内周面に対向する前記水切り部材の外側面に導く斜面を備える態様1に記載の水栓である。
【0009】
上記構成によれば、摺接部において送水ホースから除去した湯水が、主管部の内周面に近い径方向位置において、その水切り部材の外側面を伝って下方に流れ落ちるようにすることができる。そして、これにより、送水ホースから除去した湯水を円滑に、その主管部外に排出することができる。
【0010】
態様3は、前記水切り部材の外側面に設けられた排水路を備える態様2に記載の水栓である。
上記構成によれば、送水ホースから除去した湯水を、その排水路に沿って下方に流すことができる。そして、これにより、より円滑に、その水切り部材の摺接部において除去した湯水を主管部外に排出することができる。
(【0011】以降は省略されています)
この特許をJ-PlatPat(特許庁公式サイト)で参照する
関連特許
株式会社KVK
水栓
1か月前
株式会社KVK
配管カバー
6日前
株式会社KVK
シャワーヘッド
1か月前
株式会社KVK
シャワーヘッド
1か月前
丸一株式会社
排水配管部材
7日前
株式会社田中設備
蓋体
1か月前
一文機工株式会社
トイレ装置
12日前
TOTO株式会社
トイレ装置
1か月前
個人
ドクター中まミズつクル
2か月前
TOTO株式会社
排水システム
1か月前
株式会社タカギ
水栓装置
4か月前
TOTO株式会社
排水システム
1か月前
TOTO株式会社
便座装置
2か月前
株式会社KVK
水栓
2か月前
ミサワホーム株式会社
外構
1か月前
株式会社KVK
水栓
3か月前
株式会社KVK
水栓
3か月前
タイガースポリマー株式会社
側溝
2か月前
株式会社KVK
水栓
1か月前
TOTO株式会社
トイレ装置
2か月前
TOTO株式会社
トイレ装置
2か月前
TOTO株式会社
トイレ装置
2か月前
株式会社タカギ
水栓装置
4か月前
ホーコス株式会社
床置型グリース阻集器
2か月前
クリナップ株式会社
キッチン
1か月前
TOTO株式会社
洗面器及び洗面台
3か月前
TOTO株式会社
浴室床
3か月前
TOTO株式会社
洗面器及び洗面台
3か月前
TOTO株式会社
洗い場床
4か月前
三興建設株式会社
下水道バイパス装置
3か月前
株式会社Deto
吐水器
1か月前
TOTO株式会社
トイレ装置
4か月前
TOTO株式会社
排水管継手
3か月前
TOTO株式会社
排水管継手
3か月前
共立製薬株式会社
小便器用排水システム
6日前
TOTO株式会社
トイレ装置
4か月前
続きを見る
他の特許を見る