TOP
|
特許
|
意匠
|
商標
特許ウォッチ
Twitter
他の特許を見る
10個以上の画像は省略されています。
公開番号
2025142898
公報種別
公開特許公報(A)
公開日
2025-10-01
出願番号
2024042507
出願日
2024-03-18
発明の名称
シャワーヘッド
出願人
株式会社KVK
代理人
個人
,
個人
主分類
A47K
3/28 20060101AFI20250924BHJP(家具;家庭用品または家庭用設備;コーヒーひき;香辛料ひき;真空掃除機一般)
要約
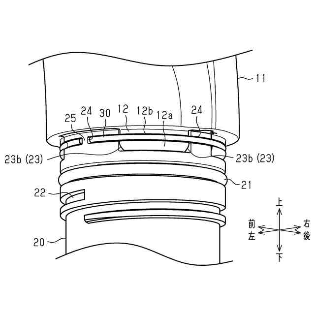
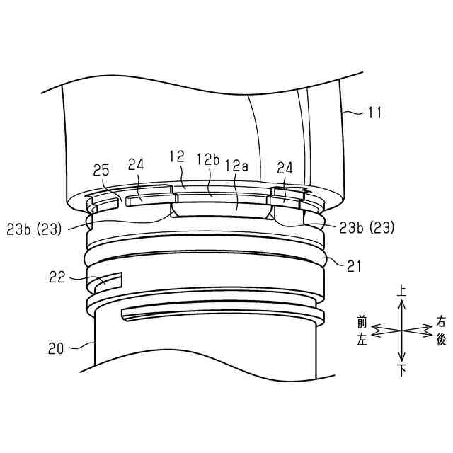
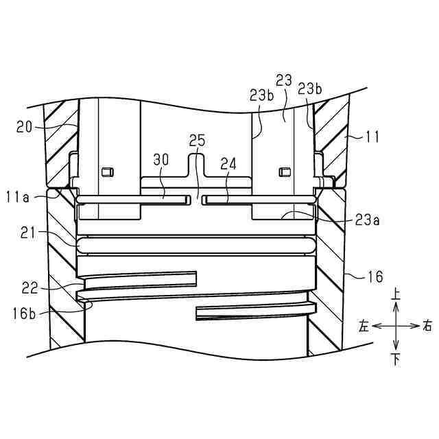
【課題】シャワーヘッドの第1部材と第2部材を簡単に接続する。
【解決手段】シャワーヘッドは、円筒状の第1部材と、第1部材に接続された第2部材とを備える。第1部材は、外周に取り付けられたリング30を有するとともに、第2部材は、リング30に係合することによって第1部材と第2部材を接続する爪12を有している。
【選択図】図6
特許請求の範囲
【請求項1】
円筒状の第1部材と、当該第1部材に接続された第2部材とを備えるシャワーヘッドであって、
前記第1部材は、外周に取り付けられたリングを有するとともに、
前記第2部材は、前記リングに係合することによって前記第1部材と前記第2部材を接続する爪を有していることを特徴とするシャワーヘッド。
続きを表示(約 500 文字)
【請求項2】
前記第1部材は、前記リングを収容する収容溝を有し、
前記爪は、前記リングの内周側に挿入された状態で前記リングに嵌合する嵌合溝を有している請求項1に記載のシャワーヘッド。
【請求項3】
前記収容溝の底面と、前記嵌合溝の底面は、同一円周上に位置する請求項2に記載のシャワーヘッド。
【請求項4】
前記第1部材は、前記爪を収容する凹部を有しており、
前記凹部は、前記第1部材の周方向に沿う前記爪の両端部に当接する当接部を有している請求項1に記載のシャワーヘッド。
【請求項5】
前記リングは、環状体の一部が切り欠かれることによって形成された隙間を有しており、
前記第1部材は、前記隙間に係合する係合壁を有している請求項1に記載のシャワーヘッド。
【請求項6】
前記リングは、環状体の一部が切り欠かれることによって形成された隙間を有しており、
前記爪が係合した前記リングに対して、当該リングの外周側に配置されて前記リングの拡径を防止する第3部材を備える請求項2に記載のシャワーヘッド。
発明の詳細な説明
【技術分野】
【0001】
本発明は、シャワーヘッドに関する。
続きを表示(約 1,300 文字)
【背景技術】
【0002】
特許文献1は、シャワーヘッドについて記載している。
図15に示すように、シャワーヘッド70は、本体カバー71と、インナーパイプ72と、ジョイント73と、インナーカップ74と、シャワーフェイス75を有している。
【0003】
インナーパイプ72は、下端部にホース(図示省略)が接続されるとともに、上端部にジョイント73が接続される。ジョイント73におけるインナーパイプ72側の端部とは反対側の端部は、インナーカップ74に接続されている。インナーカップ74の前面にシャワーフェイス75が取り付けられている。ホースを介してインナーパイプ72に供給された湯水は、ジョイント73を経由してインナーカップ74に流通する。さらに、シャワーフェイス75が有する吐水孔75aから吐出される。
【0004】
ジョイント73とインナーパイプ72の接続は、ジョイント73の内周とインナーパイプ72の外周との間にシール部材72aを配置したうえで、ジョイント73の内周のネジ溝と、インナーパイプ72の外周のネジ溝を螺合させることによって行う。
【先行技術文献】
【特許文献】
【0005】
特開2016-86831号公報
【発明の概要】
【発明が解決しようとする課題】
【0006】
ところで、特許文献1のシャワーヘッド70は、ジョイント73とインナーパイプ72の接続を両者のネジ溝を螺合させることによって行うため、作業に手間がかかるという課題を有している。特に、特許文献1のシャワーヘッド70は、本体カバー71の内部においてジョイント73とインナーパイプ72を接続する作業を行う必要があるため、作業に手間がかかっていた。
【課題を解決するための手段】
【0007】
態様1のシャワーヘッドは、円筒状の第1部材と、当該第1部材に接続された第2部材とを備えるシャワーヘッドであって、前記第1部材は、外周に取り付けられたリングを有するとともに、前記第2部材は、前記リングに係合することによって前記第1部材と前記第2部材を接続する爪を有している。
【0008】
この構成によれば、第1部材の外周に取り付けられたリングに、第2部材の爪を係合させることによって、第1部材と第2部材を接続することができる。これにより、第1部材と第2部材を簡単に接続することを可能にしたシャワーヘッドを得ることができる。
【0009】
態様2は、態様1のシャワーヘッドにおいて、前記第1部材は、前記リングを収容する収容溝を有し、前記爪は、前記リングの内周側に挿入された状態で前記リングに嵌合する嵌合溝を有している。この構成によれば、第1部材の収容溝に収容したリングに、第2部材の爪の嵌合溝を嵌合させることによって、第1部材と第2部材の接続状態を安定させることができる。
【0010】
態様3は、前記収容溝の底面と、前記嵌合溝の底面は、同一円周上に位置する。この構成によれば、第1部材の収容溝に収容されるとともに、第2部材の爪の嵌合溝に嵌合されたリングの状態をより安定させることができる。
(【0011】以降は省略されています)
この特許をJ-PlatPat(特許庁公式サイト)で参照する
関連特許
株式会社KVK
接続構造体
27日前
株式会社KVK
シャワーヘッド
8日前
株式会社KVK
シャワーヘッド
15日前
個人
箸
2日前
個人
家具
3か月前
個人
椅子
1か月前
個人
掃除機
7か月前
個人
自助箸
5か月前
個人
耳拭き棒
10か月前
個人
掃除用具
2か月前
個人
体洗い具
9か月前
個人
ハンガー
6か月前
個人
枕
4か月前
個人
ソファー
27日前
個人
掃除道具
7か月前
個人
枕
7か月前
個人
屋外用箒
6か月前
個人
片手代替具
10か月前
個人
物品
1か月前
個人
掃除シート
8か月前
個人
省煙消臭器
7か月前
個人
開閉トング
5か月前
個人
エコ掃除機
10か月前
個人
組立式棚板
6か月前
個人
シャワー装置
5か月前
個人
バターナイフ
2日前
個人
経典表示装置
3か月前
個人
受け皿
4か月前
個人
中身のない枕
6か月前
個人
転倒防止装置
4か月前
個人
洗面台
9か月前
個人
紙コップ 蓋
1か月前
個人
靴ベラ
1か月前
個人
ゴミ袋保持枠
6か月前
個人
首支持具
2か月前
個人
コーナーシール
8か月前
続きを見る
他の特許を見る