TOP
|
特許
|
意匠
|
商標
特許ウォッチ
Twitter
他の特許を見る
10個以上の画像は省略されています。
公開番号
2025171330
公報種別
公開特許公報(A)
公開日
2025-11-20
出願番号
2024076543
出願日
2024-05-09
発明の名称
配管カバー
出願人
株式会社KVK
代理人
個人
,
個人
主分類
F16L
57/00 20060101AFI20251113BHJP(機械要素または単位;機械または装置の効果的機能を生じ維持するための一般的手段)
要約
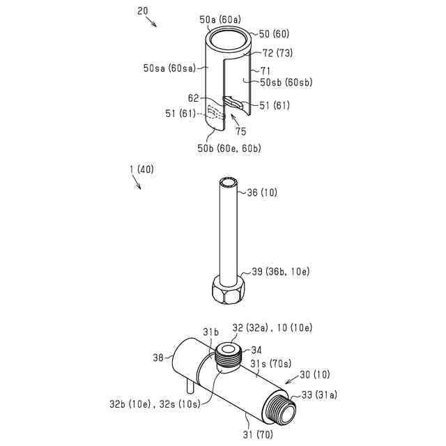
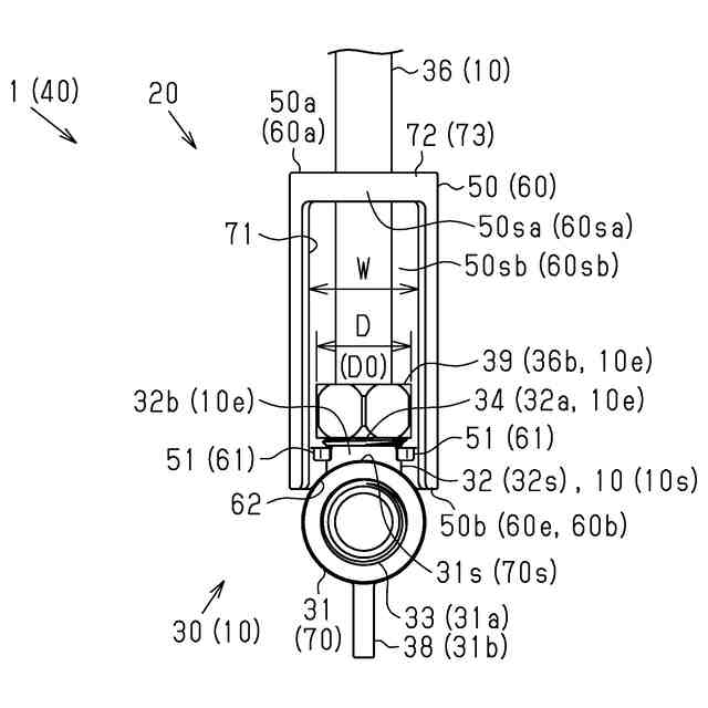
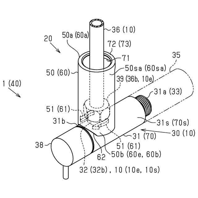
【課題】カバー部材の形状について、その高い設計自由度を確保する。
【解決手段】配管カバー20は、配管10の外周を覆うカバー部材60としてのカバー本体50と、その配管10の周面10sに嵌合する配管嵌合部材61と、を備える。そして、配管カバー20は、その配管嵌合部材61が配管10の周面10sに嵌合するとともに、そのカバー部材60が配管10の接続端部10eを覆う状態で、これらの配管嵌合部材61とカバー部材60との相対位置が固定される。
【選択図】図1
特許請求の範囲
【請求項1】
配管の外周を覆うカバー部材と、
前記配管の周面に嵌合する配管嵌合部材と、を備え、
前記配管嵌合部材が前記配管の周面に嵌合するとともに、前記カバー部材が前記配管の接続端部を覆う状態で、前記配管嵌合部材と前記カバー部材との相対位置が固定される
配管カバー。
続きを表示(約 630 文字)
【請求項2】
前記カバー部材の内周に突出した一対の係合片を有し、
前記両係合片を前記カバー部材と一体に設けられた前記配管嵌合部材として、
前記両係合片の弾性変形に基づき該両係合片間に前記配管を挟み込む
請求項1に記載の配管カバー。
【請求項3】
前記カバー部材は、
前記配管の周方向に延在する環形状部と、
前記配管の軸方向に延在する前記カバー部材の軸方向端部を含んで該カバー部材の側面に開口する側面開口部と、を備え、
前記側面開口部が前記配管の直径よりも幅広であるとともに、
前記一対の係合片が前記側面開口部に向かって突出する
請求項2に記載の配管カバー。
【請求項4】
前記配管の周面に嵌合した前記配管嵌合部材に対して前記カバー部材の内周が嵌合することにより前記配管嵌合部材と前記カバー部材との相対位置が固定される
請求項1に記載の配管カバー。
【請求項5】
前記配管の軸方向に延在する前記カバー部材の軸方向端部に設けられた切欠きを有するとともに、前記切欠き内に、前記接続端部が接続された第2配管を配置する
請求項1~請求項4の何れか一項に記載の配管カバー。
【請求項6】
前記切欠きが前記第2配管の周面に嵌合することにより該第2配管に対する前記カバー部材の相対位置が固定される請求項5に記載の配管カバー。
発明の詳細な説明
【技術分野】
【0001】
本発明は、配管カバーに関するものである。
続きを表示(約 1,600 文字)
【背景技術】
【0002】
従来、配管の外周を覆う配管カバーがある。例えば、特許文献1に記載の配管カバーは、半割り筒状のカバー部材を備えるとともに、このカバー部材の内面が配管に対して部分的に当接する。更に、この従来例の配管カバーは、そのカバー部材の両側縁に設けられた一対の弾圧保持片を有している。そして、これらの両弾圧保持片によって、そのカバー部材の内側に配置された配管を抱え込む構成となっている。
【先行技術文献】
【特許文献】
【0003】
特開2002-327890号公報
【発明の概要】
【発明が解決しようとする課題】
【0004】
しかしながら、上記従来技術の構成では、カバー部材の形状について、その設計自由度が小さいという問題がある。
【課題を解決するための手段】
【0005】
上記課題を解決する配管カバーの各態様を記載する。
態様1は、配管の外周を覆うカバー部材と、前記配管の周面に嵌合する配管嵌合部材と、を備え、前記配管嵌合部材が前記配管の周面に嵌合するとともに、前記カバー部材が前記配管の接続端部を覆う状態で、前記配管嵌合部材と前記カバー部材との相対位置が固定される配管カバーである。
【0006】
上記構成によれば、カバー部材の外観形状に依らず、配管嵌合部材の嵌合力に基づいて、その配管に対して配管カバーを固定することができる。その結果、そのカバー部材の形状について高い設計自由度を確保することができる。そして、これにより、意匠性の向上を図ることができる。
【0007】
態様2は、前記カバー部材の内周に突出した一対の係合片を有し、前記両係合片を前記カバー部材と一体に設けられた前記配管嵌合部材として、前記両係合片の弾性変形に基づき該両係合片間に前記配管を挟み込む態様1に記載の配管カバーである。
【0008】
上記構成によれば、構成簡素に配管嵌合部材を形成することができるとともに、容易に、この配管嵌合部材を配管の周面に嵌合させることができる。更に、予め、その配管嵌合部材をカバー部材と一体に設けることで、配管に配管カバーを組み付ける際、これらのカバー部材及び配管嵌合部材を固定する工程が不要となる。そして、これにより、その配管カバーの組付作業を効率化することができる。
【0009】
態様3は、前記カバー部材は、前記配管の周方向に延在する環形状部と、前記配管の軸方向に延在する前記カバー部材の軸方向端部を含んで該カバー部材の側面に開口する側面開口部と、を備え、前記側面開口部が前記配管の直径よりも幅広であるとともに、前記一対の係合片が前記側面開口部に向かって突出する態様2に記載の配管カバーである。
【0010】
上記構成によれば、カバー部材の側面開口部内に配管を配置することにより、環形状部に配管を挿通した状態で、そのカバー部材を傾動させることができる。即ち、このような傾動姿勢にすることで、カバー部材と一体に設けられた一対の係合片を配管に接触させることなく、その径方向外側に配置することができる。その結果、配管に配管カバーが組み付けられた状態で、この配管カバーを、その配管の軸方向に沿って移動させることができる。更に、側面開口部に向かって突出して設けられた係合片間の隙間が、カバー部材内において、その配管に対向して配置される。このため、その傾動姿勢を配管の軸方向に沿った固定姿勢に変更することで、これらの係合片が形成する配管嵌合部材を、容易に、その配管に対して嵌合させることができる。そして、これにより、より効率的に、その配管カバーの組付作業を行うことができる。
(【0011】以降は省略されています)
この特許をJ-PlatPat(特許庁公式サイト)で参照する
関連特許
株式会社KVK
水栓
1か月前
株式会社KVK
配管カバー
3日前
株式会社KVK
シャワーヘッド
1か月前
個人
留め具
1か月前
個人
鍋虫ねじ
2か月前
個人
回転伝達機構
3か月前
個人
ホース保持具
7か月前
個人
紛体用仕切弁
2か月前
個人
トーションバー
7か月前
個人
差動歯車用歯形
5か月前
個人
ジョイント
2か月前
個人
給排気装置
1か月前
株式会社不二工機
電磁弁
4か月前
個人
ナット
18日前
株式会社不二工機
電磁弁
6か月前
個人
地震の揺れ回避装置
4か月前
個人
ボルトナットセット
8か月前
個人
ナット
2か月前
個人
ゲート弁バルブ
3日前
個人
吐出量監視装置
2か月前
カヤバ株式会社
緩衝器
4か月前
柿沼金属精機株式会社
分岐管
3か月前
カヤバ株式会社
緩衝器
1か月前
カヤバ株式会社
緩衝器
4か月前
カヤバ株式会社
ダンパ
5か月前
兼工業株式会社
バルブ
19日前
カヤバ株式会社
ダンパ
5か月前
株式会社三協丸筒
枠体
8か月前
株式会社ニフコ
クリップ
1か月前
個人
固着具と固着具の固定方法
6か月前
株式会社ノーリツ
分配弁
6か月前
株式会社ノーリツ
分配弁
1か月前
個人
固着具と固着具の固定方法
6か月前
個人
固着具と固着具の固定方法
6か月前
個人
固着具と固着具の固定方法
7か月前
株式会社不二工機
電動弁
7か月前
続きを見る
他の特許を見る