TOP
|
特許
|
意匠
|
商標
特許ウォッチ
Twitter
他の特許を見る
公開番号
2025043476
公報種別
公開特許公報(A)
公開日
2025-04-01
出願番号
2023150780
出願日
2023-09-19
発明の名称
電動弁
出願人
株式会社不二工機
代理人
個人
主分類
F16K
31/04 20060101AFI20250325BHJP(機械要素または単位;機械または装置の効果的機能を生じ維持するための一般的手段)
要約
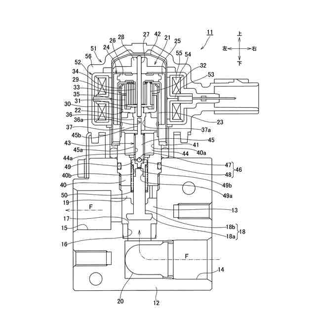
【課題】ギア式電動弁の組立性を一層向上させると共に歯車装置全体としての試験を可能として電動弁の信頼性を更に高める。
【解決手段】弁室13を有する弁本体12と、弁室に連通する第1流路14と、弁室に連通する第2流路15と、第1流路と第2流路との間に設けたオリフィス16と、オリフィスに対し進退動してオリフィスの開度を変更する弁体18と、弁体を駆動する電動機51を構成するロータ24と、ロータの回転を減速する歯車装置22と、歯車装置により減速された回転を出力する出力軸36と、出力軸の回転を直線運動に変換して弁体に伝える伝達機構43と、歯車装置を収容する筒状のギアケース23と、出力軸を回転可能に支持するガイド部37とを備え、出力軸、ガイド部及び歯車装置がギアケースに支持されている電動弁11である。
【選択図】図1
特許請求の範囲
【請求項1】
弁室を内部に有する弁本体と、
前記弁室に連通する第1流路と、
前記弁室に連通する第2流路と、
前記第1流路と前記第2流路との間に形成したオリフィスと、
前記オリフィスに対して進退動して前記オリフィスの開度を変更する弁体と、
前記弁体を駆動する電動機を構成するロータと、
前記ロータの回転を減速する歯車装置と、
前記歯車装置により減速された回転を出力する出力軸と、
前記出力軸の回転を直線運動に変換して前記弁体に伝達する伝達機構と、
前記歯車装置を収容する筒状のギアケースと、
前記出力軸を回転可能に支持するガイド部と、
を備え、
前記出力軸、前記ガイド部および前記歯車装置は、前記ギアケースに支持されている
ことを特徴とする電動弁。
続きを表示(約 660 文字)
【請求項2】
前記歯車装置と、前記ギアケースと、前記出力軸と、前記ガイド部と、前記ロータを、歯車装置組立体としてユニット化した
請求項1に記載の電動弁。
【請求項3】
前記ギアケースの内周面および前記ガイド部の外周面のうちの一方に係合凹部を備えるとともに、
前記ギアケースの内周面および前記ガイド部の外周面のうちの他方に前記係合凹部に嵌入して前記ガイド部の回転を阻止する係合凸部を備えた
請求項1または2に記載の電動弁。
【請求項4】
前記ガイド部は、前記ギアケース内にインサート成形により備えられている
請求項1または2に記載の電動弁。
【請求項5】
前記伝達機構は、
前記出力軸の回転を受けて回転し且つ前記出力軸に対して進退動可能に備えられ、外周面に雄ねじ部を有する、ねじ駆動部材と、
前記ねじ駆動部材の雄ねじ部と螺合する雌ねじ部を有する軸受部材と、
を含み、
前記電動弁は、
前記ギアケースの下部に収容されるとともに前記ねじ駆動部材に固定されて当該ねじ駆動部材と一緒に回転する駆動永久磁石と、
磁気カップリングにより前記駆動永久磁石に結合されて前記駆動永久磁石から回転力が伝達されるように前記ギアケースの下部外周面の外側に配置された従動永久磁石と、
前記従動永久磁石の回転を検出する磁気センサと、
をさらに備えている
請求項1または2に記載の電動弁。
発明の詳細な説明
【技術分野】
【0001】
本発明は、電動弁に係り、特に、電動機の回転を減速するギア部の構造に関する。
続きを表示(約 1,000 文字)
【背景技術】
【0002】
ステッピングモータ等の電動機を使用して弁の開度を制御する電動弁が空気調和機や冷蔵装置、冷凍装置など冷媒回路を備えた冷凍サイクル装置に従来から使用されており、このような電動弁の一つとして、電動機の回転を減速する歯車装置を備えたギア式の電動弁がある。
【0003】
かかる電動弁は、弁体を駆動する電動機と、電動機の回転を減速する歯車装置と、歯車装置により減速された回転を出力する出力軸と、出力軸の回転を直線運動に変換して弁体に伝える伝達機構を備え、流路上に形成したオリフィスに対して弁体を進退動させることにより流体の流量を制御する。
【0004】
また、このようなギア式電動弁に関する発明を開示する文献として下記特許文献1がある。
【先行技術文献】
【特許文献】
【0005】
特開2009-228889号公報
【発明の概要】
【発明が解決しようとする課題】
【0006】
ところで、上記特許文献1記載の発明は、電動弁の組立性を向上させ、回転試験や評価を可能とすることで電動弁の信頼性を高めるものではあるものの、これらの点で更なる改良の余地を残している。
【0007】
具体的には、前記特許文献1記載の発明では、歯車装置を構成するギアをユニット化したギアアッセンブリ(ギアモジュール)を予め作製しておき、これを電動弁へ組み付けるようにすることで製造時の組立性を向上させている。
【0008】
ところが、当該ギアアッセンブリは、歯車装置を構成するすべてのギアが組み込まれているわけではなく、製造時には更なるギア(太陽ギア)の組み込み作業が必要となる。
【0009】
また、信頼性向上の点でも、特許文献1記載の電動弁は、上述のように歯車装置のすべての歯車を備えていないこと、ならびに、歯車装置により減速された回転を出力する出力軸を備えているがこの出力軸がガイド部によって支えられていないことから、ギアアッセンブリの状態では歯車装置全体としての動作確認や減速比の測定・確認などの試験を行うことが出来ない。
【0010】
したがって、本発明の目的は、ギア式電動弁の組立性をより一層向上させるとともに、歯車装置全体としての試験を可能とすることにより電動弁の信頼性をさらに高めることを可能とする点にある。
【課題を解決するための手段】
(【0011】以降は省略されています)
この特許をJ-PlatPat(特許庁公式サイト)で参照する
関連特許
株式会社不二工機
電動弁
1日前
株式会社不二工機
電磁弁
1か月前
株式会社不二工機
流路切換弁
1か月前
株式会社不二工機
流路切換弁
1か月前
株式会社不二工機
電気的駆動弁
1か月前
株式会社不二工機
弁ユニットおよび弁装置
19日前
株式会社不二工機
流路切換弁及び流路切換弁の製造方法
1か月前
株式会社不二工機
電動弁制御装置および電動弁装置、ならびに電動弁の負荷検出方法
20日前
個人
鍋虫ねじ
1か月前
個人
ホース保持具
5か月前
個人
紛体用仕切弁
1か月前
個人
回転伝達機構
2か月前
個人
差動歯車用歯形
3か月前
個人
トーションバー
6か月前
個人
給排気装置
1日前
個人
ジョイント
19日前
株式会社不二工機
電磁弁
3か月前
個人
ボルトナットセット
6か月前
個人
ナット
20日前
個人
回転式配管用支持具
7か月前
個人
地震の揺れ回避装置
2か月前
株式会社不二工機
電磁弁
4か月前
個人
吐出量監視装置
1か月前
株式会社オンダ製作所
継手
8か月前
株式会社ミクニ
弁装置
8か月前
カヤバ株式会社
ダンパ
3か月前
カヤバ株式会社
緩衝器
6か月前
個人
ベルトテンショナ
7か月前
カヤバ株式会社
ダンパ
3か月前
カヤバ株式会社
緩衝器
3か月前
柿沼金属精機株式会社
分岐管
1か月前
カヤバ株式会社
緩衝器
3か月前
株式会社ミクニ
弁装置
8か月前
カヤバ株式会社
緩衝器
今日
株式会社三協丸筒
枠体
6か月前
個人
角型菅の連結構造及び工法
7か月前
続きを見る
他の特許を見る