TOP
|
特許
|
意匠
|
商標
特許ウォッチ
Twitter
他の特許を見る
10個以上の画像は省略されています。
公開番号
2025165655
公報種別
公開特許公報(A)
公開日
2025-11-05
出願番号
2024069857
出願日
2024-04-23
発明の名称
アンテナ取付構造、データ通信システム、及びアンテナ取付方法
出願人
株式会社クボタ
代理人
安田岡本弁理士法人
主分類
H01Q
1/22 20060101AFI20251028BHJP(基本的電気素子)
要約
【課題】地下設備の内部のアンテナによる外部との電波の通信状態の調整自由度を高める。
【解決手段】縦穴状の地下設備の上開口部を閉塞する金属製の蓋の裏面に、当該地下設備内に設置された通信装置と接続されたアンテナを取り付けるアンテナ取付構造であって、アンテナを蓋と電気的に接続する接続部と、接続部と蓋との接続位置に対するアンテナの設置位置を前記蓋の裏面と水平な方向に変更可能とする位置変更部と、を備える。前記位置変更部は、前記蓋の裏面に固定されるガイドレールと、前記アンテナに設けられ且つ前記ガイドレールに沿って移動可能なスライダと、を有する。
【選択図】図1
特許請求の範囲
【請求項1】
縦穴状の地下設備の上開口部を閉塞する金属製の蓋の裏面に、当該地下設備内に設置された通信装置と接続されたアンテナを取り付けるアンテナ取付構造であって、
前記アンテナを前記蓋と電気的に接続する接続部と、
前記接続部と前記蓋との接続位置に対する前記アンテナの設置位置を前記蓋の裏面と水平な方向に変更可能とする位置変更部と、
を備えるアンテナ取付構造。
続きを表示(約 1,100 文字)
【請求項2】
前記位置変更部は、
前記蓋の裏面に固定されるガイドレールと、
前記アンテナに設けられ且つ前記ガイドレールに沿って移動可能なスライダと、
を有する請求項1に記載のアンテナ取付構造。
【請求項3】
前記位置変更部は、
前記蓋の裏面に固定され且つ複数の孔が形成された多孔板と、
前記アンテナに設けられ且つ前記複数の前記孔のうち、選択された少なくとも一つの孔に前記アンテナを固定可能な第1固定部と、
を有する請求項1に記載のアンテナ取付構造。
【請求項4】
前記位置変更部は、少なくとも1つの関節が設けられ且つ、一端が前記蓋の裏面に固定され且つ、他端に前記アンテナが固定されるアームを有する請求項1に記載のアンテナ取付構造。
【請求項5】
前記位置変更部は、前記アンテナを絶縁状態で前記蓋の裏面に固定可能な第2固定部を含む請求項1に記載のアンテナ取付構造。
【請求項6】
請求項1~5のいずれかに記載のアンテナ取付構造と、
前記通信装置と、
前記通信装置から出力されたデータを電波として放射するアンテナと、
を含むデータ通信システム。
【請求項7】
前記地下設備内に設置され且つ監視対象の状態を検出するセンサと、
前記センサが検出したデータを管理するサーバと、
を含み、
前記通信装置は、前記センサにより検出したデータを前記アンテナにより前記サーバに送信する請求項6に記載のデータ通信システム。
【請求項8】
縦穴状の地下設備の上開口部を閉塞する金属製の蓋の裏面に、当該地下設備内に設置された通信装置と接続されたアンテナを取り付けるアンテナ取付方法であって、
前記蓋の裏面を露出させた状態で、請求項1~5のいずれかに記載のアンテナ取付構造によって前記蓋の裏面に前記アンテナを固定し且つ、前記アンテナ取付構造に備わる前記接続部によって前記アンテナと前記蓋とを電気的に接続する固定工程と、
前記上開口部を閉塞した状態で、前記アンテナから電波を放射させる放射工程と、
前記アンテナの電波強度を地上の端末装置に表示させる表示工程と、
前記蓋の裏面を露出させた状態で、前記アンテナ取付構造に備わる前記位置変更部によって、前記接続部と前記蓋との接続位置に対する前記アンテナの設置位置を、前記電波強度に基づいて変更する変更工程と、
を備えたアンテナ取付方法。
発明の詳細な説明
【技術分野】
【0001】
本発明は、地下設備の内部と外部との間で通信するためのアンテナを、地下設備の蓋の裏側に取り付ける技術に関する。
続きを表示(約 2,500 文字)
【背景技術】
【0002】
例えば地下設備内の上下水道などの状態を監視するため、地下設備内にセンサとデータ伝送装置を設置し、センサにより検出した監視対象の状態を示すデータを、データ伝送装置に接続されたアンテナから電波として地上の各種装置に伝送する技術が知られている。例えば特許文献1に開示された技術では、アンテナによる通信性能を向上させるため、地下設備であるマンホールの金属製の蓋の裏面にアンテナの基部を永久磁石によって取り付けることで、アンテナを蓋に密着させて、アンテナだけでなく蓋からも電磁界を生じさせ、蓋の表面を仮想的なアンテナとして機能させている。
【先行技術文献】
【特許文献】
【0003】
実用新案登録3234984号公報
【発明の概要】
【発明が解決しようとする課題】
【0004】
地下設備の蓋の裏面にアンテナを取り付ける場合、地下設備内でアンテナが電磁波を放射する位置と、アンテナからの電磁波が蓋に伝達される位置とによって、地下設備外への電波の放射状態が変化するため、それら各位置を変えて電波の放射状態を適宜調整したいという要望がある。また、上記各位置を変えて、アンテナによる電波の受信状態を適宜調整したいという要望もある。しかし、特許文献1に開示されているような従来のアンテナ取付構造では、アンテナの取付位置が変更されることに伴って、アンテナからの電磁波が蓋に伝達される位置も変更されるので、地下設備外への電波の放射状態と地下設備内での電波の受信状態といった通信状態を調整する自由度が低く、当該通信状態が良好になるようにアンテナを取り付けることが難しい。
【0005】
本発明は、上記問題点を解決すべくなされたものであって、地下設備の内部のアンテナによる外部との電波の通信状態の調整自由度を高めることを目的とする。
【課題を解決するための手段】
【0006】
本発明の一様態に係るアンテナ取付構造は、縦穴状の地下設備の上開口部を閉塞する金属製の蓋の裏面に、当該地下設備内に設置された通信装置と接続されたアンテナを取り付けるアンテナ取付構造であって、アンテナを前記蓋と電気的に接続する接続部と、接続部と蓋との接続位置に対するアンテナの設置位置を蓋の裏面と水平な方向に変更可能とする位置変更部と、を備える。また、本発明の一様態に係るデータ通信システムは、前記アンテナ取付構造と、前記通信装置と、前記通信装置から出力されたデータを電波として放射する前記アンテナと、を含む。
【0007】
本発明の一様態に係るアンテナ取付方法は、縦穴状の地下設備の上開口部を閉塞する金属製の蓋の裏面に、当該地下設備内に設置された通信装置と接続されたアンテナを取り付けるアンテナ取付方法であって、蓋の裏面を露出させた状態で、アンテナ取付構造によって蓋の裏面にアンテナを固定し且つ、アンテナ取付構造に備わる接続部によってアンテナと蓋とを電気的に接続する固定工程と、上開口部を閉塞した状態で、アンテナから電波を放射させる放射工程と、アンテナの電波強度を地上の端末装置に表示させる表示工程と、蓋の裏面を露出させた状態で、アンテナ取付構造に備わる位置変更部によって、接続部と蓋との接続位置に対する前記アンテナの設置位置を、電波強度に基づいて変更する変更工程と、を備える。
【発明の効果】
【0008】
本発明によれば、地下設備の内部のアンテナによる外部との電波の通信状態の調整自由度を高めることができる。
【図面の簡単な説明】
【0009】
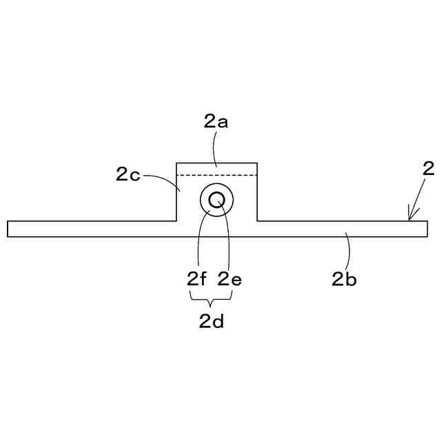
地下設備及びアンテナ取付構造の一例を側方から見た状態を示す模式図である。
地下設備の上開口部が解放された状態(開かれた状態)を示す図である。
台座の連結部の近傍を拡大して示す模式図である。
連結部に設けられた保持部を示す模式図である。
台座の一例の底面図である。
台座の他例の底面図である。
台座の他例の底面図である。
台座の他例の底面図である。
台座の他例の底面図である。
台座の位置変更部へのアンテナの非固定状態を示す図である。
台座の位置変更部へのアンテナの固定状態を示す図である。
図4Eに示す台座のガイドレールへのアンテナの固定状態を示す図である。
他の例の台座を用いたアンテナ取付構造を側方から見た模式図である。
図6Aの台座を下方から見た図である。
地下設備の深さ方向に伸縮可能な連結部が収縮した状態を示す図である。
地下設備の深さ方向に伸縮可能な連結部が伸長した状態を示す図である。
他の例のアンテナ取付構造を側方から見た模式図である。
図8Aのアンテナ固定部材の周辺の拡大図である。
本発明の一実施形態におけるデータ通信システムの構成図である。
通信装置がサーバに送信するデータに含まれる情報の一例を示す図である。
サーバのデータベースに格納されたデータの一例をテーブル形式で示す図である。
端末装置に表示される監視画面の一例を示す図である。
本発明の一実施形態におけるデータ通信システムの運用時のシーケンス図である。
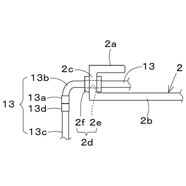
アンテナの取付方法の一例を説明するための図である。
アンテナの取付方法の他例を説明するための図である。
アンテナの取付方法の他例を説明するための図である。
アンテナの取付方法の他例を説明するための図である。
端末装置に表示される測定画面の一例を示す図である。
変更工程の詳細手順を示す図である。
【発明を実施するための形態】
【0010】
以下、本発明の一実施形態について、図面を参照しながら説明する。
(【0011】以降は省略されています)
この特許をJ-PlatPat(特許庁公式サイト)で参照する
関連特許
株式会社クボタ
作業車
1か月前
株式会社クボタ
作業車
1か月前
株式会社クボタ
作業車
1か月前
株式会社クボタ
作業車
1か月前
株式会社クボタ
作業車
1か月前
株式会社クボタ
作業機
1か月前
株式会社クボタ
作業車
1か月前
株式会社クボタ
作業車
1か月前
株式会社クボタ
作業車
26日前
株式会社クボタ
移植機
1か月前
株式会社クボタ
作業車
24日前
株式会社クボタ
作業車
1か月前
株式会社クボタ
移植機
1か月前
株式会社クボタ
作業機
18日前
株式会社クボタ
作業車
1か月前
株式会社クボタ
作業車
24日前
株式会社クボタ
作業車
2か月前
株式会社クボタ
作業車
2か月前
株式会社クボタ
作業車
2か月前
株式会社クボタ
作業車
10日前
株式会社クボタ
作業車両
2か月前
株式会社クボタ
作業車両
1か月前
株式会社クボタ
作業車両
1か月前
株式会社クボタ
農業機械
10日前
株式会社クボタ
作業車両
24日前
株式会社クボタ
作業車両
24日前
株式会社クボタ
作業車両
1か月前
株式会社クボタ
作業車両
1か月前
株式会社クボタ
作業車両
2か月前
株式会社クボタ
豆類選別機
1か月前
株式会社クボタ
多目的車両
1か月前
株式会社クボタ
多目的車両
1か月前
株式会社クボタ
多目的車両
1か月前
株式会社クボタ
豆類選別機
1か月前
株式会社クボタ
多目的車両
1か月前
株式会社クボタ
ガスケット
1か月前
続きを見る
他の特許を見る