TOP
|
特許
|
意匠
|
商標
特許ウォッチ
Twitter
他の特許を見る
10個以上の画像は省略されています。
公開番号
2025168536
公報種別
公開特許公報(A)
公開日
2025-11-07
出願番号
2025147307,2022084660
出願日
2025-09-05,2022-05-24
発明の名称
脚部継手および排水配管構造
出願人
株式会社クボタケミックス
代理人
安田岡本弁理士法人
主分類
E03C
1/12 20060101AFI20251030BHJP(上水;下水)
要約
【課題】少ない部品点数で、かつ、施工現場における施工時間を短くすることのできる最下層用の脚部継手を提供する。
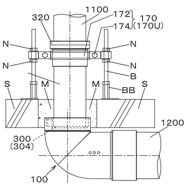
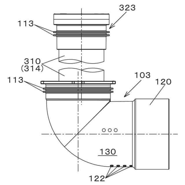
【解決手段】脚部継手100は、最下層の床スラブSの上面よりも上方にて立て管1100に接続される立て管接続部材320を上端に備えた略円筒形状の接続部材310が接続される立て管接続部110と、横主管1200と接続される横管接続部120と、立て管接続部110の管軸方向と横管接続部120の管軸方向とが直交するように方向転換して立て管接続部110および横管接続部120を連結する曲管状のベンド部130とを備える本体部101を含む。脚部継手100は、この本体部101に加えて、上述した立て管接続部材320と、上述した接続部材310とをさらに含み、これらは接着接合部で一体化され、接続部材310が最下層の床スラブSに埋設される部分を備える。
【選択図】図1
特許請求の範囲
【請求項1】
複数層を有する建物の排水設備において、各層を貫いて配管された立て管の下流側の端部と、最下層の床スラブの下にて横方向に配管された横主管の上流側の端部とを接続する、前記横主管側よりも前記立て管側の管路が長い樹脂製の最下層用の脚部継手であって、前記脚部継手は複数の部材から構成されるとともに前記複数の部材は接着接合部で一体化され、
前記脚部継手は、
前記床スラブの上面よりも上方にて前記立て管に接続される立て管接続部材を上端に備えた略円筒形状の接続部材が接続される立て管接続部と、前記横主管と接続される横管接続部と、前記立て管接続部の管軸方向と前記横管接続部の管軸方向とが直交するように方向転換して前記立て管接続部および前記横管接続部を連結する曲管状のベンド部とを備える本体部と、
前記立て管接続部材と、
前記接続部材と、を含み、
前記接続部材が、前記最下層の床スラブに埋設される部分を備えることを特徴とする脚部継手。
続きを表示(約 1,000 文字)
【請求項2】
前記立て管接続部および前記立て管接続部材の少なくともいずれかが、前記接続部材に加えて前記最下層の床スラブに埋設される部分を備えることを特徴とする、請求項1に記載の脚部継手。
【請求項3】
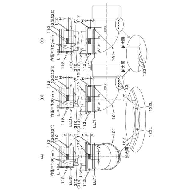
前記床スラブの厚みが100mm以上の場合において、前記立て管接続部材の上端面と前記床スラブの下面との距離が150mm以上になることを特徴とする、請求項1に記載の脚部継手。
【請求項4】
前記立て管接続部と前記接続部材とは、前記床スラブの上面よりも下方にて、略円環形状の立て管受口を介して接続されることを特徴とする、請求項1に記載の脚部継手。
【請求項5】
前記立て管受口は、前記略円環形状の内周側の下端に突起を備えることを特徴とする、請求項4に記載の脚部継手。
【請求項6】
前記立て管受口は、前記立て管の管芯を、前記横管接続部に接近または離隔させて偏芯させることを特徴とする、請求項4に記載の脚部継手。
【請求項7】
前記立て管接続部よりも上方に位置する部材は、透明樹脂で形成されていることを特徴とする、請求項1に記載の脚部継手。
【請求項8】
前記立て管接続部材と前記接続部材とは、接続部材として一体で形成されている、または、別体で形成されていることを特徴とする、請求項1に記載の脚部継手。
【請求項9】
前記本体部における前記立て管接続部の外周面、前記接続部材の外周面および前記立て管接続部材の外周面の少なくとも1箇所には、その周方向の少なくとも一部に、前記脚部継手を前記床スラブの下面から吊り下げて支持する吊り下げ支持部材、または、前記脚部継手を前記床スラブの上面から持ち上げて支持する持ち上げ支持部材が当接して設けられる上部突起部を備えることを特徴とする、請求項1に記載の脚部継手。
【請求項10】
前記本体部における前記横管接続部の外周面に、その周方向における下半分の少なくとも一部に、前記脚部継手を床スラブの下面から吊り下げて支持する吊り下げ支持部材、または、前記脚部継手を下方から持ち上げて支持する下方支持部材が当接して設けられる下
部突起部を備えることを特徴とする、請求項1に記載の脚部継手。
(【請求項11】以降は省略されています)
発明の詳細な説明
【技術分野】
【0001】
本発明は、複数層を有する建物の排水設備において、各層を貫いて配管された立て管の下流側の端部と、最下層の床スラブの下にて横方向に配管された横主管の上流側の端部とを接続する樹脂製の脚部継手に関し、特に、床スラブの上方において鉛直方向にのみ配管が接続された床スラブの下に施工される、部品点数が少なく施工作業の短縮化を実現することのできる脚部継手および排水配管構造に関する。
続きを表示(約 2,800 文字)
【背景技術】
【0002】
高層マンション等の複数層を有する建物の排水設備では、各層を貫いて配管された排水立て管系統に各層の排水を合わせて流下させ、最下層の床スラブの下にて横方向に配管された排水横主管で屋外へ導く。そこで、排水立て管系統の下端部を排水横主管の上流側の端部に接続するために、縦方向から横方向へと円弧状に曲がった脚部継手が用いられている。
【0003】
このような脚部継手を用いた排水配管構造であって、コストの上昇を抑えつつ最下階スラブのスラブ厚に応じて配管の納まりを向上させるとともに、施工管理を容易にする排水配管構造が、特開2019-073969号公報(特許文献1)に開示されている。この特許文献1に開示された排水配管構造は、最下階スラブに設けられる排水配管構造であって、最下階スラブの上側に配置される横枝管と接続可能な枝管接続部と、当該枝管接続部よりも下側に形成された、下方に延びる円筒状の下側接続部と、を有する集合継手と、最下階スラブの下側に配置される横主管と接続される曲管状の脚部継手と、少なくとも一部が最下階スラブに埋設されて上記下側接続部と上記脚部継手とを接続する、外形がストレート形状の接続縦管と、上記下側接続部を挿入可能な上側受口部と、上記接続縦管の上端部を挿入可能な下側受口部と、を有する接続継手と、を備え、上記接続縦管の上端部が挿入された上記下側受口部が上記最下階スラブに埋設されているとともに、少なくとも一部が最下階スラブの上面以上に突出した上記上側受口部に、上記下側接続部が挿入されていることを特徴とする。
【0004】
この排水配管構造によると、集合継手の下側接続部と脚部継手とを、直接接続するのではなく、接続縦管を介して接続することから、最下階スラブのスラブ厚が薄い場合には短い接続縦管を用意し、最下階スラブのスラブ厚が厚い場合には長い接続縦管を用意することで、最下階スラブのスラブ厚に応じた排水配管構造を実現することができる。すなわち、この排水配管構造によれば、最下階スラブのスラブ厚が変わっても特殊品の集合継手を製造する必要がないので、製造コストの上昇を抑えつつ最下階スラブのスラブ厚に応じて配管の納まりを向上させることができる。
【先行技術文献】
【特許文献】
【0005】
特開2019-073969号公報
【発明の概要】
【発明が解決しようとする課題】
【0006】
しかしながら、特許文献1に開示された最下階を対象として集合継手の下側接続部と脚部継手とを接続継手および接続縦管を介して接続するが、そもそも最下階の床スラブの上方において横枝管と接続しない場合には立て管と脚部継手を接続する(床スラブの上方において鉛直方向にのみ配管が存在する)ことになるが、特許文献1に開示された排水配管構造は床スラブの上方に集合継手を配置する構成を必須としているために、集合継手の横
枝管接続部が不要となるために横枝管接続部に蓋をする必要があるという問題点がある。また、集合継手を採用すると部品点数が多くなるという問題点もある。さらに、特許文献1に開示された排水配管構造は、集合継手、接続縦管、接続継手および脚部継手を施工現場に搬入して、(1)接続縦管を最適な長さに切断して、(2)切断した接続縦管を脚部継手と接着接合して、(3)脚部継手と接着接合した接続縦管の逆端を接続継手と接着接合して、(4)脚部継手を横主管と接着接合して、(5)接続縦管と接着接合した接続継手の逆端を集合継手と接着接合して、排水配管構造の施工が完了する。すなわち、施工現場で、接続縦管を切断しなければならないことに加えて、4箇所も接着接合しなければならないために、施工時間が長くなるという問題点がある。
【0007】
本発明は、上述の問題点に鑑みて開発されたものであり、その目的とするところは、少ない部品点数で、かつ、施工現場における施工時間を短くすることのできる最下階用の脚部継手および排水配管構造を提供することである。
【課題を解決するための手段】
【0008】
上記目的を達成するため、本発明に係る脚部継手は以下の技術的手段を講じている。
本発明のある局面に係る脚部継手は、複数層を有する建物の排水設備において、各層を貫いて配管された立て管の下流側の端部と、最下層の床スラブの下にて横方向に配管された横主管の上流側の端部とを接続する、前記横主管側よりも前記立て管側の管路が長い樹脂製の最下層用の脚部継手であって、前記脚部継手は複数の部材から構成されるとともに前記複数の部材は接着接合部で一体化され、前記脚部継手は、前記床スラブの上面よりも上方にて前記立て管に接続される立て管接続部材を上端に備えた略円筒形状の接続部材が接続される立て管接続部と、前記横主管と接続される横管接続部と、前記立て管接続部の管軸方向と前記横管接続部の管軸方向とが直交するように方向転換して前記立て管接続部および前記横管接続部を連結する曲管状のベンド部とを備える本体部と、前記立て管接続部材と、前記接続部材と、を含み、前記接続部材が、前記最下層の床スラブに埋設される部分を備えることを特徴とする。
【0009】
好ましくは、前記立て管接続部および前記立て管接続部材の少なくともいずれかが、前記接続部材に加えて前記最下層の床スラブに埋設される部分を備えるように構成することができる。
さらに好ましくは、前記床スラブの厚みが100mm以上の場合において、前記立て管接続部材の上端面と前記床スラブの下面との距離が150mm以上になるように構成することができる。
さらに好ましくは、前記立て管接続部と前記接続部材とは、前記床スラブの上面よりも下方にて、略円環形状の立て管受口を介して接続されるように構成することができる。
【0010】
さらに好ましくは、前記立て管受口は、前記略円環形状の内周側の下端に突起を備えるように構成することができる。
さらに好ましくは、前記立て管受口は、前記立て管の管芯を、前記横管接続部に接近または離隔させて偏芯させるように構成することができる。
さらに好ましくは、前記立て管接続部よりも上方に位置する部材は、透明樹脂で形成されているように構成することができる。
さらに好ましくは、前記立て管接続部材と前記接続部材とは、接続部材として一体で形成されている、または、別体で形成されているように構成することができる。
(【0011】以降は省略されています)
この特許をJ-PlatPat(特許庁公式サイト)で参照する
関連特許
丸一株式会社
排水配管部材
18日前
個人
ドクター中まミズつクル
2か月前
TOTO株式会社
トイレ装置
2か月前
株式会社田中設備
蓋体
1か月前
一文機工株式会社
トイレ装置
23日前
TOTO株式会社
排水システム
1か月前
TOTO株式会社
排水システム
1か月前
タイガースポリマー株式会社
側溝
2か月前
ミサワホーム株式会社
外構
1か月前
株式会社KVK
水栓
1か月前
TOTO株式会社
トイレ装置
2か月前
管清工業株式会社
管路内調査装置
2日前
ホーコス株式会社
床置型グリース阻集器
2か月前
管清工業株式会社
管路内調査装置
2日前
クリナップ株式会社
キッチン
1か月前
株式会社Deto
吐水器
1か月前
共立製薬株式会社
小便器用排水システム
17日前
株式会社ファイン工業
透水性蓋の製造方法
2日前
飛島建設株式会社
仮設壁の構築方法
1か月前
株式会社LIXIL
便器装置
2か月前
株式会社タカギ
水栓
2か月前
株式会社タカギ
水栓
2か月前
新明和工業株式会社
吸引車
2か月前
積水化学工業株式会社
継手
2か月前
株式会社タカギ
吐水装置
2か月前
TOTO株式会社
トイレシステム及びトイレ装置
1か月前
積水化学工業株式会社
配管構造
1か月前
廈門迪芬奇厨衛有限公司
適応切替式スマートトイレ
2か月前
積水化学工業株式会社
集合継手
1か月前
株式会社LIXIL
洗浄水タンク装置
2か月前
積水化学工業株式会社
集合継手
2か月前
因幡電機産業株式会社
排水トラップ
2か月前
積水化学工業株式会社
集合継手
2か月前
TOTO株式会社
水栓装置
2か月前
TOTO株式会社
水栓装置
2か月前
株式会社オカグレート
グレーチング及びその製造方法
1か月前
続きを見る
他の特許を見る