TOP
|
特許
|
意匠
|
商標
特許ウォッチ
Twitter
他の特許を見る
10個以上の画像は省略されています。
公開番号
2025149229
公報種別
公開特許公報(A)
公開日
2025-10-08
出願番号
2024049736
出願日
2024-03-26
発明の名称
コンバイン
出願人
株式会社クボタ
代理人
弁理士法人R&C
主分類
A01F
12/50 20060101AFI20251001BHJP(農業;林業;畜産;狩猟;捕獲;漁業)
要約
【課題】袋詰め型式のコンバインにおいて、満杯の穀粒袋が取り出される際に、穀粒が穀粒袋からコボレ出ることを少なくする。
【解決手段】穀粒貯留部7の下部の開閉可能な排出口と、穀粒貯留部7の下方に設けられて、穀粒袋を排出口の下方の位置に保持可能、且つ、排出口の下方の位置からの穀粒袋の取り出しを許容する袋保持部36とが備えられている。排出口から下方に向けて延出されて、排出口から出る穀粒を穀粒袋の内部に案内可能な整流部21が備えられている。整流部21は、穀粒袋の取り出しによる穀粒袋との接触により変形又は変位可能である。
【選択図】図3
特許請求の範囲
【請求項1】
脱穀処理された穀粒が供給され、穀粒を貯留可能な穀粒貯留部と、
前記穀粒貯留部の下部に設けられ、開閉可能な排出口と、
前記穀粒貯留部の下方に設けられ、穀粒袋を前記排出口の下方の位置に保持可能、且つ、前記排出口の下方の位置からの前記穀粒袋の取り出しを許容する袋保持部と、
前記排出口から下方に向けて延出され、前記排出口から出る穀粒を前記穀粒袋の内部に案内可能な整流部とが備えられ、
前記整流部は、前記穀粒袋の取り出しによる前記穀粒袋との接触により変形又は変位可能であるコンバイン。
続きを表示(約 690 文字)
【請求項2】
前記整流部は、前記穀粒袋の穀粒が前記整流部に接触することにより変形又は変位可能である請求項1に記載のコンバイン。
【請求項3】
前記整流部は、前記排出口の下方の位置の前記穀粒袋の開口部に挿入される部分を有している請求項1に記載のコンバイン。
【請求項4】
前記整流部は、前記排出口の下方の領域に対向する案内部分と、前記排出口の下方の領域を外方に向けて開放する開放部分とを有している請求項1に記載のコンバイン。
【請求項5】
前記案内部分は、板状であり、板厚方向に変形又は変位可能である請求項4に記載のコンバイン。
【請求項6】
一対の前記案内部分が、前記排出口の下方の領域を間に挟んで対向して設けられ、
一対の前記案内部分以外の部分が、前記開放部分である請求項4に記載のコンバイン。
【請求項7】
一対の前記案内部分は、前記袋保持部における前記穀粒袋の取り出しを許容する方向に沿って並べて設けられている請求項6に記載のコンバイン。
【請求項8】
一対の前記案内部分のうちの少なくとも一方が、前記排出口の下方の位置の前記穀粒袋の開口部に挿入される部分である請求項6又は7に記載のコンバイン。
【請求項9】
前記整流部は、変形可能な樹脂部材により形成されている請求項1に記載のコンバイン。
【請求項10】
前記整流部は、透明な部材により形成されている請求項1に記載のコンバイン。
(【請求項11】以降は省略されています)
発明の詳細な説明
【技術分野】
【0001】
本発明は、収穫され脱穀処理された穀粒を穀粒袋に詰める袋詰め型式のコンバインに関する。
続きを表示(約 1,400 文字)
【背景技術】
【0002】
袋詰め型式のコンバインの一例が、特許文献1に開示されている。
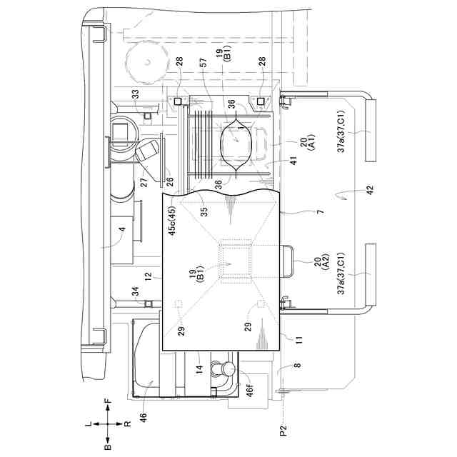
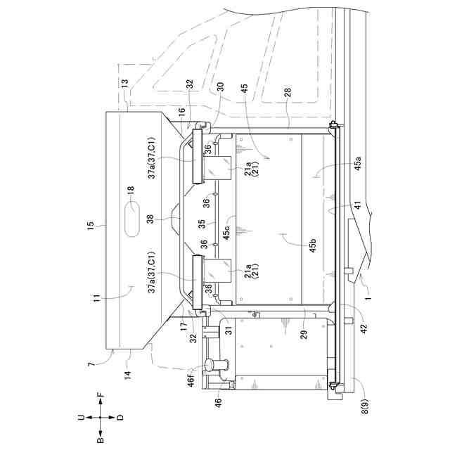
特許文献1では、脱穀処理された穀粒が、穀粒貯留部に供給されて貯留される。袋保持部が穀粒貯留部の下方に設けられ、穀粒吐出筒が穀粒貯留部の下部の排出口から下方に向けて延出されている。
【0003】
作業者は、袋保持部に保持された空の穀粒袋を、穀粒貯留部の排出口及び穀粒吐出筒の下方に位置させ、穀粒貯留部の排出口を開操作して、穀粒貯留部の穀粒を排出口から穀粒吐出筒を通して穀粒袋の内部に供給する。
作業者は、穀粒袋が満杯になると、穀粒貯留部の排出口を閉操作して、穀粒袋を袋保持部に沿って移動させて取り出し、穀粒袋の開口部を閉操作して、穀粒袋を圃場に落とす。コンバインによる作物の刈り取り及び脱穀と並行して、作業者は以上の袋詰め作業を繰り返す。
【先行技術文献】
【特許文献】
【0004】
特開2010-246505号公報(図1の12,13を参照)
【発明の概要】
【発明が解決しようとする課題】
【0005】
満杯の穀粒袋が袋保持部に沿って移動されて取り出される場合、穀粒袋の開口部が穀粒吐出筒に接触することがある。穀粒袋の開口部が穀粒吐出筒に接触すると、穀粒吐出筒により穀粒袋の開口部がさらに開かれることがあり、このときに穀粒が穀粒袋からコボレ出ることがあるので、改善の余地がある。
【0006】
本発明は、袋詰め型式のコンバインにおいて、満杯の穀粒袋が取り出される際に、穀粒が穀粒袋からコボレ出ることを少なくすることを目的としている。
【課題を解決するための手段】
【0007】
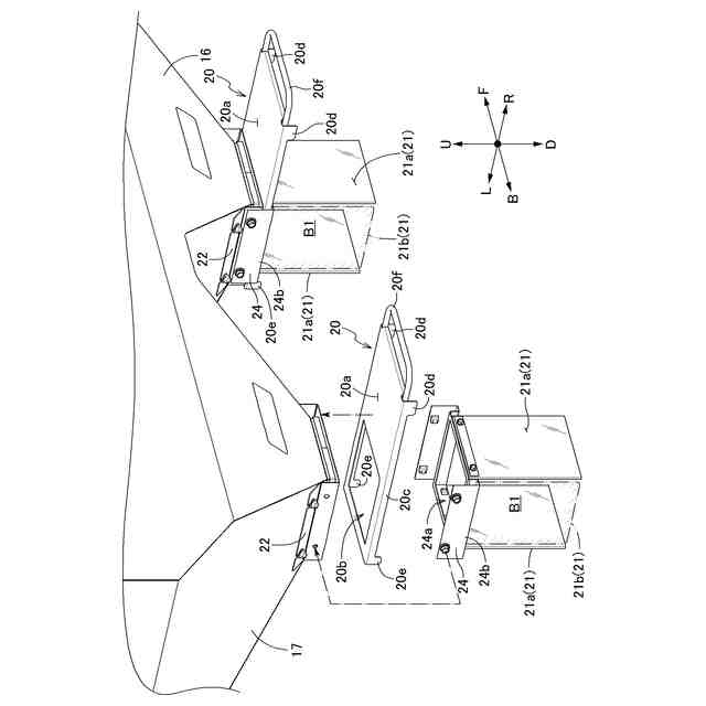
本発明のコンバインは、脱穀処理された穀粒が供給され、穀粒を貯留可能な穀粒貯留部と、前記穀粒貯留部の下部に設けられ、開閉可能な排出口と、前記穀粒貯留部の下方に設けられ、穀粒袋を前記排出口の下方の位置に保持可能、且つ、前記排出口の下方の位置からの前記穀粒袋の取り出しを許容する袋保持部と、前記排出口から下方に向けて延出され、前記排出口から出る穀粒を前記穀粒袋の内部に案内可能な整流部とが備えられ、前記整流部は、前記穀粒袋の取り出しによる前記穀粒袋との接触により変形又は変位可能である。
【0008】
本発明によると、作業者は、袋保持部に保持された空の穀粒袋を、穀粒貯留部の排出口及び整流部の下方に位置させ、穀粒貯留部の排出口を開操作して、穀粒貯留部の穀粒を排出口から整流部を介して穀粒袋の内部に供給する。
作業者は、穀粒袋が満杯になると、穀粒貯留部の排出口を閉操作して、穀粒袋を袋保持部に沿って移動させて取り出す。
【0009】
本発明によると、満杯の穀粒袋が取り出される場合、穀粒袋の開口部が整流部に接触すると、整流部は穀粒袋の取り出しに伴って変形又は変位するので、整流部により穀粒袋の開口部がさらに開かれたりすることは少ない。
これにより、満杯の穀粒袋が取り出される際に、穀粒が穀粒袋からコボレ出ることが少なくなるので、穀粒の回収効率を向上させることができる。
【0010】
本発明において、前記整流部は、前記穀粒袋の穀粒が前記整流部に接触することにより変形又は変位可能であると好適である。
(【0011】以降は省略されています)
この特許をJ-PlatPat(特許庁公式サイト)で参照する
関連特許
株式会社クボタ
作業機
今日
株式会社クボタ
作業車
13日前
株式会社クボタ
作業車
28日前
株式会社クボタ
作業車
28日前
株式会社クボタ
作業車
21日前
株式会社クボタ
作業車
21日前
株式会社クボタ
移植機
21日前
株式会社クボタ
移植機
21日前
株式会社クボタ
作業車
20日前
株式会社クボタ
作業車
20日前
株式会社クボタ
作業車
14日前
株式会社クボタ
作業車
13日前
株式会社クボタ
作業車
28日前
株式会社クボタ
作業車
7日前
株式会社クボタ
作業車
8日前
株式会社クボタ
作業車両
1日前
株式会社クボタ
作業車両
28日前
株式会社クボタ
作業車両
13日前
株式会社クボタ
作業車両
13日前
株式会社クボタ
作業車両
28日前
株式会社クボタ
作業車両
14日前
株式会社クボタ
ガスケット
21日前
株式会社クボタ
多目的車両
23日前
株式会社クボタ
豆類選別機
23日前
株式会社クボタ
豆類選別機
23日前
株式会社クボタ
豆類選別機
23日前
株式会社クボタ
豆類選別機
23日前
株式会社クボタ
豆類選別機
23日前
株式会社クボタ
豆類選別機
23日前
株式会社クボタ
多目的車両
23日前
株式会社クボタ
多目的車両
10日前
株式会社クボタ
多目的車両
20日前
株式会社クボタ
多目的車両
20日前
株式会社クボタ
電動作業車
8日前
株式会社クボタ
多目的車両
20日前
株式会社クボタ
作業車及び座席
22日前
続きを見る
他の特許を見る