TOP
|
特許
|
意匠
|
商標
特許ウォッチ
Twitter
他の特許を見る
公開番号
2025156939
公報種別
公開特許公報(A)
公開日
2025-10-15
出願番号
2024059716
出願日
2024-04-02
発明の名称
作業車及び座席
出願人
株式会社クボタ
代理人
弁理士法人R&C
主分類
B60N
2/38 20060101AFI20251007BHJP(車両一般)
要約
【課題】下方に回動する座体の速度を緩めることが可能な作業車及び座席を提供する。
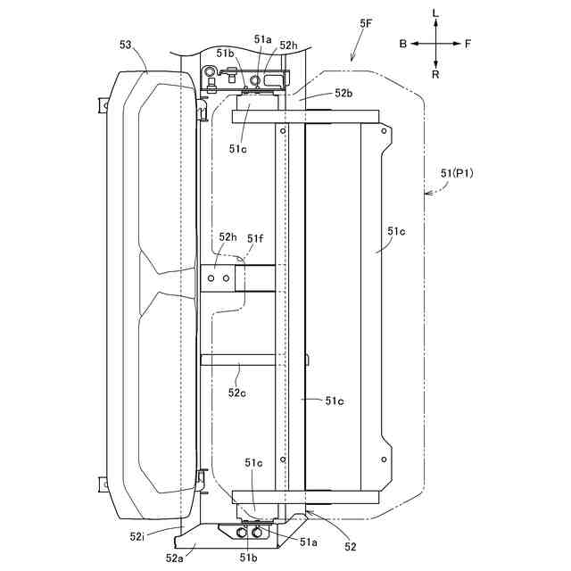
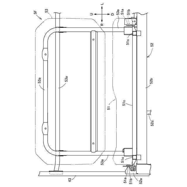
【解決手段】着座者が着座する座席5Fを備え、座席5Fは、座体51と、座体51を支持する脚部52と、を備え、座席5Fは、座体51の前部が上下方向に回動することで、座体51が前後方向に延びる使用姿勢P1と、座体51が上下方向に延びる収納姿勢P2と、に切り換え可能であり、座体51または脚部52のうち一方は、座席5Fの幅方向に突出する被案内部材51a、51bを有し、座体51または脚部52のうち他方は、少なくとも被案内部材51a、51bの一部が接触した状態で被案内部材51a、51bを案内する案内部材52d、52eを有する作業車。
【選択図】図3
特許請求の範囲
【請求項1】
着座者が着座する座席を備え、
前記座席は、座体と、
前記座体を支持する脚部と、を備え、
前記座席は、前記座体の前部が上下方向に回動することで、前記座体が前後方向に延びる使用姿勢と、前記座体が上下方向に延びる収納姿勢と、に切り換え可能であり、
前記座体または前記脚部のうち一方は、前記座席の幅方向に突出する被案内部材を有し、
前記座体または前記脚部のうち他方は、少なくとも前記被案内部材の一部が接触した状態で前記被案内部材を案内する案内部材を有する作業車。
続きを表示(約 1,100 文字)
【請求項2】
前記被案内部材は、前記座体が有するピン状の部材であり、
前記案内部材は、前記脚部が有し前記被案内部材が挿入される溝状の部材である請求項1に記載の作業車。
【請求項3】
前記座席は、前記収納姿勢から前記座体の前部が下方に回動することで、前記使用姿勢に切り換え可能であり、
前記収納姿勢における前記被案内部材の位置は、前記使用姿勢における前記被案内部材の位置よりも下側である請求項2に記載の作業車。
【請求項4】
前記案内部材は、前下がり傾斜状に延びている請求項3に記載の作業車。
【請求項5】
前記案内部材は、前記収納姿勢における前記被案内部材の位置に形成され、前記案内部材から下方に膨出する係合部位を有する請求項4に記載の作業車。
【請求項6】
前記脚部は、前記座体の下方に位置し上下方向に延びる複数の第1部材と、前記座席の幅方向に延び複数の前記第1部材を連結する第2部材と、を有し、
前記第2部材は、前記使用姿勢において前記座体の下部が当接し、前記収納姿勢において前記第2部材の後端部が前記座体の前端部よりも前側に位置している請求項4に記載の作業車。
【請求項7】
前記座席は、背部を更に備え、
前記座体は、前記使用姿勢において前記背部側の端部である第1端部と、前記第1端部とは反対側の端部である第2端部と、を更に備え、
前記座体は、前記被案内部材として、第1被案内部材と、前記第1被案内部材よりも前記第2端部に対する距離が大きい第2被案内部材と、を有し、
前記脚部は、前記案内部材として、前上がり傾斜状に延び前記第1被案内部材を案内する第1案内部材と、前下がり傾斜状に延び前記第2被案内部材を案内する第2案内部材と、を有する請求項4に記載の作業車。
【請求項8】
側面視で前記第1案内部材の下端部から前記第2案内部材の後端部までの距離と、
側面視で前記第1案内部材の下端部から前記第2案内部材の前端部までの距離と、はほぼ等しい請求項7に記載の作業車。
【請求項9】
着座者が着座する座体と、前記座体を支持する脚部と、を備え、
前記座体の前部が上下方向に回動することで、前記座体が前後方向に延びる使用姿勢と、前記座体が上下方向に延びる収納姿勢と、に切り換え可能な座席であって、
前記座体または前記脚部のうち一方は、当該座席の幅方向に突出する被案内部材を有し、
前記座体または前記脚部のうち他方は、少なくとも前記被案内部材の一部が接触した状態で前記被案内部材を案内する案内部材を有する座席。
発明の詳細な説明
【技術分野】
【0001】
本発明は、作業車及び座席に関する。
続きを表示(約 1,100 文字)
【背景技術】
【0002】
特許文献1には、座席支持台上に設けられ上向きに開口した物品収容部と、物品収容部を開閉するように座体の後部側の横支軸を中心に跳ね上げ可能である運転座席を構成する座体と、を備える多目的車両が開示されている。
【先行技術文献】
【特許文献】
【0003】
特開2010-95106号公報
【発明の概要】
【発明が解決しようとする課題】
【0004】
特許文献1に記載の座体は、跳ね上げられた状態から下方に回動する際に、座体の自重によって座体が下方に回動する速度が速くなる。下方に回動する座体の速度が速い場合、物品収容部などに配置された荷物に接触した場合の衝撃が大きくなる。
【0005】
本発明の目的は、下方に回動する座体の速度を緩めることが可能な作業車及び座席を提供することにある。
【課題を解決するための手段】
【0006】
上記目的を達成するための作業車の特徴構成は、着座者が着座する座席を備え、前記座席は、座体と、前記座体を支持する脚部と、を備え、前記座席は、前記座体の前部が上下方向に回動することで、前記座体が前後方向に延びる使用姿勢と、前記座体が上下方向に延びる収納姿勢と、に切り換え可能であり、前記座体または前記脚部のうち一方は、前記座席の幅方向に突出する被案内部材を有し、前記座体または前記脚部のうち他方は、少なくとも前記被案内部材の一部が接触した状態で前記被案内部材を案内する案内部材を有する点にある。
【0007】
上記の特徴構成によれば、座体の前部が下方に回動する際に、被案内部材の一部が案内部材に接触した状態で被案内部材が案内される。これにより、下方に回動する座体の速度が緩まる。
【0008】
本発明に係る作業車の別の特徴構成は、前記被案内部材は、前記座体が有するピン状の部材であり、前記案内部材は、前記脚部が有し、前記被案内部材が挿入される溝状の部材である点にある。
【0009】
上記の特徴構成によれば、座席が上下方向に回動する際に、被案内部材が案内部材に挿入された状態で案内部材に沿って案内される。これにより、下方に回動する座体の速度が緩まる。
【0010】
本発明に係る作業車の別の特徴構成は、前記座席は、前記収納姿勢から前記座体の前部が下方に回動することで、前記使用姿勢に切り換え可能であり、前記収納姿勢における前記被案内部材の位置は、前記使用姿勢における前記被案内部材の位置よりも下側である点にある。
(【0011】以降は省略されています)
この特許をJ-PlatPat(特許庁公式サイト)で参照する
関連特許
株式会社クボタ
田植機
1か月前
株式会社クボタ
作業車
1か月前
株式会社クボタ
田植機
1か月前
株式会社クボタ
作業車
9日前
株式会社クボタ
作業車
9日前
株式会社クボタ
田植機
1か月前
株式会社クボタ
作業車
16日前
株式会社クボタ
作業車
8日前
株式会社クボタ
作業車
8日前
株式会社クボタ
作業車
8日前
株式会社クボタ
作業車
16日前
株式会社クボタ
作業機
1か月前
株式会社クボタ
作業車
1日前
株式会社クボタ
移植機
1日前
株式会社クボタ
作業車
1か月前
株式会社クボタ
作業車
1日前
株式会社クボタ
作業車
今日
株式会社クボタ
作業機
28日前
株式会社クボタ
作業車
今日
株式会社クボタ
作業車
1か月前
株式会社クボタ
作業車
18日前
株式会社クボタ
移植機
1日前
株式会社クボタ
作業車両
18日前
株式会社クボタ
作業車両
8日前
株式会社クボタ
作業車両
8日前
株式会社クボタ
作業車両
18日前
株式会社クボタ
作業車両
18日前
株式会社クボタ
作業車両
18日前
株式会社クボタ
作業車両
18日前
株式会社クボタ
作業車両
18日前
株式会社クボタ
作業車両
18日前
株式会社クボタ
作業車両
18日前
株式会社クボタ
作業車両
18日前
株式会社クボタ
多目的車両
9日前
株式会社クボタ
圃場作業車
1か月前
株式会社クボタ
圃場作業車
1か月前
続きを見る
他の特許を見る