TOP
|
特許
|
意匠
|
商標
特許ウォッチ
Twitter
他の特許を見る
10個以上の画像は省略されています。
公開番号
2025149336
公報種別
公開特許公報(A)
公開日
2025-10-08
出願番号
2024049919
出願日
2024-03-26
発明の名称
コンバイン
出願人
株式会社クボタ
代理人
安田岡本弁理士法人
主分類
A01D
57/00 20060101AFI20251001BHJP(農業;林業;畜産;狩猟;捕獲;漁業)
要約
【課題】刈取作業時において植立穀稈に対するデバイダの位置を容易に確認することができるコンバインを提供すること。
【解決手段】コンバインは、走行機体と、前記走行機体の前部に設けられて植立穀稈を刈り取る刈取部と、を備え、前記刈取部は、植立穀稈の株元側部分を分草するデバイダと、前記デバイダで分草される植立穀稈を案内する分草ガイドとを有し、前記分草ガイドは、当該分草ガイドの一端部側に設けられて前記デバイダに取り付けられる取付部と、前記取付部から前記デバイダの側方を通って前記デバイダよりも上方まで延びる案内部とを有している。
【選択図】図6
特許請求の範囲
【請求項1】
走行機体と、
前記走行機体の前部に設けられて植立穀稈を刈り取る刈取部と、
を備え、
前記刈取部は、植立穀稈の株元側部分を分草するデバイダと、前記デバイダで分草される植立穀稈を案内する分草ガイドとを有し、
前記分草ガイドは、当該分草ガイドの一端部側に設けられて前記デバイダに取り付けられる取付部と、前記取付部から前記デバイダの側方を通って前記デバイダよりも上方まで延びる案内部とを有しているコンバイン。
続きを表示(約 1,300 文字)
【請求項2】
前記取付部は、前記デバイダの前部に取り付けられており、
前記案内部は、前記デバイダの前部から前記デバイダの側方を通って前記デバイダよりも上方まで延びている請求項1に記載のコンバイン。
【請求項3】
前記取付部は、前記デバイダの前端部に取り付けられており、
前記案内部は、前記デバイダの前端部から前記デバイダの側方を通って前記デバイダよりも上方まで延びている請求項1に記載のコンバイン。
【請求項4】
前記取付部は、前記デバイダの側方から前記デバイダの前部に取り付けられている請求項1に記載のコンバイン。
【請求項5】
前記デバイダの前部には、貫通孔が形成されており、
前記取付部は、V字状に形成されて前記貫通孔に係止されている請求項1又は4に記載のコンバイン。
【請求項6】
前記分草ガイドの一端部は、前記デバイダの上面よりも下方に位置している請求項1に記載のコンバイン。
【請求項7】
前記デバイダにより分草された植立穀稈を引き起こす引起し爪を含む引起し装置を備え、
前記引起し装置は、左右方向に並んで複数設けられており、
左右方向に隣り合う一の引起し装置と他の引起し装置との間には、引き起こされた植立穀稈が通過する搬送経路が形成されており、
前記一の引起し装置に向けて植立穀稈を分草する前記分草ガイドの他端部は、正面視において、前記搬送経路と重なる位置であって且つ前記他の引起し装置の引起し爪の先端の移動軌跡と重ならない位置に配置されている請求項1に記載のコンバイン。
【請求項8】
前記デバイダにより分草された植立穀稈を引き起こす引起し爪を含む引起し装置を備え、
前記引起し装置は、側面視で後ろ上がりとなる前面を備え、
前記分草ガイドの他端部は、前後方向において、前記デバイダの後端部よりも後方の位置であって且つ前記デバイダの後端部よりも前記前面から離れた位置に配置されている請求項1に記載のコンバイン。
【請求項9】
前記デバイダにより分草された植立穀稈を引き起こす引起し爪を含む引起し装置を備え、
前記引起し装置は、左右方向に並んで複数設けられており、
左右方向に隣り合う一の引起し装置と他の引起し装置との間には、引き起こされた植立穀稈が通過する搬送経路が形成されており、
前記一の引起し装置に向けて植立穀稈を分草する前記分草ガイドの前記案内部は、正面視において、前記取付部から上方且つ前記搬送経路側に向かう斜め上方に延びている請求項1に記載のコンバイン。
【請求項10】
前記案内部は、前記分草ガイドの一端部側に位置する第1部位と、前記分草ガイドの他端部側に位置する第2部位と、前記第1部位と前記第2部位との間に設けられた屈曲部と、を有し、
正面視において、前記第2部位の上下方向に対する傾斜角度は、前記第1部位の上下方向に対する傾斜角度よりも小さい請求項1に記載のコンバイン。
(【請求項11】以降は省略されています)
発明の詳細な説明
【技術分野】
【0001】
本発明は、植立穀稈を刈り取るコンバインに関する。
続きを表示(約 1,800 文字)
【背景技術】
【0002】
従来、下記特許文献1に開示されたコンバインが知られている。特許文献1に開示されたコンバインは、圃場に植立する穀稈(植立穀稈)を刈り取る刈取部と、植立穀稈を左右に分草するデバイダ(分草体)とを備えている。刈取部には、デバイダにより分草された植立穀稈を案内する分草ガイドが設けられている。
【先行技術文献】
【特許文献】
【0003】
特開2019-141017号公報
【発明の概要】
【発明が解決しようとする課題】
【0004】
上記したようなコンバインによる刈取作業は、デバイダの前端部を条植えされた植立穀稈の側方近傍に位置合わせして、当該前端部が植立穀稈の側方近傍を通るように走行機体を走行させることにより行われる。そのため、刈取作業時においては、オペレータが運転席から植立穀稈に対するデバイダの位置を確認する必要がある。
【0005】
しかしながら、上記したような従来のコンバインにより刈取作業を行う場合、デバイダの上方に植立穀稈が倒伏する(もたれかかる)ことによって、植立穀稈に対するデバイダの位置を確認しにくくなることがあった。
【0006】
本発明は、上記問題に鑑みてなされたものであって、刈取作業時において、植立穀稈に対するデバイダの位置を容易に確認することができるコンバインを提供することを目的とする。
【課題を解決するための手段】
【0007】
本発明の一実施形態に係るコンバインは、走行機体と、前記走行機体の前部に設けられて植立穀稈を刈り取る刈取部と、を備え、前記刈取部は、植立穀稈の株元側部分を分草するデバイダと、前記デバイダで分草される植立穀稈を案内する分草ガイドとを有し、前記分草ガイドは、当該分草ガイドの一端部側に設けられて前記デバイダに取り付けられる取付部と、前記取付部から前記デバイダの側方を通って前記デバイダよりも上方まで延びる案内部とを有している。
【発明の効果】
【0008】
本発明に係るコンバインによれば、分草ガイドによってデバイダ上方に植立穀稈が倒伏することを防止できるため、刈取作業時において植立穀稈に対するデバイダの位置を容易に確認することができる。
【図面の簡単な説明】
【0009】
コンバインの側面図である。
コンバインの平面図である。
コンバインの正面図である。
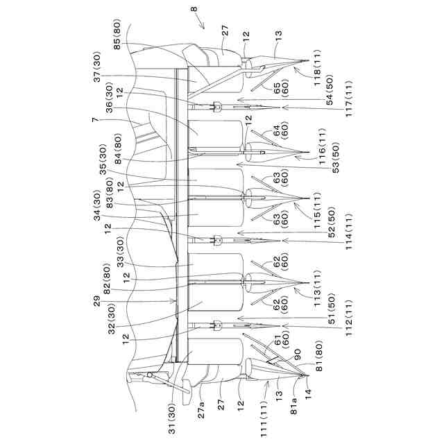
刈取部の平面図である。
刈取部の正面図である。
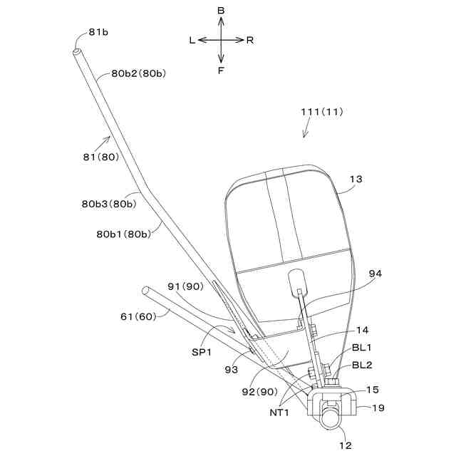
第1デバイダ、第1分草ガイド、第1分草杆等の正面図である。
第1デバイダ、第1分草ガイド、第1分草杆等の背面図である。
第1デバイダ、第1分草ガイド、第1分草杆等の平面図(上面図)である。
第1デバイダ、第1分草ガイド、第1分草杆等の底面図(下面図)である。
第1デバイダ、第1分草ガイド、第1分草杆等を左方から見た側面図である。
第1デバイダ、第1分草ガイド、第1分草杆等を右方から見た側面図である。
第1デバイダ、第1分草ガイド、第1分草杆等の分解斜視図である。
刈取部の右部の正面図である。
刈取部の構造を示す側面図である。
刈取部を右方から見た側面図である。
刈取部の右部の平面図である。
第1分草ガイドの機能(作用)を説明する正面図である。
第1分草ガイドの機能(作用)を説明する側面図である。
第1分草ガイドの機能(作用)を説明する平面図である。
第1調整機構の作用(動作)を示す側面図である。
第2調整機構の作用(動作)を示す平面図である。
【発明を実施するための形態】
【0010】
以下、本発明に係るコンバインの好適な実施形態について説明する。本実施形態のコンバイン1は、自脱型コンバインである。図1~図3は、コンバイン1の全体構成を示す図である。本実施形態において、作業状態(刈り取り時)におけるコンバイン1の進行方向を前方と定義する。図において、矢印Fで示す方向が前方、矢印Bで示す方向が後方である。また、矢印Lで示す方向が左方、矢印Rで示す方向が右方である。
(【0011】以降は省略されています)
この特許をJ-PlatPat(特許庁公式サイト)で参照する
関連特許
株式会社クボタ
作業車
11日前
株式会社クボタ
田植機
1か月前
株式会社クボタ
作業車
2日前
株式会社クボタ
作業車
2日前
株式会社クボタ
作業車
9日前
株式会社クボタ
作業車
1か月前
株式会社クボタ
作業機
1か月前
株式会社クボタ
作業車
1か月前
株式会社クボタ
作業機
21日前
株式会社クボタ
田植機
1か月前
株式会社クボタ
作業車
1か月前
株式会社クボタ
作業車
1日前
株式会社クボタ
作業車
1日前
株式会社クボタ
作業車
9日前
株式会社クボタ
作業車
1日前
株式会社クボタ
作業車
1か月前
株式会社クボタ
田植機
1か月前
株式会社クボタ
作業車両
1日前
株式会社クボタ
作業車両
11日前
株式会社クボタ
作業車両
11日前
株式会社クボタケミックス
伸縮継手
1か月前
株式会社クボタ
作業車両
11日前
株式会社クボタ
作業車両
11日前
株式会社クボタ
作業車両
11日前
株式会社クボタ
作業車両
11日前
株式会社クボタ
作業車両
11日前
株式会社クボタ
作業車両
11日前
株式会社クボタ
作業車両
11日前
株式会社クボタ
作業車両
1日前
株式会社クボタ
トラクタ
1か月前
株式会社クボタ
多目的車両
2日前
株式会社クボタ
多目的車両
2日前
株式会社クボタ
圃場作業車
1か月前
株式会社クボタ
コンバイン
2日前
株式会社クボタ
多目的車両
2日前
株式会社クボタ
圃場作業車
1か月前
続きを見る
他の特許を見る