TOP
|
特許
|
意匠
|
商標
特許ウォッチ
Twitter
他の特許を見る
公開番号
2025167586
公報種別
公開特許公報(A)
公開日
2025-11-07
出願番号
2024072365
出願日
2024-04-26
発明の名称
ポップアップフード装置、アクチュエータ、およびベース部材
出願人
豊田合成株式会社
代理人
弁理士法人明成国際特許事務所
主分類
B60R
21/38 20110101AFI20251030BHJP(車両一般)
要約
【課題】取り付けが簡易で、コストを低減できるポップアップフード装置を提供する。
【解決手段】移動体に搭載されるポップアップフード装置は、移動体のフードパネルを持ち上げるアクチュエータと、移動体に設けられ、アクチュエータが取り付けられるベース部材と、を備え、ベース部材は、アクチュエータのフードパネルと接する側と反対側の端部を収容する収容部を有する。
【選択図】図1
特許請求の範囲
【請求項1】
移動体に搭載されるポップアップフード装置であって、
前記移動体のフードパネルを持ち上げるアクチュエータと、
前記移動体に設けられ、前記アクチュエータが取り付けられるベース部材と、を備え、
前記ベース部材は、前記アクチュエータの前記フードパネルと接する側と反対側の端部を収容する収容部を有する、
ポップアップフード装置。
続きを表示(約 1,100 文字)
【請求項2】
請求項1に記載のポップアップフード装置であって、
前記ベース部材は、前記アクチュエータが作動することにより前記フードパネルを持ち上げる方向である第1方向と交差する方向である第2方向に突出する突出部を有し、
前記収容部は、前記突出部に設けられている、
ポップアップフード装置。
【請求項3】
請求項2に記載のポップアップフード装置であって、
前記アクチュエータを前記ベース部材に対して固定する固定ピンを更に備え、
前記アクチュエータの前記端部には第1貫通孔が設けられ、
前記突出部には、前記収容部を貫くように第2貫通孔が設けられ、
前記固定ピンは、前記アクチュエータの前記端部が前記収容部に収容された状態で、前記第1貫通孔と前記第2貫通孔とを貫くように配置される、
ポップアップフード装置。
【請求項4】
請求項3に記載のポップアップフード装置であって、
前記ベース部材は、ラジエーターサポートである、ポップアップフード装置。
【請求項5】
移動体のフードパネルを持ち上げるアクチュエータであって、
前記フードパネルと接する側と反対側の端部には、第1貫通孔が設けられ、
前記移動体のベース部材が備える収容部に前記端部を含む前記アクチュエータの一部が収容可能に構成され、かつ前記収容部に設けられた第2貫通孔と前記第1貫通孔とを貫くように固定ピンが配置されることで前記ベース部材に取り付け可能に構成されている、
アクチュエータ。
【請求項6】
移動体に設けられ、前記移動体のフードパネルを持ち上げるアクチュエータが取り付けられるベース部材であって、
前記アクチュエータが作動することにより前記フードパネルを持ち上げる方向である第1方向と交差する方向である第2方向に突出する突出部と、
前記突出部に設けられ、前記アクチュエータの前記フードパネルと接する側と反対側の端部を収容する収容部と、を備える、
ベース部材。
【請求項7】
請求項6に記載のベース部材であって、
前記突出部には、前記収容部を貫くように第2貫通孔が設けられ、
前記アクチュエータの前記端部が前記収容部に収容された状態で、前記アクチュエータの前記端部に設けられた第1貫通孔と前記第2貫通孔とを貫くように固定ピンが配置されることで、前記アクチュエータが取り付け可能に構成されている、
ベース部材。
発明の詳細な説明
【技術分野】
【0001】
本開示は、ポップアップフード装置、アクチュエータ、およびベース部材に関する。
続きを表示(約 2,400 文字)
【背景技術】
【0002】
車両と歩行者との衝突が検知または予知された場合に、車両のフードパネルを持ち上げることにより歩行者への衝撃を抑制するポップアップフード装置が知られている。フードパネルを持ち上げるアクチュエータは、例えば特許文献1に開示されているように、ラジエーターサポートの側面に固定されている。固定は、ボルトおよびナットを用いて行われ得る。
【先行技術文献】
【特許文献】
【0003】
特開2020-111200号公報
【発明の概要】
【発明が解決しようとする課題】
【0004】
しかし、ボルトおよびナットによる固定は、取り付けに手間を要する。さらに部品点数増加によりコストが増大する。
【課題を解決するための手段】
【0005】
本開示は、以下の形態として実現することが可能である。
【0006】
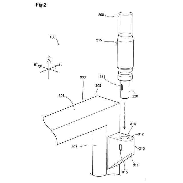
(1)本開示の一形態によれば、移動体に搭載されるポップアップフード装置が提供される。このポップアップフード装置は、前記移動体のフードパネルを持ち上げるアクチュエータと、前記移動体に設けられ、前記アクチュエータが取り付けられるベース部材と、を備え、前記ベース部材は、前記アクチュエータの前記フードパネルと接する側と反対側の端部を収容する収容部を有する。
この形態のポップアップフード装置によれば、ベース部材は、アクチュエータのフードパネルと接する側と反対側の端部を収容する収容部を有するので、アクチュエータとベース部材とをボルトおよびナットで固定する構成と比較して、アクチュエータをベース部材に簡易に取り付けできる。また、取り付けにボルトおよびナットを要しないので、製造コストを抑制できる。
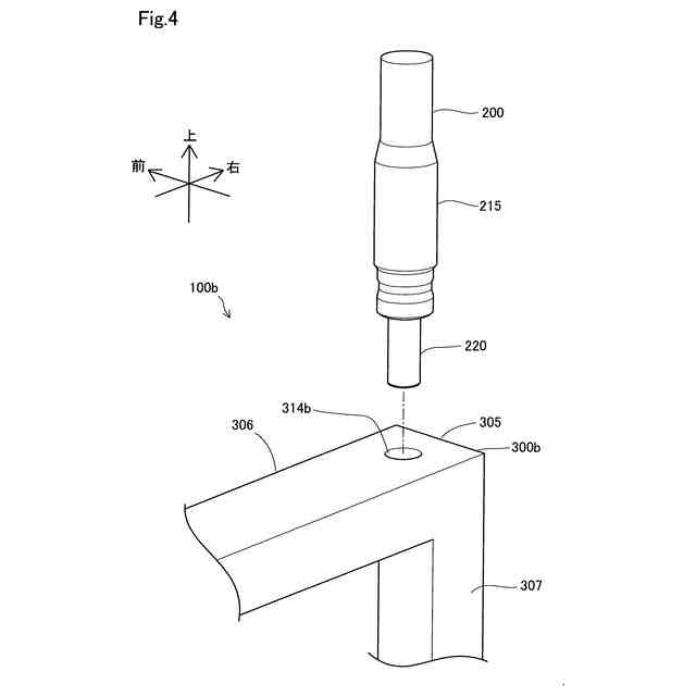
(2)上記形態のポップアップフード装置において、前記ベース部材は、前記アクチュエータが作動することにより前記フードパネルを持ち上げる方向である第1方向と交差する方向である第2方向に突出する突出部を有し、前記収容部は、前記突出部に設けられていてもよい。
この形態のポップアップフード装置によれば、ベース部材は、アクチュエータが作動することによりフードパネルを持ち上げる方向である第1方向と交差する方向である第2方向に突出する突出部を有するので、突出部が第1方向に突出する構成と比較して、ポップアップフード装置全体を第1方向にコンパクトに構成できる。
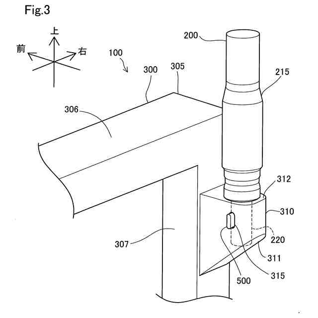
(3)上記形態のポップアップフード装置において、前記アクチュエータを前記ベース部材に対して固定する固定ピンを更に備え、前記アクチュエータの前記端部には第1貫通孔が設けられ、前記突出部には、前記収容部を貫くように第2貫通孔が設けられ、前記固定ピンは、前記アクチュエータの前記端部が前記収容部に収容された状態で、前記第1貫通孔と前記第2貫通孔とを貫くように配置されてもよい。
この形態のポップアップフード装置によれば、固定ピンを更に備え、アクチュエータの端部には第1貫通孔が設けられ、突出部には、収容部を貫くように第2貫通孔が設けられ、固定ピンは、アクチュエータの端部が収容部に収容された状態で、第1貫通孔と第2貫通孔とを貫くように配置されるので、固定ピンを備えない構成と比較して、より堅固にアクチュエータをベース部材に取り付けできる。
(4)上記形態のポップアップフード装置において、前記ベース部材は、ラジエーターサポートであってもよい。
この形態のポップアップフード装置によれば、ベース部材は、ラジエーターサポートなので、ラジエーターサポートを利用してアクチュエータを取り付けできる。
【0007】
本開示は、種々の形態で実現することも可能である。例えば、アクチュエータ、ベース部材、ポップアップフード装置を搭載した移動体などの形態で実現することができる。
【図面の簡単な説明】
【0008】
本開示の一実施形態としてのポップアップフード装置が搭載された車両を示す概略図である。
ポップアップフード装置の概略構成を示す図である。
アクチュエータとベース部材とが組み付けられた状態を示す説明図である。
第2実施形態のポップアップフード装置の概略構成を示す図である。
【発明を実施するための形態】
【0009】
A.第1実施形態:
A1.ポップアップフード装置100の全体構成:
図1は、本開示の一実施形態としてのポップアップフード装置100が搭載された車両400を示す概略図である。車両400は、例えば、エンジンを搭載した車両、ハイブリッド車両(HEV)、プラグインハイブリッド車両(PHEV)、電気自動車(BEV)、燃料電池車両(FCV)などである。ポップアップフード装置100は、車両400に搭載されたセンサにより歩行者との衝突が検知または予知された場合に、フードパネル410を持ち上げることで歩行者への衝撃を抑制する。図1は、ポップアップフード装置100が作動してフードパネル410が持ち上げられた状態を示す。なお、図2以降の図では、ポップアップフード装置100が作動していない状態を示す。ポップアップフード装置100は、車両400のエンジンルーム420内の前方に配置されている。
【0010】
本開示において、車両400の進行方向に沿った方向を「前後方向」と呼ぶ。また、車両400に乗った運転者から見て鉛直方向を「上下方向」と呼ぶ。また、車両400の左右方向(幅方向)に沿った方向を「左右方向」と呼ぶ。「前後方向」と「上下方向」と「左右方向」とは、互いに交差する方向である。なお、本開示において「上下方向」を「第1方向」、「前後方向」を「第2方向」、「左右方向」を「第3方向」とも呼ぶ。
(【0011】以降は省略されています)
この特許をJ-PlatPat(特許庁公式サイト)で参照する
関連特許
豊田合成株式会社
積層体
1か月前
豊田合成株式会社
調光装置
1か月前
豊田合成株式会社
調光装置
1か月前
豊田合成株式会社
調光装置
17日前
豊田合成株式会社
外装パネル
2日前
豊田合成株式会社
光デバイス
3日前
豊田合成株式会社
半導体素子
1か月前
豊田合成株式会社
乗員保護装置
2日前
豊田合成株式会社
流体殺菌装置
17日前
豊田合成株式会社
車両用外装品
1か月前
豊田合成株式会社
乗員保護装置
1か月前
豊田合成株式会社
検知システム
1か月前
豊田合成株式会社
車両用ビーム
1か月前
豊田合成株式会社
車両用ビーム
1か月前
豊田合成株式会社
乗員保護装置
2日前
豊田合成株式会社
車両用外装品
1か月前
豊田合成株式会社
乗員保護装置
2日前
豊田合成株式会社
制御ユニット
9日前
豊田合成株式会社
車両用発光装置
1か月前
豊田合成株式会社
エアバッグ装置
9日前
豊田合成株式会社
エアバッグ装置
2日前
豊田合成株式会社
車両用投影装置
1か月前
豊田合成株式会社
車両用照明装置
1か月前
豊田合成株式会社
エアバッグ装置
9日前
豊田合成株式会社
車両用発光装置
1か月前
豊田合成株式会社
車両用発光装置
1か月前
豊田合成株式会社
車両用投影装置
1か月前
豊田合成株式会社
エアバッグ装置
1か月前
豊田合成株式会社
車両の音出力装置
2日前
豊田合成株式会社
車両画像投影装置
1か月前
豊田合成株式会社
車両用ホルダ装置
11日前
豊田合成株式会社
車両用空調ダクト
1か月前
豊田合成株式会社
ステアリング装置
17日前
豊田合成株式会社
ステアリング装置
17日前
豊田合成株式会社
ステアリング装置
17日前
豊田合成株式会社
ステアリング装置
17日前
続きを見る
他の特許を見る